Каталог запасных частей к технике: HAMM GRW 15. FOOT BRAKE SINGLE-CIRCUIT
1
2
2
3
3
4
4
5
6
8
9
9
10
11
12
13
20
27
27
28
28
29
29
35
36
36
36
37
37
37
38
39
39
40
41
42
42
43
43
44
44
45
46
60
61
62
82
83
84
85
86
87
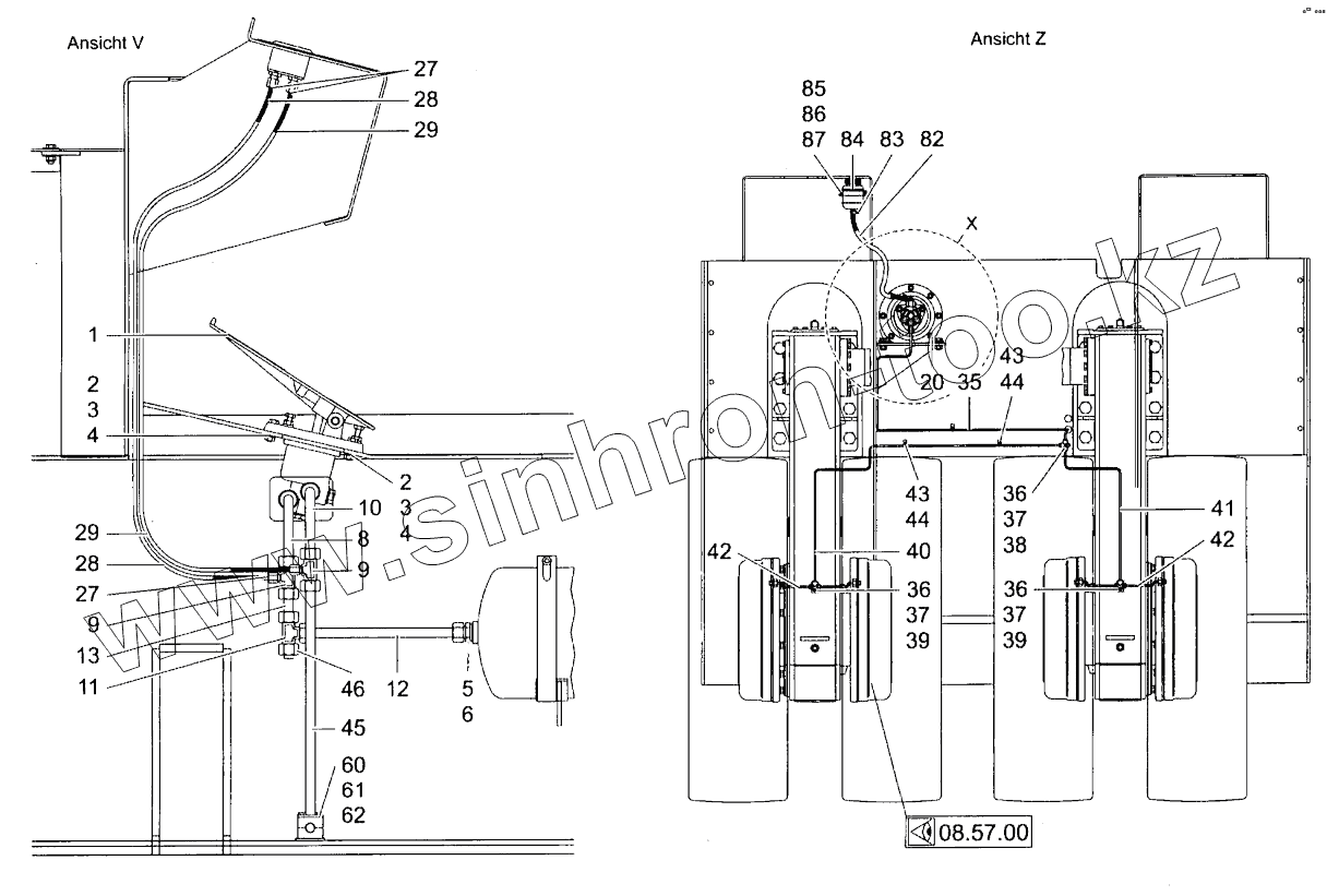
| Позиция на иллюстрации | Заводской номер детали | Название детали | |
|---|---|---|---|
| 1 | 211427 | BRAKE VALVE | |
| 2 | 213845 | HEXAGON SCREW | |
| 3 | 276332 | LOCKING WASHER | |
| 4 | 216070 | HEXAGONAL NUT | |
| 5 | 206415 | STRAIGHT SCREWED SOCKET | |
| 6 | 219487 | SEALING RING | |
| 8 | 414557 | PIPE | |
| 9 | 206245 | EQUAL TEE | |
| 10 | 414565 | PIPE | |
| 11 | 317241 | T-CONNECTOR | |
| 12 | 414573 | PIPE | |
| 13 | 2044245 | PIPE | |
| 20 | 211656 | BRAKE CYLINDER | |
| 27 | 278858 | SLEEVE | |
| 28 | 278874 | PLASTIC PIPE | |
| 29 | 278874 | PLASTIC PIPE | |
| 35 | 757020 | BRAKE LINE | |
| 36 | 207012 | DISTRIBUTOR | |
| 37 | 214469 | CHEESE-HEAD SCREW | |
| 38 | 276332 | LOCKING WASHER | |
| 39 | 216798 | SPRING RING | |
| 40 | 723886 | BRAKE LINE | |
| 41 | 742872 | BRAKE LINE | |
| 42 | 723851 | BRAKE LINE | |
| 43 | 211036 | MOUNTING CLIP | |
| 44 | 215473 | THREAD CUTTING SCREW | |
| 45 | 896810 | PIPE | |
| 46 | 366544 | FILLER CAP | |
| 60 | 314188 | HALF-CLIP | |
| 61 | 314013 | TOP COVER | |
| 62 | 314072 | HEXAGON SCREW | |
| 82 | 613026 | CONNECTION HOSE | |
| 83 | 225770 | HOSE CLAMP | |
| 84 | 365815 | COMPENSATOR TANK | |
| 85 | 213667 | HEXAGON SCREW | |
| 86 | 350389 | WASHER | |
| 87 | 216437 | HEXAGONAL NUT |
Содержащиеся в справочниках-каталогах запасные части и детали не предлагаются к продаже, а носят исключительно информационный характер