Каталог запасных частей к технике: Геомаш ПБУ-2. Вращатель ПБУ-1.11.03.000
ПБУ-1.11.03.000
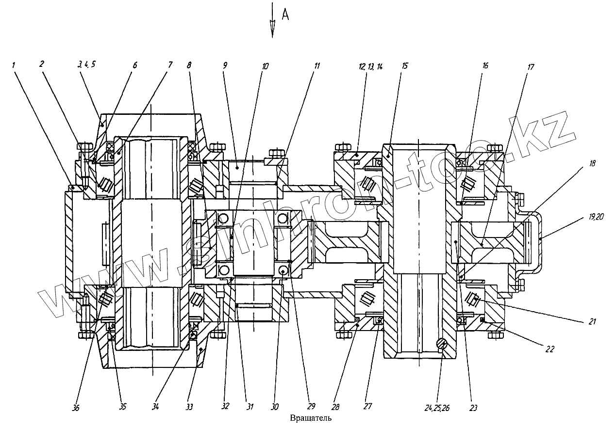
1
2
3
4
5
6
7
8
9
10
11
12
13
14
15
16
17
18
19
20
21
22
23
24
25
26
27
28
29
30
31
32
33
34
35
36
| Позиция на иллюстрации | Заводской номер детали | Название детали | |
|---|---|---|---|
| ПБУ-2.12.00.000 | ПБУ-2.12.00.000 | Цилиндр подачи | |
| ПБУ-1.11.03.000 | ПБУ-1.11.03.000 | Вращатель | |
| 1 | 1ВСМ.11.03Б.010 | Корпус | |
| 2 | 2007120 | Подшипник ГОСТ333-79 | |
| 3 | 1ВСМ.11.03Б.012 | Прокладка | |
| 4 | 1ВСМ.11.03Б.013 | Стакан | |
| 5 | 1ВСМ.11.03Б.041 | Прокладка | |
| 6 | [Кольцо 145-150-36-2-2 ГОСТ9833-73] | Кольцо 145-150-36-2-2 ГОСТ9833-73 | |
| 7 | 1ВСМ.11.03Б.008 | Вал-шестерня | |
| 8 | 1ВСМ.11.03Б.004 | Шестерня | |
| 9 | 1ВСМ.11.03Б.003 | Валик | |
| 10 | 1ВСМ.11.03Б.009 | Втулка | |
| 11 | [Кольцо 060-065-30-2-2 ГОСТ9833-73] | Кольцо 060-065-30-2-2 ГОСТ9833-73 | |
| 12 | 1ВСМ.11.03Б.027 | Фланец | |
| 13 | 1ВСМ.11.03Б.028 | Прокладка | |
| 14 | 1ВСМ.11.03Б.042 | Прокладка | |
| 15 | ПБУ-1.11.03.001 | Шпиндель | |
| 16 | 1ВСМ.11.03Б.032 | Кольцо защитное | |
| 17 | 1ВСМ.11.03Б.026 | Шестерня | |
| 18 | 1ВСМ.11.03Б.038 | Кольцо распорное | |
| 19 | 1ВСМ.11.03Б.001 | Крышка | |
| 20 | 1ВСМ.11.03Б.006 | Прокладка | |
| 21 | 7220 | Подшипник ГОСТ333-79 | |
| 22 | [Кольцо 170-180-58-2-2 ГОСТ9833-73] | Кольцо 170-180-58-2-2 ГОСТ9833-73 | |
| 23 | 1ВСМ.11.03Б.025 | Шпонка | |
| 24 | 1ВСМ.11.03Б.022 | Ось | |
| 25 | 1ВСМ.11.03Б.021 | Шайба | |
| 26 | [Шплинт 3,2х22.019 ГОСТ397-79] | Шплинт 3,2х22.019 ГОСТ397-79 | |
| 27 | [Манжета 1.1.100х125-3 ГОСТ8752-79] | Манжета 1.1.100х125-3 ГОСТ8752-79 | |
| 28 | 1ВСМ.11.03Б.029 | Фланец | |
| 29 | [Кольцо В100 ГОСТ13943-86] | Кольцо В100 ГОСТ13943-86 | |
| 30 | 211 | Подшипник ГОСТ8338-75 | |
| 31 | [Кольцо 042-050-46-2-2 ГОСТ9833-73] | Кольцо 042-050-46-2-2 ГОСТ9833-73 | |
| 32 | 1ВСМ.11.03Б.036 | Кольцо распорное | |
| 33 | 1ВСМ.11.03Б.007 | Стакан | |
| 34 | 1ВСМ.11.03Б.011 | Кольцо | |
| 35 | [Манжета 1.1.100х125-3 ГОСТ8752-79] | Манжета 1.1.100х125-3 ГОСТ8752-79 | |
| 36 | 1ВСМ.11.03Б.033 | Кольцо защитное |
Содержащиеся в справочниках-каталогах запасные части и детали не предлагаются к продаже, а носят исключительно информационный характер