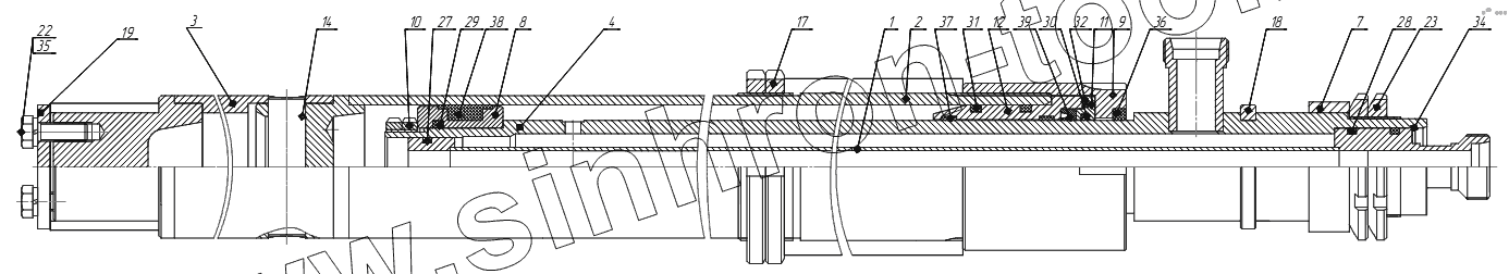
Каталог запасных частей к технике: Геомаш ПБУ-2-362. ПБУ-2М.12.00.000 Цилиндр подачи
ПБУ-2М.12.00.000
1
2
4
7
8
9
10
11
12
17
18
19
22
23
27
28
29
30
31
32
34
35
36
37
38
39
| Позиция на иллюстрации | Заводской номер детали | Название детали | |
|---|---|---|---|
| ПБУ-2М.12.00.000 | ПБУ-2М.12.00.000 | Цилиндр подачи | |
| 1 | ПБУ-2М.12.01.000 | Трубопровод | |
| 2 | ПБУ-2М.12.02.000 | Цилиндр в сборе | |
| 4 | ПБУ-2М.12.04.000 | Шток в сборе | |
| 7 | ПБУ-2М.12.00.001 | Кольцо | |
| 8 | ПБУ-2.12.00.002-101 | Поршень | |
| 9 | ПБУ-2.12.00.004-101 | Гайка накидная | |
| 10 | ПБУ-2.12.00.005-101 | Гайка специальная | |
| 11 | ПБУ-2.12.00.006-101 | Втулка прижимная | |
| 12 | ПБУ-2.15.00.005 | Втулка направляющая | |
| 15 | 1ВСМ.12А.00.002 | Кольцо регулировочное | |
| 16 | 1ВСМ.12А.00.002-01 | Кольцо регулировочное | |
| 17 | 1ВСМ.12А.00.007 | Гайка | |
| 18 | 1ВСМ.12А.00.017 | Полукольцо | |
| 19 | УГБ50А-08-01 | Шайба | |
| 22 | М12-6gх30.58.019 | Болт М12-6gх30.58.019 | |
| 23 | М64х2-6Н.06.019 | Гайка М64х2-6Н.06.019 | |
| 27 | 030-038-46-2-2 | Кольцо 030-038-46-2-2 | |
| 28 | 042-050-46-2-2 | Кольцо 042-050-46-2-2 | |
| 29 | 050-060-58-2-2 | Кольцо 050-060-58-2-2 | |
| 30 | 060-068-46-2-2 | Кольцо 060-068-46-2-2 | |
| 31 | 070-080-58-2-2 | Кольцо 070-080-58-2-2 ГОСТ9833-73 | |
| 32 | 082-090-46-2-2 | Кольцо 082-090-46-2-2 | |
| 33 | В52 | Кольцо В52 | |
| 34 | Н.48.01.08кп.019 | Шайба Н.48.01.08кп.019 | |
| 35 | 12.65Г.019 | Шайба 12.65Г.019 | |
| 36 | SWP 6075 | Грязесъёмник SWP 6075 | |
| 37 | I/GT60х65-9,7/102 | Кольцо I/GT 60х65-9,7/102 | |
| 38 | DBM 314236/М | Манжета DBM 314236/М | |
| 39 | RU0200600-Z22 | Манжета RU0200600-Z22 |
Содержащиеся в справочниках-каталогах запасные части и детали не предлагаются к продаже, а носят исключительно информационный характер