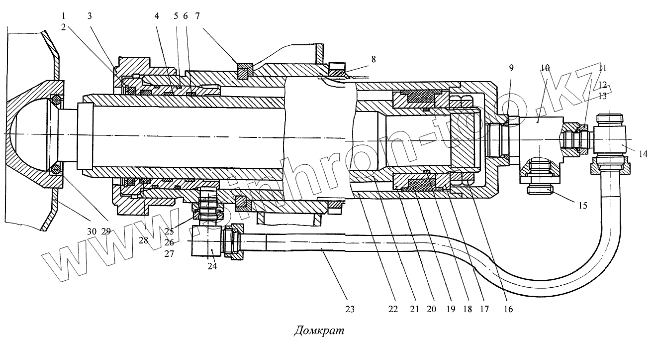
Каталог запасных частей к технике: Геомаш ЛБУ-50. Домкрат
ЛБУ50.21.00.000
1
2
3
4
5
6
7
8
9
10
11
12
13
14
15
16
17
18
19
20
21
22
23
24
25
26
27
28
| Позиция на иллюстрации | Заводской номер детали | Название детали | |
|---|---|---|---|
| ЛБУ50.21.00.000 | ЛБУ50.21.00.000 | Домкрат | |
| 1 | УБВ227.15.01.005 | Штуцер | |
| 2 | УБВ227.15.01.004 | Тройник | |
| 3 | УБВ227.15.01.008 | Гайка установочная | |
| 4 | УБВ227.15.01.009 | Шайба защитная | |
| 5 | [Кольцо 015-019-25-2-2 ГОСТ9833-73] | Кольцо 015-019-25-2-2 ГОСТ9833-73 | |
| 6 | 541.08.00 | Гидрозамок | |
| 7 | [Кольцо 030-035-30-2-2 ГОСТ9833-73] | Кольцо 030-035-30-2-2 ГОСТ9833-73 | |
| 8 | Ш4.20.01.006 | Гайка | |
| 9 | Ш4.20.08.003 | Кольцо | |
| 10 | Ш4.20.08.002 | Кольцо упорное | |
| 11 | 1/GТ 80х85-9,7/102 | Кольцо | |
| 12 | [Кольцо 094-100-36-2-2 ГОСТ9833-73] | Кольцо 094-100-36-2-2 ГОСТ9833-73 | |
| 13 | ГЕУ001.09.00.001 | Втулка цилиндра | |
| 14 | Ш4.20.08.001 | Гайка цилиндра | |
| 15 | SWР8095 | Грязесъемник | |
| 16 | [Кольцо В95 ГОСТ13941-86] | Кольцо В95 ГОСТ13941-86 | |
| 17 | ЛБУ-21-2 | Башмак | |
| 18 | ЛБУ-21-02 | Кольцо | |
| 19 | ЕU8090 | Манжета | |
| 20 | Ш4.20.08.004 | Угольник | |
| 21 | Ш4.20.08.030 | Трубопровод в сборе | |
| 22 | ЛБУ50.21.01.000 | Корпус в сборе | |
| 23 | Ш4.20.08.020 | Шток в сборе | |
| 24 | ГЕУ001.09.00.003 | Втулка поршня | |
| 25 | DВМ393295 | Манжета | |
| 26 | [Кольцо 059-065-36-2-2 ГОСТ9833-73] | Кольцо 059-065-36-2-2 ГОСТ9833-73 | |
| 27 | ГЕУ001.09.00.002 | Кольцо поршня | |
| 28 | ГЕУ001.01.00.001 | Гайка М64х2 |
Содержащиеся в справочниках-каталогах запасные части и детали не предлагаются к продаже, а носят исключительно информационный характер