Каталог запасных частей к технике: Геомаш ББУ-000 "Опенок". Электрооборудование (с электродвигателем)
ББУ.07.000-01
1
2
3
4
4
5
6
7
8
9
10
11
12
13
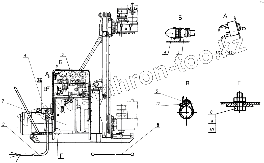
| Позиция на иллюстрации | Заводской номер детали | Название детали | |
|---|---|---|---|
| ББУ.07.000-01 | ББУ.07.000-01 | Электрооборудование | |
| 1 | ББУ.07.110 | Кабель | |
| 2 | ББУ.07.020 | Жгут проводов | |
| 3 | ББУ.07.010-01 | Кабель | |
| 4 | ББУ.07.020-01 | Кабель | |
| 5 | ББУ.07.030-01 | Кабель | |
| 6 | ББУ.07.080-01 | Проводник заземления | |
| 7 | ББУ.07.100-01 | Блок коммутации | |
| 8 | Болт М10-8gх25.46.019 | Болт М10-8gх25.46.019 | |
| 9 | Гайка М10-6Н.6.019 | Гайка М10-6Н.6.019 | |
| 10 | Шайба 10.65Г.019 | Шайба 10.65Г.019 ГОСТ6402-70 | |
| 11 | Переключатель ТВ 1-2 | Переключатель ТВ 1-2 | |
| 12 | Код 25211С | Хомут кабельный из полиамида Код 25211С | |
| 13 | 305 ТВ-40 | Трубка 305 ТВ-40, 6, белая, высшего сорта |
Содержащиеся в справочниках-каталогах запасные части и детали не предлагаются к продаже, а носят исключительно информационный характер