Каталог запасных частей к технике: Геомаш ББУ-000 "Опенок". Электрооборудование (с бензодвигателем)
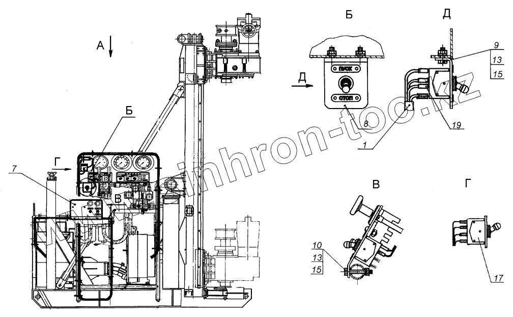
ББУ.07.000
1
7
8
9
10
13
13
15
15
17
19
| Позиция на иллюстрации | Заводской номер детали | Название детали | |
|---|---|---|---|
| ББУ.07.000 | ББУ.07.000 | Электрооборудование | |
| 1 | ББУ.07.010 | Кабель | |
| 2 | ББУ.07.020 | Жгут проводов | |
| 3 | ББУ.07.030 | Кабель | |
| 4 | ББУ.07.040 | Жгут проводов | |
| 5 | ББУ.07.050 | Провод | |
| 6 | ББУ.07.060 | Провод | |
| 7 | ББУ.07.100 | Панель управления | |
| 8 | ББУ.07.200 | Панель управления | |
| 9 | Болт М6-6gх14.46.019 | Болт М6-6gх14.46.019 | |
| 10 | Болт М6-6gх40.46.019 | Болт М6-6gх40.46.019 | |
| 11 | Винт В1М5-8gх20.46.019 | Винт В1М5-8gх20.46.019 | |
| 12 | Гайка М5-6Н.6.019 | Гайка М5-6Н.6.019 | |
| 13 | Гайка М6-6Н.6.019 | Гайка М6-6Н.6.019 | |
| 14 | Шайба 5.65Г.019 | Шайба 5.65Г.019 | |
| 15 | Шайба 6.65Г.019 | Шайба 6.65Г.019 | |
| 16 | Шайба 5.01.019 | Шайба 5.01.019 | |
| 17 | УСО.360.049 ТУ | Переключатель ТВ1-2 | |
| 18 | Код 25211С | Хомут кабельный из полиамида Код 25211С | |
| 19 | 305 ТВ-40 | Трубка 305 ТВ-40, 6, белая, высшего сорта |
Содержащиеся в справочниках-каталогах запасные части и детали не предлагаются к продаже, а носят исключительно информационный характер