Каталог запасных частей к технике: Геомаш ББУ-000 "Опенок". Блок коммутации
ББУ.07.100-01
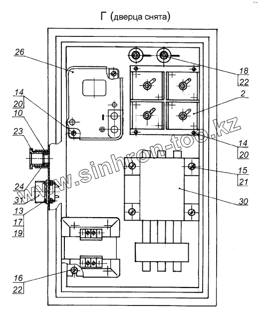
2
10
13
14
14
15
16
17
18
19
20
20
21
22
22
23
24
26
30
31
| Позиция на иллюстрации | Заводской номер детали | Название детали | |
|---|---|---|---|
| ББУ.07.100-01 | ББУ.07.100-01 | Блок коммутации | |
| 1 | ББУ.07.110-01 | Шкаф | |
| 2 | ББУ.07.120-01 | Панель диодов | |
| 3 | ББУ.07.101-01 | Табличка | |
| 4 | ББУ.07.101-02 | Табличка | |
| 5 | ББУ.07.101-03 | Табличка | |
| 6 | ББУ.07.101-04 | Табличка | |
| 7 | ББУ.07.101-05 | Табличка | |
| 8 | ББУ.07.103-01 | Уплотнение | |
| 9 | ББУ.07.104-01 | Уплотнение | |
| 10 | ББУ.07.105-01 | Уплотнение | |
| 11 | ББУ.07.106-01 | Шайба | |
| 12 | ББУ.07.107-01 | Прокладка | |
| 13 | Винт М3-6gх10.46.019 | Винт М3-6gх10.46.019 | |
| 14 | Винт М4-6gх16.46.019 | Винт М4-6gх16.46.019 | |
| 15 | Винт М5-6gх16.46.019 | Винт М5-6gх16.46.019 | |
| 16 | Винт М6-6gх10.46.019 | Винт М6-6gх10.46.019 | |
| 17 | Гайка М3-6Н.6.019 | Гайка М3-6Н.6.019 | |
| 18 | Гайка М6-6Н.6.019 | Гайка М6-6Н.6.019 | |
| 19 | Шайба 3.65Г.019 | Шайба 3.65Г.019 | |
| 20 | Шайба 4.65Г.019 | Шайба 4.65Г.019 | |
| 21 | Шайба 5.65Г.019 | Шайба 5.65Г.019 | |
| 22 | Шайба 6.65Г.019 | Шайба 6.65Г.019 | |
| 23 | Гайка 1-27.00 | Гайка 1-27.00 | |
| 24 | Шайба 18-24.00 | Шайба 18-24.00 | |
| 25 | АС12014У2 | Арматура АС12014У2, 380В, резистор С5-358-3 2400+2400 Ом±10% | |
| 26 | АП50Б-2М3ТД | Выключатель АП50Б-2М3ТД,IР20,40х10 | |
| 27 | КЕ 081У2 | Выключатель КЕ 081У2 | |
| 28 | КЕ 081У2 | Выключатель КЕ 081У2 | |
| 29 | УСО.360.049 ТУ | Переключатель ТВ1-2 | |
| 30 | ПМА-4200ПУХЛ4А | Пускатель ПМА-4200ПУХЛ4А, 380В, (2з + 3р), 32Д | |
| 31 | Розетка ШР36П5НГ11 | Розетка ШР36П5НГ11 | |
| 32 | ОСМ-0.16-380/14-УХЛ-3 | Трансформатор ОСМ-0.16-380/14-УХЛ-3 |
Содержащиеся в справочниках-каталогах запасные части и детали не предлагаются к продаже, а носят исключительно информационный характер