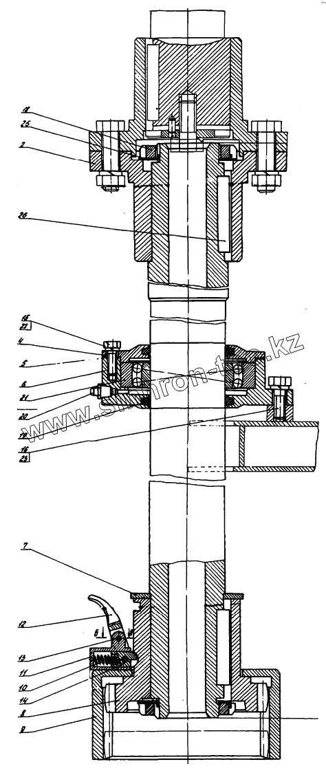
Каталог запасных частей к технике: Геомаш АЗА-3. Вал вертикальный
АЗАБ.06.00.000А
1
2
4
5
6
7
8
9
10
11
12
13
14
15
16
18
19
20
21
22
23
25
26
| Позиция на иллюстрации | Заводской номер детали | Название детали | |
|---|---|---|---|
| АЗАБ.06.00.000А | АЗАБ.06.00.000А | Вал вертикальный | |
| 1 | АЗАБ.06.00.001 | Вал | |
| 2 | Ш1.06.002Б | Полумуфта | |
| 4 | ЛБУ-13-05 | Фланец | |
| 5 | ЛБУ-13-06 | Прокладка | |
| 6 | ЛБУ-13-07 | Корпус подшипника | |
| 7 | ЛБУ-13-08 | Кольцо | |
| 8 | ЛБУ-13-09 | Полумуфта | |
| 9 | ЛБУ-13-10 | Муфта зубчатая | |
| 10 | ЛБУ-13-15 | Пружина | |
| 11 | ЛБУ-13-19 | Корпус фиксатора | |
| 12 | ЛБУ-13-20 | Скоба | |
| 13 | ЛБУ-13-21 | Валик | |
| 14 | ЛБУ-13-22 | Фиксатор | |
| 15 | Болт М8-6gx25.019 | Болт М8-6gx25.019 | |
| 16 | Болт М10-6gx35.56.019 | Болт М10-6gx35.56.019 | |
| 18 | Гайка М60х2-6Н.5.019 | Гайка М60х2-6Н.5.019 | |
| 19 | Кольцо СП-88-69-7 | Кольцо СП-88-69-7 | |
| 20 | Масленка 1.3.Ц6 | Масленка 1.3.Ц6 | |
| 21 | Подшипник 1214 | Подшипник 1214 | |
| 22 | Шайба 8.65Г.019 | Шайба 8.65Г.019 | |
| 23 | Шайба 10.65Г.019 | Шайба 10.65Г.019 ГОСТ6402-70 | |
| 25 | Шайба 60.01.08кп.019 | Шайба 60.01.08кп.019 | |
| 26 | Шпонка 20х12х70 | Шпонка 20х12х70 | |
| 27 | Штифт 2.8х40 | Штифт 2.8х40 |
Содержащиеся в справочниках-каталогах запасные части и детали не предлагаются к продаже, а носят исключительно информационный характер