Вернуться на главную
Поиск
Каталоги запчастей к технике
Спецтехника
Геомаш
АЗА-3
Доработка автошасси ЗИЛ-131А
Каталог запасных частей к технике: Геомаш АЗА-3. Доработка автошасси ЗИЛ-131А
zoom-in
zoom-out
enlarge
shrink
circle-right
circle-left
file-text2
info
cart
Тип техники
Не выбрано
Легковые автомобили
Грузовые автомобили и прицепы
Автобусы
Сельхозтехника
Спецтехника
Двигатели
Мототехника
Марка
Не выбрано
Ammann
BOMAG
CARMIX
CASE IH
Changlin
ChengGong
Dimex
Doosan
DYNAPAC
Foton
HAMM
Hidromek
Hitachi
Hyundai
JCB
JLG
John Deere
Komatsu
LIEBHERR
LiuGong
Lonking (LongGong)
Luneng
MANITOU
Mitsuber
New Holland
PENGPU
RM-Terex
SANY
SDLG
SEM
Shantui
Shehwa HBXG
Soosan
TIGARBO
VOGELE
Volvo
WAY
WIRTGEN
XCMG
XGMA
Xiamen
YTO
Yuchai
Zoomlion
Автокран
АЗСМ
Алтайлесмаш
Амкодор
АОМЗ
Атек
АТЗ
Балканкар Рекорд
БелАЗ
Беловеж
Борекс
Брянский Арсенал
Булат
ВЭКС
ГАЗ
Геомаш
Гидромаш
Донекс
Дормаш
Дормашина
Дорэлектромаш
ДЭЗ
ЕлАЗ
ЗЗГТ
Ижнефтемаш
Канаш-электрокар
КЗКТ
ККЗ
Клевер
Клинцовский автокрановый завод
КМЗ
КМЗ 1 Мая
Ковровец
Коммаш
Кранэкс
КЭЗ
КЭМЗ
ЛЗА
МАЗ
МЗИК
МЗКМ
МЗКТ
Михневский РМЗ
МоАЗ
Мозырский МЗ
МТЗ
ОЗП
Онежец
ПАО "ТЗА"
ППС Детва
Промтрактор
ПТЗ
Раскат
СпецАгрегат
ТВЭКС
ТТМ
УВЗ
Угличмаш
УЗТМ
ХТЗ
ЧЗКМ
ЧСДМ
ЧТЗ
ЭКСКО
ЭКСМАШ
ЮрМаш
Модель
Не выбрано
АЗА-3 (2010)
ББУ-000 "Опенок" (2004)
ЛБУ-50 (2003)
ПБУ-2 (2003)
ПБУ-2-362 (2011)
УШ-2Т4/2Т4В (2004)
Схема
>
Не выбрано
Агрегат заглубления анкеров
Патрон безопасный
Хвостовик в сборе
Защелка в сборе
Шпиндель в сборе
Рама в сборе
Крышка в сборе
Крышка в сборе
Кожух
Кронштейн
Кронштейн левый
Кронштейн правый
Рама
Стойка передняя
Башмак в сборе
Стремянка в сборе
Стремянка
Ограждение карданного вала
Опора промежуточная
Корпус
Вал вертикальный
Мачта с домкратами
Ферма
Плита нижняя
Плита верхняя
Пояс
Пояс
Пояс
Домкрат левый
Цилиндр левый в сборе
Втулка направляющая
Поршень
Башмак
Домкрат правый
Цилиндр правый в сборе
Втулка направляющая
Башмак
Поршень
Табличка
Отвес
Домкрат
Корпус в сборе
Шток в сборе
Башмак
Трубопровод в сборе
Пульт гидроуправления
Ящик
Маховик
Гидроблок
Трубопровод
Маслопроводы
Трубопровод
Трубопровод
Трубопровод
Трубопровод
Трубопровод
Трубопровод
Трубопровод
Трубопровод
Трубопровод
Трубопровод
Трубопровод
Трубопровод
Трубопровод
Трубопровод
Рукав
Трубопровод
Трубопровод
Трубопровод
Трубопровод
Трубопровод
Трубопровод
Кран трехходовой
Корпус в сборе
Конечный выключатель
Лестница в сборе
Лестница
Рамка
Палец в сборе
Траверса с ведущим валом
Траверса
Вал ведущий
Электрооборудование
Жгут
Антенный блок
Доработка жгута в сборе
Кронштейн с фарой
Кронштейн в сборе
Провод защищенный
Управление муфтой сцепления
Кронштейн
Рычаг в сборе
Кронштейн
Палец в сборе
Ограждение карданного вала
Ограждение задних колес
Крыло заднее левое (передняя часть)
Крыло заднее правое (передняя часть)
Крыло заднее левое (задняя часть)
Крыло заднее правое (задняя часть)
Накладка соединительная в сборе
Кронштейн заднего крыла
Кронштейн в сборе
Табличка фирменная в сборе
Платформа
Каркас
Траверса с ведущим валом
Траверса
Вал ведущий
Коробка передач
Масломер
Трубопровод
Трубопровод
Пробка
Крышка
Крышка
Крышка
Блок-шестерня
Блок-шестерня
Управление коробкой передач
Кронштейн
Рычаг переключения
Редуктор угловой
Стакан
Фланец
Корпус
Редуктор верхний
Корпус в сборе
Масломер
Управление газом двигателя
Трубка
Трубка
Рукоятка
Стойка направляющая
Цилиндр подъема мачты
Цилиндр в сборе
Маслобак
Масломер
Бак
Лента в сборе
Пробка бака
Корпус фильтра
Трубка фильтра
Фильтр заливной
Корпус
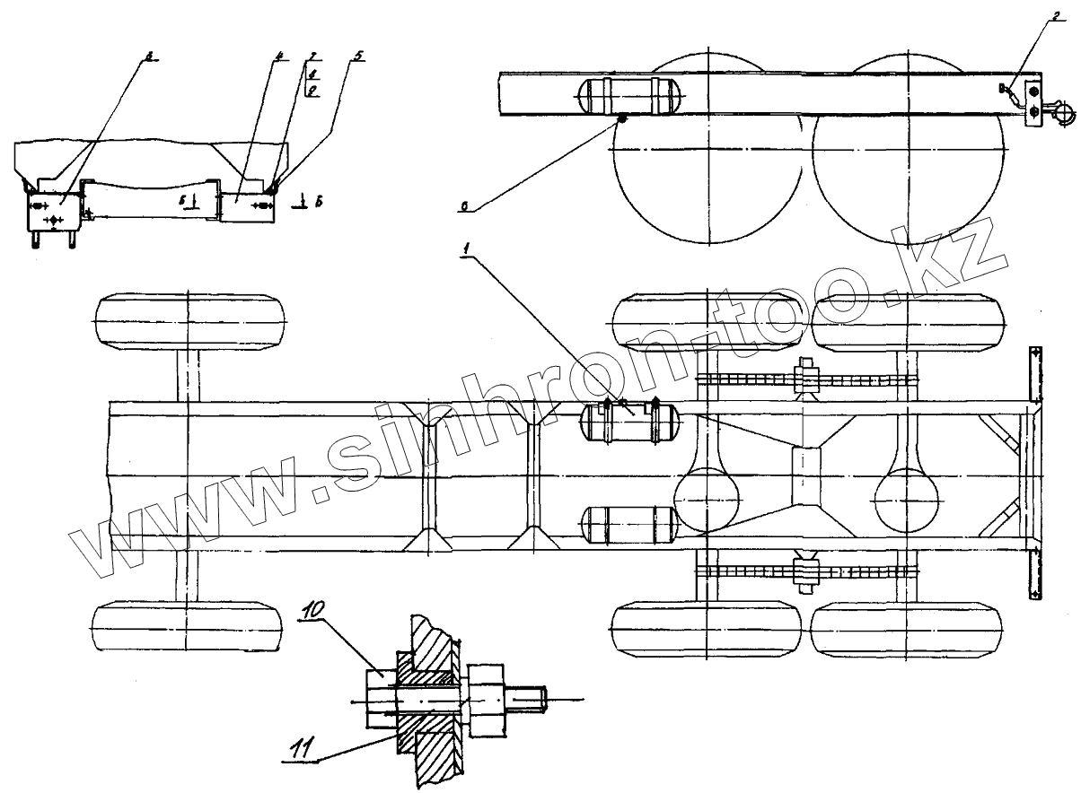
Доработка автошасси ЗИЛ-131А
Кронштейн левый
Крепление воздушного баллона
Хомут
Доработка воздухопровода
Ограждение штоков цилиндров подачи
Кожух левый
Кожух правый
Валик
Ограждение шнека
Ограждение
Фиксатор
Вращатель
Масломер
Корпус в сборе
Ось с фиксатором
Установка коробки отбора мощности
Кронштейн
Коробка отбора мощности
Муфта шарнирная
Рычаг управления в сборе
Ключ к патрону
Цилиндр подачи
Труба в сборе
Маслопровод
Цилиндр в сборе
Штуцер концевой
Каретка вращателя
Каретка
Ось с фиксатором
Упор под колеса
Подкладка под домкрат
ЛБУ-30-000А
1
2
3
4
5
6
6
7
8
9
10
11
Позиция на иллюстрации
Заводской номер детали
Название детали
ЛБУ-30-000А
ЛБУ-30-000А
Доработка автошасси ЗИЛ-131А
Шасси автомобиля
Шасси автомобиля
Шасси автомобиля ЗИЛ-13А
1
ЛБУ-30-010А
Крепление воздушного баллона
2
ЛБУ-30-020А
Доработка воздушного провода
3
ЛБУ-30-030А
Кронштейн левый
4
ЛБУ-30-001А
Кронштейн правый
5
ЛБУ-30-002
Кронштейн
6
ЛБУ-30-003А
Доработка кронштейна
7
Болт М8х16.58.019
Болт М8х16.58.019
8
Гайка М8-6Н.5.019
Гайка М8-6Н.5.019
9
Шайба 8.65Г.019
Шайба 8.65Г.019
10
Болт М8-6gx30.58.019
Болт М8-6gx30.58.019
11
ЛБУ-30-017
Втулка
Содержащиеся в справочниках-каталогах запасные части и детали не предлагаются к продаже, а носят исключительно информационный характер
Дополнительная информация
×
Название:
Номер:
Примечание: