Каталог запасных частей к технике: Foton TB454-Q161Y20K. TB554.421C TRANSFER CASE HOUSING ASSEMBLY
1.1
1.1
1.1
1.11
1.11
1.12
1.13
1.13
1.14
1.15
1.16
1.17
1.18
1.19
1.19
1.2
1.2
1.2
1.2
1.2
1.2
1.21
1.22
1.23
1.23
1.24
1.25
1.25
1.26
1.27
1.28
1.29
1.3
1.3
1.3
1.3
1.3
1.3
1.4
1.5
1.6
1.6
1.7
1.8
1.9
2
3
4
4
4
4
4
4
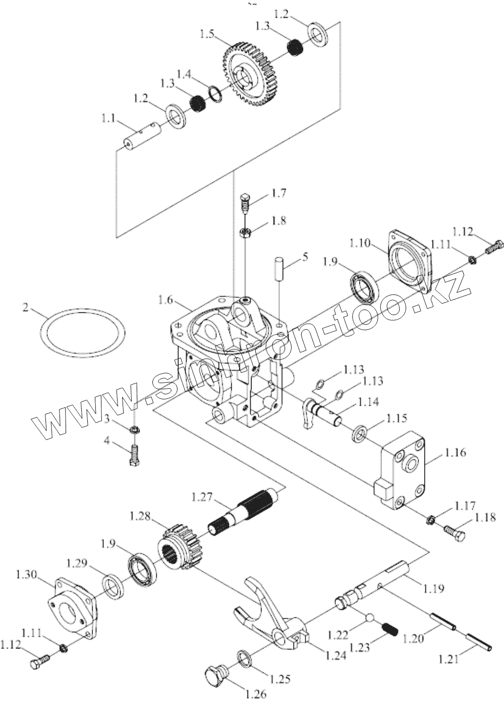
| Позиция на иллюстрации | Заводской номер детали | Название детали | |
|---|---|---|---|
| 1 | TB554.421C.1 | Transfer case installation assembly | |
| 1 | TB554.421C.1 | Transfer case installation assembly | |
| 1.1 | FT304.42.117 | Bearing housing | |
| 1.1 | FT304.42.117 | Bearing housing | |
| 1.1 | FT304.42.102 | Idler shaft | |
| 1.11 | GBT93-8-AOP | Spring washer | |
| 1.12 | GBT5783-M8X20-A2L | Bolt | |
| 1.13 | GBT3452.1-17.0X1.80G | O-seal ring | |
| 1.14 | TB554.421E.1.1 | Rotary shaft weldment | |
| 1.15 | TB554.423B-02 | Rotary shaft spacer bush | |
| 1.16 | TB554.421E.1-05 | Side cover | |
| 1.17 | GBT93-10-A0P | Washer | |
| 1.18 | GBT5782-M10X45-A3L | Bolt | |
| 1.19 | FT304.42F.119 | Transfer case fork shaft | |
| 1.19 | TB554.421E.1-04 | Fork shaft | |
| 1.2 | FT304.42F.103 | Plate;thrust | |
| 1.2 | GBT879.1-6X30 | Pin | |
| 1.21 | GBT879.1-3.5X30 | Pin | |
| 1.22 | GBT308-10-G100-b | Steel ball | |
| 1.23 | FT800.37.139 | Spring | |
| 1.23 | FT804.42.151 | Spring | |
| 1.24 | TB554.421E.1-06 | Release shift fork | |
| 1.25 | JBT982-18 | Combined seal gasket | |
| 1.25 | JBT982-18 | Combined seal gasket | |
| 1.26 | FT804.42.110 | plug | |
| 1.27 | FT304.42F.105 | Transfer case output shaft | |
| 1.28 | TB554.421C.1-01 | Transfer case driven gear | |
| 1.29 | GBT9877.1-FB30X52X7D | O ring | |
| 1.3 | FT304.42F.106 | Bearing seat | |
| 1.3 | JBT7918-K25X31X20 | Needle and carrier unit | |
| 1.4 | FT304.42.126 | Inner spacer of needle roller | |
| 1.5 | FT304.42F.125 | Transfer case idler | |
| 1.6 | FT304.42F.101 | Transfer case body | |
| 1.6 | FT304.42F.101a | Transfer case body | |
| 1.7 | FT304.42.112 | Thrust screw | |
| 1.8 | GBT6173-M10X1-A2L | Nut | |
| 1.9 | GBT276-6306 | Bearing | |
| 2 | GBT3452.1-132X3.55G | O-seal ring | |
| 3 | GBT93-10-A0P | Washer | |
| 4 | GBT5783-M10X30-8.8-A3L | Hex bolt | |
| 4 | GBT5783-M10X25-A3L | Bolt |
Содержащиеся в справочниках-каталогах запасные части и детали не предлагаются к продаже, а носят исключительно информационный характер