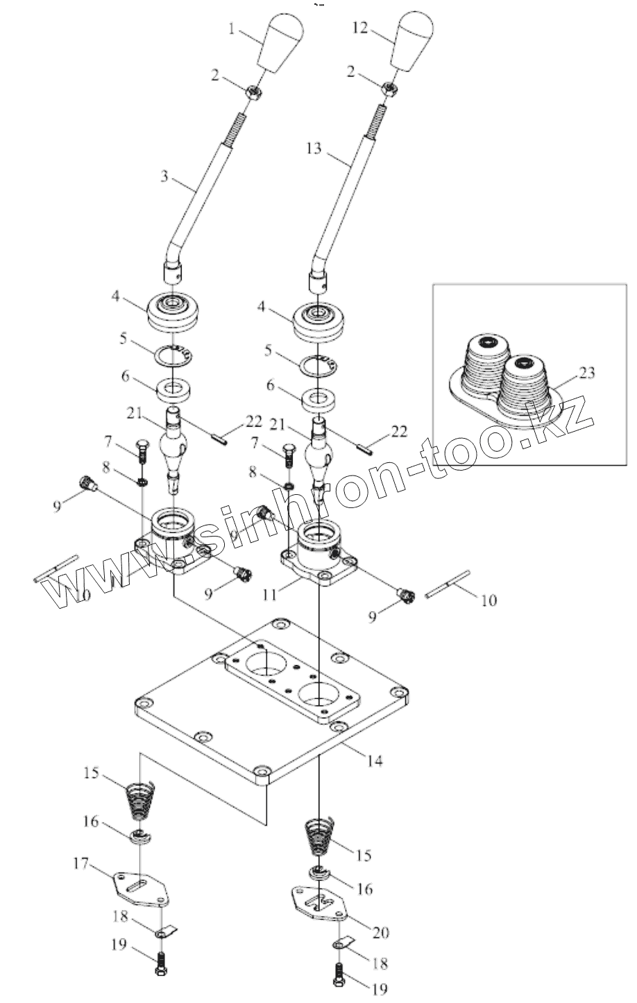
Каталог запасных частей к технике: Foton TB454-Q161Y20K. TB450.374C GEARBOX CONTROL MECHANISM ASSEMBLY-2
1
2
2
3
3
4
4
5
5
6
6
7
7
7
7
8
8
9
9
9
9
10
10
11
11
12
13
14
15
15
15
15
15
15
16
16
17
18
18
19
19
20
21
21
22
22
22
22
23
| Позиция на иллюстрации | Заводской номер детали | Название детали | |
|---|---|---|---|
| TB450.374C.1 | TB450.374C.1 | Gear box cover assembly | |
| 1 | FT300.37J.016 | Gear change handle assembly, auxiliary gearshift | |
| 2 | GBT6172.1-M10-A2L | Nut | |
| 3 | TB450.374B.1.2 | Welding of auxiliary gear lever | |
| 3 | TB450.374B.1.2 | Welding of auxiliary gear lever | |
| 4 | FT300.37.166a | Dust cover of gear change handle | |
| 5 | GBT893.1-40 | Retaining ring | |
| 6 | FT800A.37.305 | Nylon housing | |
| 7 | GBT5781-M8X20-A2L | Bolt | |
| 7 | GBT5781-M8X20-A2L | Hexagon head bolts | |
| 8 | GBT93-8-A0P | Washer | |
| 9 | FT800A.37.326 | Shift lever piston pin | |
| 10 | TF1004.374-02 | Low carbon steel wire | |
| 11 | FT300.37.180 | Gear shift lever housing | |
| 12 | FT300.37.015 | Gear change handle assembly | |
| 13 | TB450.374B.1.1 | Main gearlever weldment | |
| 14 | FT300.37.163a | Upper housing, gearbox | |
| 15 | FT300.37.165 | Spring of gear change handle | |
| 15 | FT300.37.165 | Spring of gear change handle | |
| 16 | FT300.37.164 | Spring snap ring of gear change handle | |
| 17 | FT300.37J.161 | Auxiliary gar guide plate | |
| 18 | GBT854-8 | Washer | |
| 19 | GBT5783-M8X16-A2L | Hex bolt | |
| 20 | FT300.37.162 | Main gearshift runner | |
| 21 | TB450.374B.1-01 | Lower control rod | |
| 22 | GBT879.1-6X28 | Pin | |
| 22 | GBT879.1-6X28 | Pin | |
| 23 | TB450.374B-01 | Gearlever dustproof bonnet |
Содержащиеся в справочниках-каталогах запасные части и детали не предлагаются к продаже, а носят исключительно информационный характер