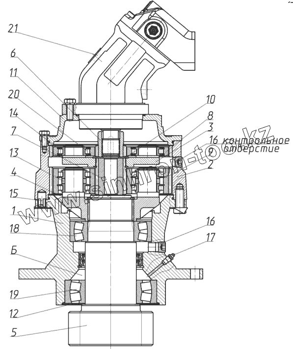
Каталог запасных частей к технике: ЭКСМАШ E130W. Механизм поворота 130-00-24.00.000
1
2
3
4
5
6
7
8
9
10
11
12
13
14
15
16
16
17
18
19
20
21
| Позиция на иллюстрации | Заводской номер детали | Название детали | |
|---|---|---|---|
| 1 | 130-00-24.00.001 | Корпус | |
| 2 | 130-00-24.00.003 | Корпус | |
| 3 | 130-00-24.00.004 | Водило первой ступени | |
| 4 | 130-00-24.00.005 | Водило второй ступени | |
| 5 | 130-00-24.00.006 | Вал-шестерня | |
| 6 | 130-00-24.00.007 | Шестерня солнечная | |
| 7 | 130-00-24.00.008 | Шестерня солнечная | |
| 8 | 130-00-24.00.009 | Сателлит | |
| 9 | 130-00-24.00.010 | Сателлит | |
| 10 | 130-00-24.00.011 | Шайба опорная | |
| 11 | 130-00-24.00.013 | Крышка | |
| 12 | 130-00-24.00.015 | Шайба защитная | |
| 13 | 130-00-24.00.020 | Кольцо | |
| 14 | 130-00-24.00.021 | Кольцо стопорное | |
| 15 | 130-00-24.00.026 | Штифт срезанный | |
| 16 | 130-00-24.00.036 | Пробка | |
| 17 | ГОСТ19853-74 | Масленка 1.3Ц6xр | |
| 18 | 3518 | Подшипник 3518 | |
| 19 | 3520 | Подшипник 3520 | |
| 20 | 502207 | Подшипник 502207 | |
| 21 | 410.0.56.006.3 | Гидромотор 410.0.56.006.3 |
Содержащиеся в справочниках-каталогах запасные части и детали не предлагаются к продаже, а носят исключительно информационный характер