Каталог запасных частей к технике: DYNAPAC Dynapac CC322. Offset drum Option
1
1
3
4
5
5
6
6
6
7
8
10
11
11
12
12
12
12
13
13
14
15
16
17
18
19
20
20
21
22
23
24
24
25
25
26
26
27
27
28
28
29
29
30
30
35
36
39
40
41
59
59
60
60
61
62
63
63
65
66
67
68
69
69
200
200
200
200
200
200
200
200
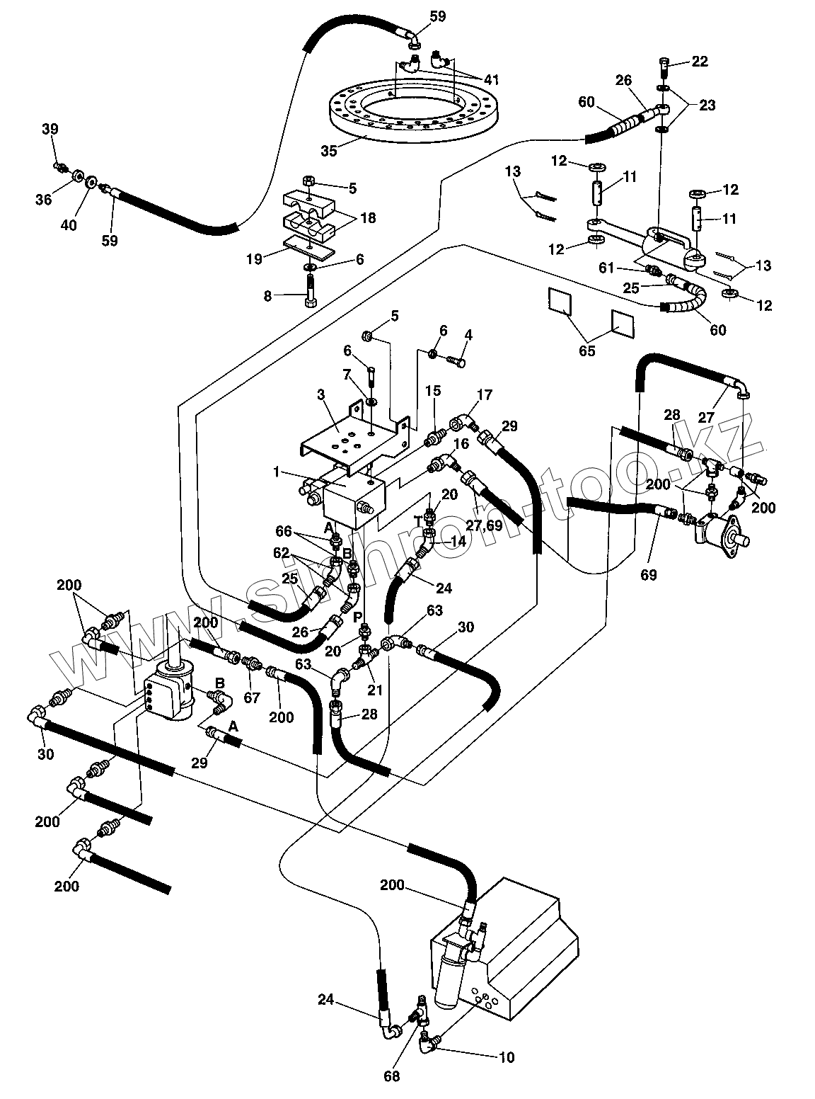
| Позиция на иллюстрации | Заводской номер детали | Название детали | |
|---|---|---|---|
| 1 | 377432 | Direction control valve | |
| 1 | 380780 | Direction control valve | |
| 3 | 381029 | Holder plate | |
| 4 | 500021 | Screw | |
| 5 | 570005 | Nut | |
| 6 | 904229 | Washer 8,4x16x1,5 | |
| 7 | 500053 | Screw | |
| 8 | 500068 | Screw | |
| 9 | 373403 | Cylinder | |
| 9 | 377584 | Cylinder | |
| 10 | Existing | Existing | |
| 11 | 357419 | Shaft | |
| 12 | 600016 | Washer 26x45x4 | |
| 13 | 630019 | Split pin | |
| 14 | 234662 | Elbow 45 | |
| 15 | 234388 | Connector | |
| 16 | 234850 | Elbow 90, O-ring | |
| 17 | 334196 | Elbow 90 | |
| 18 | 904871 | Pipe clamp | |
| 19 | 904872 | Cover plate | |
| 20 | 334121 | Adapter | |
| 21 | 234953 | Connector | |
| 22 | 330171 | Hollow screw | |
| 23 | 162024 | Washer, sealing | |
| 24 | 483411 | Hydraulic hose | |
| 25 | 483513 | Hydraulic hose | |
| 26 | 359768 | Hydraulic hose | |
| 27 | 482472 | Hydraulic hose | |
| 28 | 483231 | Hydraulic hose | |
| 29 | 482064 | Hydraulic hose | |
| 30 | 482940 | Hydraulic hose | |
| 35 | 359192 | Bearing | |
| 36 | 903831 | Nut | |
| 39 | 926214 | Grease fitting | |
| 40 | 904231 | Washer 13x24x2 | |
| 41 | 373183 | Elbow 90 | |
| 59 | 903813 | Hydraulic hose | |
| 60 | 903082 | Hose shield | |
| 61 | 334236 | Adapter | |
| 62 | 801781 | Connector | |
| 63 | 334197 | Elbow 90 | |
| 65 | 903422 | Decal SAFETY | |
| 66 | 924731 | Connector | |
| 67 | 925762 | Adapter | |
| 68 | 334135 | T-connector | |
| 69 | 483699 | Hydraulic hose | |
| 200 | Existingparts | Existing parts |
Содержащиеся в справочниках-каталогах запасные части и детали не предлагаются к продаже, а носят исключительно информационный характер