Вернуться на главную
Поиск
Каталоги запчастей к технике
Спецтехника
DYNAPAC
Dynapac CC142
Steering hitch
Каталог запасных частей к технике: DYNAPAC Dynapac CC142. Steering hitch
zoom-in
zoom-out
enlarge
shrink
circle-right
circle-left
file-text2
info
cart
Тип техники
Не выбрано
Легковые автомобили
Грузовые автомобили и прицепы
Автобусы
Сельхозтехника
Спецтехника
Двигатели
Мототехника
Марка
Не выбрано
Ammann
BOMAG
CARMIX
CASE IH
Changlin
ChengGong
Dimex
Doosan
DYNAPAC
Foton
HAMM
Hidromek
Hitachi
Hyundai
JCB
JLG
John Deere
Komatsu
LIEBHERR
LiuGong
Lonking (LongGong)
Luneng
MANITOU
Mitsuber
New Holland
PENGPU
RM-Terex
SANY
SDLG
SEM
Shantui
Shehwa HBXG
Soosan
TIGARBO
VOGELE
Volvo
WAY
WIRTGEN
XCMG
XGMA
Xiamen
YTO
Yuchai
Zoomlion
Автокран
АЗСМ
Алтайлесмаш
Амкодор
АОМЗ
Атек
АТЗ
Балканкар Рекорд
БелАЗ
Беловеж
Борекс
Брянский Арсенал
Булат
ВЭКС
ГАЗ
Геомаш
Гидромаш
Донекс
Дормаш
Дормашина
Дорэлектромаш
ДЭЗ
ЕлАЗ
ЗЗГТ
Ижнефтемаш
Канаш-электрокар
КЗКТ
ККЗ
Клевер
Клинцовский автокрановый завод
КМЗ
КМЗ 1 Мая
Ковровец
Коммаш
Кранэкс
КЭЗ
КЭМЗ
ЛЗА
МАЗ
МЗИК
МЗКМ
МЗКТ
Михневский РМЗ
МоАЗ
Мозырский МЗ
МТЗ
ОЗП
Онежец
ПАО "ТЗА"
ППС Детва
Промтрактор
ПТЗ
Раскат
СпецАгрегат
ТВЭКС
ТТМ
УВЗ
Угличмаш
УЗТМ
ХТЗ
ЧЗКМ
ЧСДМ
ЧТЗ
ЭКСКО
ЭКСМАШ
ЮрМаш
Модель
Не выбрано
CA1400 (2016)
CA2500D (2016)
CA2500D (2018)
CA2500D-PD (2018)
CA250D (2011)
CA252D (2008)
CA2800D (2017)
CA3500D (2016)
CA4000D (2017)
CA4000D (2020)
CA4600D (2019)
CA5500D (2015)
CA610PD (2014)
CA6500 (2018)
CC1000 (2019)
CC1100CC (2015)
CC1200C Plus (2015)
CC1200C VI (2018)
CC1200CC (2018)
CC125 (2015)
CC1250 (2015)
CC1300 (2018)
CC1300C (2015)
CC1300C (2016)
CC2200 (2018)
CC2200 (2020)
CC2300C (2018)
CC3300 (2018)
CC4000 VI (2018)
CC4200C VI (2020)
CC5200C (2018)
CC6200 VI (2020)
CC800 (2019)
CC900 (2018)
CC900S (2018)
CG2300 (2018)
CP142 (2015)
CP275 (2014)
Dynapac CA1500 (2017)
Dynapac CA2500 (2012)
Dynapac CA302D (2008)
Dynapac CA302D (2010)
Dynapac CA5000D (2017)
Dynapac CC142 (2009)
Dynapac CC2200C (2015)
Dynapac CC224HF (2012)
Dynapac CC322 (2008)
Dynapac CC422 (2010)
Dynapac CC5200 (2014)
Dynapac CC5200 (2017)
Dynapac CC5200 (2017)
Dynapac CC5200 VI (2017)
Dynapac CC800 (2013)
Dynapac CC800 (2014)
Dynapac F1200C/CS (2018)
Dynapac F1200CS/CS (2018)
Dynapac F1800C (2018)
Dynapac F181C (2010)
Dynapac PL2000LS (2010)
Dynapac PL2000LS (2010)
Dynapac PL2000S (2010)
Dynapac PL2000S (2010)
Dynapac SCC1300 (2014)
Dynapac SD2500C (ч. 1) (2018)
Dynapac SD2500C (ч. 2) (2018)
Dynapac SD2550C (ч. 1) (2018)
Dynapac SD2550C (ч. 2) (2018)
F2500C (2018)
SD2550CS (2015)
Схема
>
Не выбрано
СС142 SN 60212800-
Service kits
4700938542 Service kit, Deutz 50 h
4700938543 Service kit, Deutz 500 h
4700940211 Service kit, Deutz F3L 2011 1000 h
Repair kits
4700938909 Eccentric shaft kit
4700938893 Drum rotation kit
4700938915 Scraper kit CC142 - (12 mm)
4700938887 Shock absorber kit, drum
4700938575 Steering hitch kit
4700940662 F/R control button kit
Frames Up to 602X3237
Frames From 602X3238 Up to 60214139
Frames From 60214140
Scrapers, standard drums Up to 602X2850
Scrapers, STD From 602X2851 Up to 602X3057
Scrapers, STD From 602X3058
Scrapers, spring loaded, front drum Up to 602X2850
Scrapers, spring loaded, rear drum Up to 602X2850
Scrapers, spring loaded From 602X2851
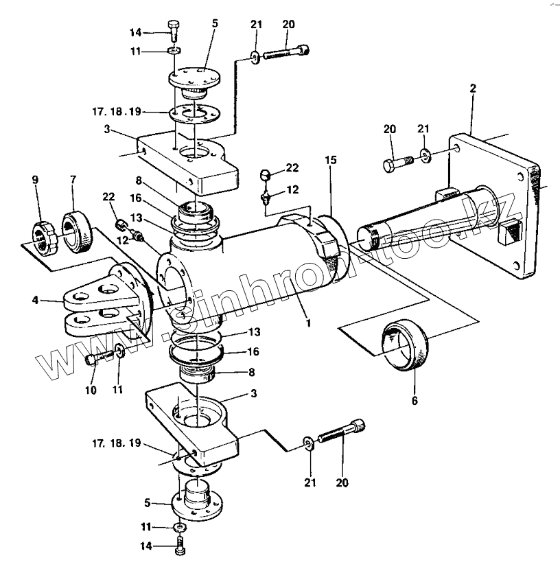
Steering hitch
Structure Up to 602X3054 DEUTZ, F3L
Structure From 602X3055 DEUTZ, F3L
Structure DEUTZ
Sprinkler system Up to 602X3202 Front tank
Sprinkler system From 602X3203 Front tank
Sprinkler, front/rear Up to 602X2850
Sprinkler front/rear From 602X2851
Drum
Engine Up to 602X3529 DEUTZ F3L 2011
Engine From 602X3530 DEUTZ D2011 L03 I
Intake system DEUTZ
Fuel system DEUTZ
Fuel system DEUTZ
Exhaust system Up to 602X3392 DEUTZ
Exhaust system From 602X3393 DEUTZ
Hydraulic diagram
Propulsion system
4812110281 Junction block
4700372352 Hydraulic pump, propulsion
Rotating group, valves, charge pump
Control unit, cpl
4700357022 Hydraulic motor, propulsion, drum
4700380736 Junction block
Vibration system Up to 60214244 DEUTZ
Vibration system From 60214245 DEUTZ
4700359524 Hydraulic pump, vibration DEUTZ
Steering system Up to 602X2957
Steering system From 602X2958 Up to 602X3318
Steering system From 602X3319
4700902099 Steering valve
4700374603 Steering cylinder
Brake system
Electrical equipment Up to 602X2806
Electrical equipment From 602X2807
Control panel Up to 60214251
Control panel From 60214252
Electric battery switch
Interlock
Interlock Loxam From 602X3084 Up to 602x3579
Interlock Loxam From 602x3580
Sprinkler timer
Driving & side direction lights Up to 602X2821
Driving & side direction lights From 602X2822
Working lights
Licence plate light, parking lights
Rotating beacon Up to 60212800
Rotating beacon From 60212801
Drivers platform Up to 602X3331
Drivers platform From 602X3332
Seat
Control panel
Arm rests, seat belt, laterally adjusting Up to 602X3331
Arm rests, seat belt, laterally adjusting From 602X3332
Comfort drivers seat, laterally adjusting Up to and seat beltage
Comfort drivers seat, laterally adjusting From 6and seat beltage
Engine and forward/reverse controls
F/r controls dual, control panel mounted
F/r control dual left side, platform mounted
Rops and fops
Plates and decals, ce-marking approved
Standard equipment
Cab, exterior Up to 602X3164
Cab, interior Up to 602X3164
Cab, heater Up to 602X3164
Canopy
SMV-sign
SMV-sign placed on platform Up to 60212800
SMV-sign placed on platform From 60212801
Tool equipment
Noise suppression DEUTZ, 78 dB Up to 602X3054
Noise suppression DEUTZ, 78 dB From 602X3055
Noise suppression DEUTZ, 73 dB Up to 602X3054
Noise suppression DEUTZ, 73 dB From 602X3055
Back-up alarm Up to 60214229
Back-up alarm From 60214230
Rear mirror
Brake release, propulsion motor 357022
Cassette receiver
Towing valve
Flow divider
Vibration shut-off, front drum DEUTZ
Vibration shut-off, rear drum DEUT
Automatic vibration control
Service brake
Driving, restriction
1
2
3
3
4
5
5
6
7
8
8
9
10
11
11
11
12
12
13
13
14
14
15
16
16
17
17
18
18
19
19
20
20
20
21
21
21
22
22
Позиция на иллюстрации
Заводской номер детали
Название детали
1
4700358976
Bearing housing
2
4700358978
Hitch shaft
3
4700357031
Bracket
4
4700357038
Bracket
5
4700357039
Shaft
6
4700902063
Bushing
7
4700902062
Bushing
8
4700902061
Bushing
9
4700902060
Lock nut
10
4700902059
Screw
11
4700600008
Washer
12
4700926214
Grease fitting
13
4700167044
V-ring
14
4700500028
Screw
15
4700892179
O-ring
16
4700357418
Sealing
17
4700347153
Shim
18
4700347154
Shim
19
4700347155
Shim
20
Screw
Screw
21
Washer
Washer
22
4700902576
Cover
Содержащиеся в справочниках-каталогах запасные части и детали не предлагаются к продаже, а носят исключительно информационный характер
Дополнительная информация
×
Название:
Номер:
Примечание: