Каталог запасных частей к технике: DYNAPAC Dynapac CA302D. 17730 Propulsion system, Rear
1
2
3
6
7
8
8
8
9
9
10
11
11
11
12
13
13
13
13
14
15
16
17
17
18
18
18
18
19
19
19
19
20
20
20
21
21
21
21
22
22
22
23
24
25
26
27
28
29
29
30
30
31
31
32
32
33
33
34
35
36
37
38
39
40
48
52
60
61
62
63
64
65
66
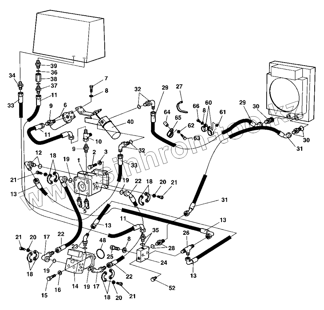
| Позиция на иллюстрации | Заводской номер детали | Название детали | |
|---|---|---|---|
| 938170 | 938170 | Control valve, cpl | |
| 372436 | 372436 | Filter head | |
| 359552 | 359552 | Cleaning filter element | |
| 372229 | 372229 | Filter element Hydraulic | |
| 372229 | 372229 | Filter element Hydraulic | |
| 359552 | 359552 | Cleaning filter element | |
| 359551 | 359551 | Filter head | |
| 938253 | 938253 | Neutral start switch | |
| 500046 | 500046 | Screw | |
| 904213 | 904213 | Washer 13x30x4 | |
| 938252 | 938252 | Solenoid valve | |
| 1 | 380830 | Propulsion pump | |
| 2 | 500037 | Hex. screw | |
| 3 | 615045 | Conical spring washer | |
| 5 | 900229 | Measuring nipple | |
| 6 | 359550 | Hydraulic oil filter, cpl | |
| 7 | 500028 | Screw | |
| 8 | 904230 | Washer 10,5x22x2 | |
| 9 | 334468 | Adapter | |
| 10 | 234243 | Adapter | |
| 11 | 482182 | Hydraulic hose | |
| 12 | 813499 | Adapter | |
| 13 | 482391 | Hydraulic hose | |
| 14 | 373361 | Propulsion motor | |
| 14 | 374137 | Propulsion motor | |
| 15 | 500263 | Screw M18x60 | |
| 16 | 904793 | Washer | |
| 16 | 604012 | Washer | |
| 17 | 900604 | Adapter | |
| 18 | 923384 | Flange half | |
| 19 | 904005 | O-ring | |
| 20 | 904638 | Washer 12x22x2 | |
| 21 | 502132 | Screw | |
| 22 | 483033 | Hydraulic hose | |
| 23 | 334132 | Elbow 45, O-ring | |
| 24 | 345243 | Connection block | |
| 25 | 500109 | Screw | |
| 26 | 234875 | Adapter | |
| 27 | 313102 | Cable ties | |
| 28 | 334140 | Adapter | |
| 29 | 483527 | Hydraulic hose | |
| 30 | 234958 | Connector | |
| 31 | 483616 | Hydraulic hose | |
| 32 | 334163 | Adapter | |
| 33 | 483037 | Hydraulic hose | |
| 34 | 234909 | Adapter | |
| 35 | 334138 | Adapter | |
| 36 | 162008 | Seal washer | |
| 37 | 923371 | Adapter | |
| 38 | 374059 | Check valve | |
| 39 | 904282 | Adapter | |
| 40 | 372435 | Hydraulic oil filter, cpl | |
| 45 | 372235 | Hose guard | |
| 48 | 902581 | O-ring | |
| 52 | 232222 | Plug | |
| 60 | 923008 | Clamp | |
| 61 | 902287 | Nut | |
| 62 | 904231 | Washer 13x24x2 | |
| 63 | 500013 | Hex. screw | |
| 64 | 387698 | Spacer sleeve | |
| 65 | 791513 | Pipe clamp | |
| 66 | 500031 | Screw |
Содержащиеся в справочниках-каталогах запасные части и детали не предлагаются к продаже, а носят исключительно информационный характер