Вернуться на главную
Поиск
Каталоги запчастей к технике
Спецтехника
DYNAPAC
Dynapac CA1500
Pad shell, option
Каталог запасных частей к технике: DYNAPAC Dynapac CA1500. Pad shell, option
zoom-in
zoom-out
enlarge
shrink
circle-right
circle-left
file-text2
info
cart
Тип техники
Не выбрано
Легковые автомобили
Грузовые автомобили и прицепы
Автобусы
Сельхозтехника
Спецтехника
Двигатели
Мототехника
Марка
Не выбрано
Ammann
BOMAG
CARMIX
CASE IH
Changlin
ChengGong
Dimex
Doosan
DYNAPAC
Foton
HAMM
Hidromek
Hitachi
Hyundai
JCB
JLG
John Deere
Komatsu
LIEBHERR
LiuGong
Lonking (LongGong)
Luneng
MANITOU
Mitsuber
New Holland
PENGPU
RM-Terex
SANY
SDLG
SEM
Shantui
Shehwa HBXG
Soosan
TIGARBO
VOGELE
Volvo
WAY
WIRTGEN
XCMG
XGMA
Xiamen
YTO
Yuchai
Zoomlion
Автокран
АЗСМ
Алтайлесмаш
Амкодор
АОМЗ
Атек
АТЗ
Балканкар Рекорд
БелАЗ
Беловеж
Борекс
Брянский Арсенал
Булат
ВЭКС
ГАЗ
Геомаш
Гидромаш
Донекс
Дормаш
Дормашина
Дорэлектромаш
ДЭЗ
ЕлАЗ
ЗЗГТ
Ижнефтемаш
Канаш-электрокар
КЗКТ
ККЗ
Клевер
Клинцовский автокрановый завод
КМЗ
КМЗ 1 Мая
Ковровец
Коммаш
Кранэкс
КЭЗ
КЭМЗ
ЛЗА
МАЗ
МЗИК
МЗКМ
МЗКТ
Михневский РМЗ
МоАЗ
Мозырский МЗ
МТЗ
ОЗП
Онежец
ПАО "ТЗА"
ППС Детва
Промтрактор
ПТЗ
Раскат
СпецАгрегат
ТВЭКС
ТТМ
УВЗ
Угличмаш
УЗТМ
ХТЗ
ЧЗКМ
ЧСДМ
ЧТЗ
ЭКСКО
ЭКСМАШ
ЮрМаш
Модель
Не выбрано
CA1400 (2016)
CA2500D (2016)
CA2500D (2018)
CA2500D-PD (2018)
CA250D (2011)
CA252D (2008)
CA2800D (2017)
CA3500D (2016)
CA4000D (2017)
CA4000D (2020)
CA4600D (2019)
CA5500D (2015)
CA610PD (2014)
CA6500 (2018)
CC1000 (2019)
CC1100CC (2015)
CC1200C Plus (2015)
CC1200C VI (2018)
CC1200CC (2018)
CC125 (2015)
CC1250 (2015)
CC1300 (2018)
CC1300C (2015)
CC1300C (2016)
CC2200 (2018)
CC2200 (2020)
CC2300C (2018)
CC3300 (2018)
CC4000 VI (2018)
CC4200C VI (2020)
CC5200C (2018)
CC6200 VI (2020)
CC800 (2019)
CC900 (2018)
CC900S (2018)
CG2300 (2018)
CP142 (2015)
CP275 (2014)
Dynapac CA1500 (2017)
Dynapac CA2500 (2012)
Dynapac CA302D (2008)
Dynapac CA302D (2010)
Dynapac CA5000D (2017)
Dynapac CC142 (2009)
Dynapac CC2200C (2015)
Dynapac CC224HF (2012)
Dynapac CC322 (2008)
Dynapac CC422 (2010)
Dynapac CC5200 (2014)
Dynapac CC5200 (2017)
Dynapac CC5200 (2017)
Dynapac CC5200 VI (2017)
Dynapac CC800 (2013)
Dynapac CC800 (2014)
Dynapac F1200C/CS (2018)
Dynapac F1200CS/CS (2018)
Dynapac F1800C (2018)
Dynapac F181C (2010)
Dynapac PL2000LS (2010)
Dynapac PL2000LS (2010)
Dynapac PL2000S (2010)
Dynapac PL2000S (2010)
Dynapac SCC1300 (2014)
Dynapac SD2500C (ч. 1) (2018)
Dynapac SD2500C (ч. 2) (2018)
Dynapac SD2550C (ч. 1) (2018)
Dynapac SD2550C (ч. 2) (2018)
F2500C (2018)
SD2550CS (2015)
Схема
>
Не выбрано
DYNAPAC CA1500D/PD (IIIB/T4i) SN 10000156xxA010304
4812159462 Service kit, 50h Plus
4812159856 Service kit, 500h
4812159855 Service kit, 500h Plus
4812159858 Service kit, 1000h
4812159857 Service kit, 1000h Plus
4812159859 Start up kit Cummins QSB 3.3 IIIB/T4
4812159861 Service kit, 2000h
4812159860 Service kit, 2000h Plus
4812159976 Eccentric shaft kit
4812157275 Drum rotation kit
4812159975 Shock absorber kit, drum
Keys
Fuses
Frame, front
4812120697 Steering hitch, cpl.
Steering hitch module
4812114990 Steering hitch, cpl
Scraper module
Scraper module Rubber
Scraper assy
Scraper module PD Hardox
Frame, rear
Frame, rear
Cover assembly
Step module
Step assy
Tool box module, Option
Engine structure
Engine hood module
4812118994 Lock handle, cpl
Fender module
Hinge module
Gas spring module
Safety link module To A014115
Lock handle assy To A014115
Safety link module From A014116
Lock handle, assy From A014116
Drum
4812115972 Gear Anti spin
4812115971 Gear
Drum
Vibration motor adapter
Splined sleeve
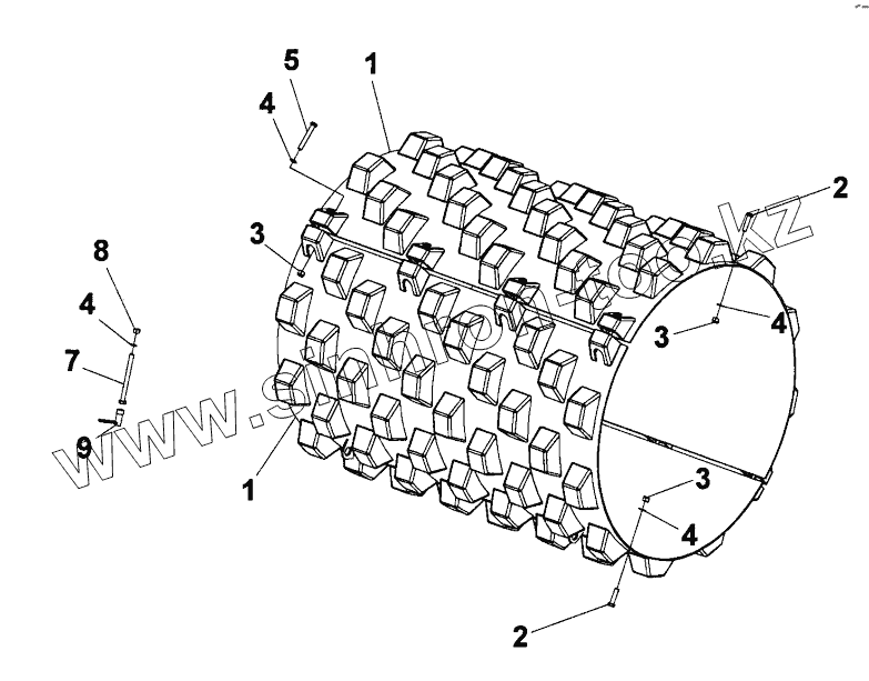
Pad shell, option
Engine
Diesel engine Cummins QSB 3.3 IIIB
Bracket module
Belt guard module
Belt guard assy
Cooling system
Cooler stand
Hose kit
Air cleaner
Air cleaner
Fuel system
Fuel tank module
Fuel tank
Bracket assy
Fuel hose module
Draining module
Exhaust system
Expansion tank assembly
Rear axle and wheels
4812116234 Rear axle Limited-Spin
Differential
Central housing & Brakes
Hub reduction
4812116238 Rear axle cpl, No-spin
Differential
Central housing & Brakes
Hub reduction
Hydraulic system, drum Traction control - Dual speed
Hydraulic motor
4812115109 Hydraulic motor
Rotary group
Flush & Boost pressure valve with orifice
Cover, cpl.
4812161061_Seal kit
Hydraulic motor
4812116230 Hydraulic motor
Hydraulic valve module
4812113687 Hydraulic valve
Hydraulic system, drum Anti-Spin system
Hydraulic motor
4812112197 Hydraulic motor
Rotary group
Control
Hydraulic system, rear axle Traction control - limited slip
Hydraulic motor
4812112204 Hydraulic motor
Rotary group
Control
Hydraulic system, rear axle Anti-Spin system
Hydraulic motor
Hydraulic system, rear axle Dual speed
Hydraulic motor
Hydraulic system, oil tank
Hydraulic oil tank assembly
Hose holder
Hydraulic system, engine room
Hydraulic pump module
4812112169 Hydraulic pump, propulsion
Rotary group
Hydraulic control
Port plate with valves
Control module
Hydraulic pump module
4812112172 Hydraulic pump
Rotary group
Adjusting piece
Portplate with valves
Pump support plate
4/3-Way directional valve
Hydraulic oil filter assy
Hydraulic pump module
4812112182 Hydraulic pump, steering
Hydraulic system, steering
Hydraulic cylinder
4812121947 Hydraulic cylinder
4812120830 Hydraulic cylinder
4812112508 Hydraulic cylinder
Emergency steering valve module
Hydraulic hoses, steering
Fan module
4812116231 Hydraulic motor
Hydraulic valve module
4812112238 Hydraulic valve
Hydraulic system, rear frame
Connector kit
Connector kit
Connector kit
Connector kit, Frame
Electric cables, power supply, 1-pole
Battery module
Battery disconnector module
Electric cables, power supply, 2-pole, option
Battery disconnector, 2-pole
Electrical cables, engine - ECU Horn, back-up alarm
Standard ECU assembly
Power converter module
Inclination sensor module
Inclination sensor module
Back-up alarm module
Back-up alarm module, Quacker
Horn module
Bracket module
Driving & side direction lights, number plate light, option
Steering column switch module
Cable harness kit
Registration plate light module
Registration plate light
Holder, Registration plate light
Cable harness kit Power supply cab
Reversing light module
DCA/GPS equipment module, option
Holder
GPS equipment module
GPS equipment assy
Computer
Rotating beacon, working light, option
Rotating beacon module
Bracket, Rotating beacon
Working light module H3
Compaction meter, option
Power supply
External emergency stop, option
Pre-heater installation, option
Engine pre-heater module
Speed sensor, frequency sensor, option
Platform, rops
4812120545 Platform with 4-post ROPS
Basic kit Rops, roof, front handrail
Rear cover
Handrail
Cab, basic kit
Manual box
Decals basic kit
Cab symmetric module
4812112301 Cab, cpl Comfort
Screens
4812115202 Cab door, cpl
4812115200 Sliding screen, left hand
Windshield wiper
Roof
Heater assy
Hose kit heater
Cab Interior
Heater controls
Cab cable harness
Cab, electrical equipment
Emergency hammer, hook
Cab, rear cover
Cab, front cover
Floor mat
Step light, front wiper switches
Air channel
Sun-blind, inner light
4812112302 Cab, cpl Basic
Cab, rear cover
Cab, front cover
Wiper switch, front
Drivers seat
Seat frame structure
4700391163 Steering column
Seat frame adapter module, rotating
Seat frame adapter module, fixed
Floor cassette module
Seat, fabric suspensioned
Seat, galon suspensioned
Control module
Forward reverse control module
Display unit
Seat belt 2"
Seat belt 3"
Seat belt 2" with reminder
Seat belt 3" with reminder
Reading light
Control panel cover
Car stereo module, option
Rear view mirror
Decals
Fire extinguisher/First Aid Cushion
Fire extinguisher
Level sensor module, option
SMV-sign
Air conditioning
Condensor assembly
AC module
4812113623 Evaporator, cpl
ACC module
4812113624 ACC kit
Drying filter module
4812114257 Drying filter assy
Hose assy kit for AC
Hose assy kit for AC
Compressor module
Belt guard module
Belt guard assy
Cooling box module
Lunch box
Strike off blade kit
Bearing mount
Hydraulic and Electrical, Strike off blade kit
4812121948 Hydraulic cylinder
Strike-off blade, mount
Indicator, module
Bracket, module
Locking device, module
FleetLink module
Compaction meter (DCM)
Dyn@lyzer
1
1
2
2
3
3
3
4
4
4
4
5
7
8
9
Позиция на иллюстрации
Заводской номер детали
Название детали
4812118123
4812118123
Pad shell kit
1
4812116819
Pad shell
2
4700500134
Hex. screw
3
4700586021
Lock nut
4
4700904232
Steel plain washer
5
4700500094
Hex. screw
7
4700385505
Mounting screw
8
4700570008
Hex. nut
9
4700385504
Hexagon sleeve
Содержащиеся в справочниках-каталогах запасные части и детали не предлагаются к продаже, а носят исключительно информационный характер
Дополнительная информация
×
Название:
Номер:
Примечание: