Вернуться на главную
Поиск
Каталоги запчастей к технике
Спецтехника
DYNAPAC
CC1300C
Fuel hoses
Каталог запасных частей к технике: DYNAPAC CC1300C. Fuel hoses
zoom-in
zoom-out
enlarge
shrink
circle-right
circle-left
file-text2
info
cart
Тип техники
Не выбрано
Легковые автомобили
Грузовые автомобили и прицепы
Автобусы
Сельхозтехника
Спецтехника
Двигатели
Мототехника
Марка
Не выбрано
Ammann
BOMAG
CARMIX
CASE IH
Changlin
ChengGong
Dimex
Doosan
DYNAPAC
Foton
HAMM
Hidromek
Hitachi
Hyundai
JCB
JLG
John Deere
Komatsu
LIEBHERR
LiuGong
Lonking (LongGong)
Luneng
MANITOU
Mitsuber
New Holland
PENGPU
RM-Terex
SANY
SDLG
SEM
Shantui
Shehwa HBXG
Soosan
TIGARBO
VOGELE
Volvo
WAY
WIRTGEN
XCMG
XGMA
Xiamen
YTO
Yuchai
Zoomlion
Автокран
АЗСМ
Алтайлесмаш
Амкодор
АОМЗ
Атек
АТЗ
Балканкар Рекорд
БелАЗ
Беловеж
Борекс
Брянский Арсенал
Булат
ВЭКС
ГАЗ
Геомаш
Гидромаш
Донекс
Дормаш
Дормашина
Дорэлектромаш
ДЭЗ
ЕлАЗ
ЗЗГТ
Ижнефтемаш
Канаш-электрокар
КЗКТ
ККЗ
Клевер
Клинцовский автокрановый завод
КМЗ
КМЗ 1 Мая
Ковровец
Коммаш
Кранэкс
КЭЗ
КЭМЗ
ЛЗА
МАЗ
МЗИК
МЗКМ
МЗКТ
Михневский РМЗ
МоАЗ
Мозырский МЗ
МТЗ
ОЗП
Онежец
ПАО "ТЗА"
ППС Детва
Промтрактор
ПТЗ
Раскат
СпецАгрегат
ТВЭКС
ТТМ
УВЗ
Угличмаш
УЗТМ
ХТЗ
ЧЗКМ
ЧСДМ
ЧТЗ
ЭКСКО
ЭКСМАШ
ЮрМаш
Модель
Не выбрано
CA1400 (2016)
CA2500D (2016)
CA2500D (2018)
CA2500D-PD (2018)
CA250D (2011)
CA252D (2008)
CA2800D (2017)
CA3500D (2016)
CA4000D (2017)
CA4000D (2020)
CA4600D (2019)
CA5500D (2015)
CA610PD (2014)
CA6500 (2018)
CC1000 (2019)
CC1100CC (2015)
CC1200C Plus (2015)
CC1200C VI (2018)
CC1200CC (2018)
CC125 (2015)
CC1250 (2015)
CC1300 (2018)
CC1300C (2015)
CC1300C (2016)
CC2200 (2018)
CC2200 (2020)
CC2300C (2018)
CC3300 (2018)
CC4000 VI (2018)
CC4200C VI (2020)
CC5200C (2018)
CC6200 VI (2020)
CC800 (2019)
CC900 (2018)
CC900S (2018)
CG2300 (2018)
CP142 (2015)
CP275 (2014)
Dynapac CA1500 (2017)
Dynapac CA2500 (2012)
Dynapac CA302D (2008)
Dynapac CA302D (2010)
Dynapac CA5000D (2017)
Dynapac CC142 (2009)
Dynapac CC2200C (2015)
Dynapac CC224HF (2012)
Dynapac CC322 (2008)
Dynapac CC422 (2010)
Dynapac CC5200 (2014)
Dynapac CC5200 (2017)
Dynapac CC5200 (2017)
Dynapac CC5200 VI (2017)
Dynapac CC800 (2013)
Dynapac CC800 (2014)
Dynapac F1200C/CS (2018)
Dynapac F1200CS/CS (2018)
Dynapac F1800C (2018)
Dynapac F181C (2010)
Dynapac PL2000LS (2010)
Dynapac PL2000LS (2010)
Dynapac PL2000S (2010)
Dynapac PL2000S (2010)
Dynapac SCC1300 (2014)
Dynapac SD2500C (ч. 1) (2018)
Dynapac SD2500C (ч. 2) (2018)
Dynapac SD2550C (ч. 1) (2018)
Dynapac SD2550C (ч. 2) (2018)
F2500C (2018)
SD2550CS (2015)
Схема
>
Не выбрано
4812156265 Service kit 50h
4812159563 Service kit 50h Plus
4812156288 Service kit 250 / 750 h
4812159564 Service kit 250/750h Plus
4812156266 Service kit 500h
4812159565 Service kit 500h Plus
4812156268 Service kit 1000 h
4812159567 Service kit 1000h Plus
4812159572 Start-up kit
4700938909 Eccentric shaft kit
4700938893 Drum rotation kit
4700938915 Scraper kit (12 mm)
Scraper kit, Wheels
4700938887 Shock absorber kit, drum
4700938575 Steering hitch kit
Keys
Fuses
Frame, front To 0A014861 incl. 0A014893
Frame, rear To 0A014861 incl. 0A014893
Frame, front From 0A014862 excl. 0A014893 To 0A014957
Frame, rear From 0A014862 excl. 0A014893 To 0A014957
Frame, front From 0A014958
Frame, rear From 0A014958
4700358975 Steering hitch To 0A014837
4812120871 Steering hitch From 0A014838 To 0A014839
Scrapers, STD To 0A014957
Scrapers, wheels, std To 0A014957
Scraper From 0A014958
Scrapers, wheels From 0A014958
Scrapers, spring loaded option To 0A014957
Scrapers, spring loaded (option) From 0A014958
Sprinkler system
Drum To 0A014861 incl. 0A014893
Drum From 0A014862 excl. 0A014893
Wheels Std
Engine module
Engine room
4812110882 Diesel engine V2203 -34 kW
Exhaust system
Fan
Air filter
Water cooler To 0A015292
Water cooler From 0A015293
4812118164 Engine hood, cpl
4812115561 Casing
Fuel system To 0A013025
Fuel system From 0A013026
Cooler hoses
Air hoses
Fuel hoses
Propulsion system To 0A014957 incl. 0A014959 - 0A014960
Hydraulic pump, propulsion To 0A014957 incl. 0A014959 - 0A014960 4700372352
Control unit, cpl To 0A014957 incl. 0A014959 - 0A014960
4700357022 Hydraulic motor, propulsion, drum To 0A014957 incl. 0A014959 - 0A014960
4812110281 Junction block To 0A014957 incl. 0A014959 - 0A014960
4700375632 Hydraulic motor, propulsion To 0A014957 incl. 0A014959 - 0A014960
Propulsion system From 0A014958 excl. 0A014959 - 0A014960 To 0A015764
Propulsion system From 0A015765
Vibration system To 0A014957 incl. 0A014959 - 0A014960
4812112054 Hydraulic pump To 0A014957 incl. 0A014959 - 0A014960
4700391271 Vibration motor To 0A014957 incl. 0A014959 - 0A014960
Vibration system From 0A014958 excl. 0A014959 - 0A014960
Steering system
4700374603 Steering cylinder To 0A012768 incl. 0A012770 - 0A012993, 0A012995 - 0A012996, 0A012998 - 0A013002
4812120737 Hydraulic cylinder From 0A012769 excl. 0A012770 - 0A012993, 0A012995 - 0A012996, 0A012998 - 0A013002
Brake system To 0A014957 incl. 0A014959 - 0A014960
Hydraulic brake From 0A014958 excl. 0A014959 - 0A014960 To 0A016077
Hydraulic brake From 0A016078
Flow divider (option) To 0A015292
Flow divider From 0A015293 (option)
Electrical equipment
Horn module
Battery module
Battery disconnector
Cable harness To 0A014960
Cable harness From 0A014961
Working lights
Working lights front
Working light rear
Working light (option) rear
Casing rear
Cover plate rear
Rotating beacon for ROPS (option)
Rotating beacon for ROPS ignition controlled (option)
Rotating beacon, without rops (option)
Driving lights Front RH (option)
Driving lights Front RH (option)
Driving lights Rear (option)
Driving lights Front LH (option)
Driving lights Front LH (option)
Direction indicator (option)
Back-up alarm
Sprinkler Wheels (option)
Drivers platform
Platform module
Platform mount
Instrument panel module
Steering wheel
Control module
Standard ECU module
Forward-Reverse control module To 0A014351
4812113676 Forward and reverse control handle To 0A014351
Forward-reverse control left (option) To 0A014351
Cover plate, Dual F&R-control left side To 0A014351
Forward-reverse control, Right side, single From 0A014352 - 0A015764
4812121384 Forward & Reverse control From 0A014352 - 0A015764
Cover plate, Dual F&R-control, left side From 0A014352 - 0A015764
Forward-Reverse Control module, Dual lever (option) From 0A014352 - 0A015764
Forward-Reverse control module From 0A015765
Forward-Reverse Control module, Dual lever (option) From 0A015765
Throttle control, cpl
Arm rests, seat belt, laterally adjusting
Step (option)
Driver seat, Std
Driver seat, Std with armrests (option)
Driver seat, Luxury (option)
Driver's seat, without armrests
Seat belt module 3"
Seat belt module 2"
Rear view mirror (option)
ROPS, foldable (option)
Rops (option)
Canopy (option)
Decals
Fire extinguisher
Tool equipment
SMV-sign and Licence plate
Brake release, "high torque" drum drive
Brake release, propulsion motor
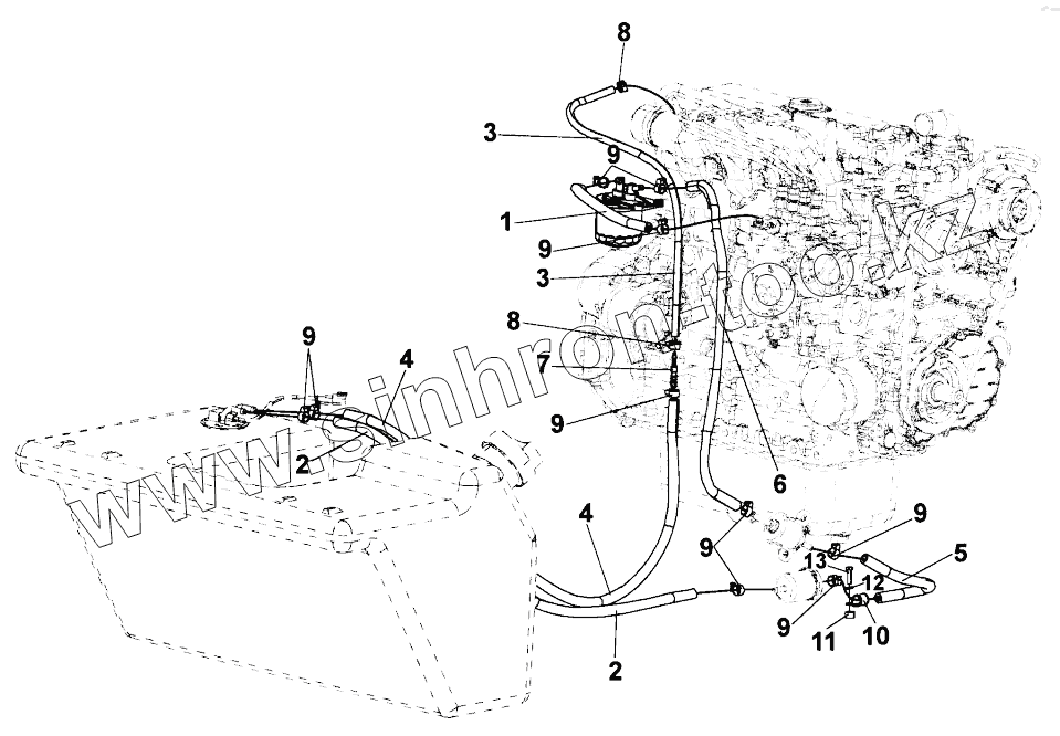
1
2
2
3
3
4
4
5
6
7
8
8
9
9
9
9
9
9
9
10
11
12
13
Позиция на иллюстрации
Заводской номер детали
Название детали
1
4700904984
Fuel hose
2
4700904984
Fuel hose
3
4700791422
Hose
4
4700904984
Fuel hose
5
4700904984
Fuel hose
6
4700904984
Fuel hose
7
4700791774
Hose connection
8
4700313075
Hose clamp
9
4700313108
Hose clamp
10
4700921116
Clamp
11
4700355869
Spacer sleeve
12
4700904229
Washer
13
4700500022
Hex. screw
Содержащиеся в справочниках-каталогах запасные части и детали не предлагаются к продаже, а носят исключительно информационный характер
Дополнительная информация
×
Название:
Номер:
Примечание: