Вернуться на главную
Поиск
Каталоги запчастей к технике
Спецтехника
DYNAPAC
CC125
Control module
Каталог запасных частей к технике: DYNAPAC CC125. Control module
zoom-in
zoom-out
enlarge
shrink
circle-right
circle-left
file-text2
info
cart
Тип техники
Не выбрано
Легковые автомобили
Грузовые автомобили и прицепы
Автобусы
Сельхозтехника
Спецтехника
Двигатели
Мототехника
Марка
Не выбрано
Ammann
BOMAG
CARMIX
CASE IH
Changlin
ChengGong
Dimex
Doosan
DYNAPAC
Foton
HAMM
Hidromek
Hitachi
Hyundai
JCB
JLG
John Deere
Komatsu
LIEBHERR
LiuGong
Lonking (LongGong)
Luneng
MANITOU
Mitsuber
New Holland
PENGPU
RM-Terex
SANY
SDLG
SEM
Shantui
Shehwa HBXG
Soosan
TIGARBO
VOGELE
Volvo
WAY
WIRTGEN
XCMG
XGMA
Xiamen
YTO
Yuchai
Zoomlion
Автокран
АЗСМ
Алтайлесмаш
Амкодор
АОМЗ
Атек
АТЗ
Балканкар Рекорд
БелАЗ
Беловеж
Борекс
Брянский Арсенал
Булат
ВЭКС
ГАЗ
Геомаш
Гидромаш
Донекс
Дормаш
Дормашина
Дорэлектромаш
ДЭЗ
ЕлАЗ
ЗЗГТ
Ижнефтемаш
Канаш-электрокар
КЗКТ
ККЗ
Клевер
Клинцовский автокрановый завод
КМЗ
КМЗ 1 Мая
Ковровец
Коммаш
Кранэкс
КЭЗ
КЭМЗ
ЛЗА
МАЗ
МЗИК
МЗКМ
МЗКТ
Михневский РМЗ
МоАЗ
Мозырский МЗ
МТЗ
ОЗП
Онежец
ПАО "ТЗА"
ППС Детва
Промтрактор
ПТЗ
Раскат
СпецАгрегат
ТВЭКС
ТТМ
УВЗ
Угличмаш
УЗТМ
ХТЗ
ЧЗКМ
ЧСДМ
ЧТЗ
ЭКСКО
ЭКСМАШ
ЮрМаш
Модель
Не выбрано
CA1400 (2016)
CA2500D (2016)
CA2500D (2018)
CA2500D-PD (2018)
CA250D (2011)
CA252D (2008)
CA2800D (2017)
CA3500D (2016)
CA4000D (2017)
CA4000D (2020)
CA4600D (2019)
CA5500D (2015)
CA610PD (2014)
CA6500 (2018)
CC1000 (2019)
CC1100CC (2015)
CC1200C Plus (2015)
CC1200C VI (2018)
CC1200CC (2018)
CC125 (2015)
CC1250 (2015)
CC1300 (2018)
CC1300C (2015)
CC1300C (2016)
CC2200 (2018)
CC2200 (2020)
CC2300C (2018)
CC3300 (2018)
CC4000 VI (2018)
CC4200C VI (2020)
CC5200C (2018)
CC6200 VI (2020)
CC800 (2019)
CC900 (2018)
CC900S (2018)
CG2300 (2018)
CP142 (2015)
CP275 (2014)
Dynapac CA1500 (2017)
Dynapac CA2500 (2012)
Dynapac CA302D (2008)
Dynapac CA302D (2010)
Dynapac CA5000D (2017)
Dynapac CC142 (2009)
Dynapac CC2200C (2015)
Dynapac CC224HF (2012)
Dynapac CC322 (2008)
Dynapac CC422 (2010)
Dynapac CC5200 (2014)
Dynapac CC5200 (2017)
Dynapac CC5200 (2017)
Dynapac CC5200 VI (2017)
Dynapac CC800 (2013)
Dynapac CC800 (2014)
Dynapac F1200C/CS (2018)
Dynapac F1200CS/CS (2018)
Dynapac F1800C (2018)
Dynapac F181C (2010)
Dynapac PL2000LS (2010)
Dynapac PL2000LS (2010)
Dynapac PL2000S (2010)
Dynapac PL2000S (2010)
Dynapac SCC1300 (2014)
Dynapac SD2500C (ч. 1) (2018)
Dynapac SD2500C (ч. 2) (2018)
Dynapac SD2550C (ч. 1) (2018)
Dynapac SD2550C (ч. 2) (2018)
F2500C (2018)
SD2550CS (2015)
Схема
>
Не выбрано
Service Kit
Service Kit-50Hrs
Service kit 50h Plus
Service kit 250/750h
Service kit-250/750Hrs plus
Service kit-500Hrs
Service kit 500h Plus
Service kit 1000h
Service kit 1000h Plus
Start Up Kit
Repair kit
4700938908 Eccentric shaft kit
Scapper kit
4700938892 Drum rotation kit
Shock absorber kit
4812120871 Steering hitch kit
Frame
4812120871 Steering hitch
Scraper
Sprinkler system
Drum
Engine Module
Diesel engine
Exhaust system
Fan shroud module
Air Filter model
Water cooler
Engine hood
Casing
Fuel System
Propulsion system
Input shaft & control
Control Oriffice and Housing
Charge pump & Special drive
Auxiliary mounting,pressure relief valve, loop bypass & Displacement limitter
Seal kit
Other sub assembly
Brake sub assembly
Cylinder Block
Cover assembly
Seal kit-Propulsion motor
Vibration system
Vibration block
Steering system
Hydraulic brake
Hydraulic filter
Electrical Equipment
Battery module
Battery disconnector
Wiring Harness kit
Horn module
Control module
ECU module
Instrument Panel Module
Driving light mount
Driving light front
Driving light rear
Back-up alarm
License plate module
Platform module
Drivers compartment
Forward & reverse lever
Throttle lever
Canopy assembly
Decal - 1
Decal - 2
Working Light
Rotating beacon for ROPS (option)
Mirror assembly
ROPS, foldable (Option)
Tool Equipment
Brake release, propulsion motor Poclain
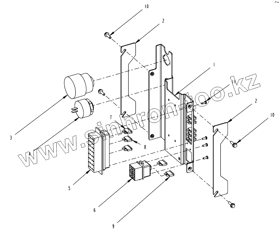
1
2
2
3
4
5
6
7
8
9
10
10
11
Позиция на иллюстрации
Заводской номер детали
Название детали
1
4812104308
Distribution Plate
2
4812117864
Shim
3
4812103985
Ignition switch
4
4700385599
Buzzer
5
4700791185
Fuse box
6
4700792091
Fuse holder
7
4700901228
Fuse
8
4700901227
Fuse
9
4700903741
Fuse
10
4812117868
Screw
11
4700901767
Screw
Содержащиеся в справочниках-каталогах запасные части и детали не предлагаются к продаже, а носят исключительно информационный характер
Дополнительная информация
×
Название:
Номер:
Примечание: