Вернуться на главную
Поиск
Каталоги запчастей к технике
Спецтехника
DYNAPAC
CC1200CC
Fuel hoses
Каталог запасных частей к технике: DYNAPAC CC1200CC. Fuel hoses
zoom-in
zoom-out
enlarge
shrink
circle-right
circle-left
file-text2
info
cart
Тип техники
Не выбрано
Легковые автомобили
Грузовые автомобили и прицепы
Автобусы
Сельхозтехника
Спецтехника
Двигатели
Мототехника
Марка
Не выбрано
Ammann
BOMAG
CARMIX
CASE IH
Changlin
ChengGong
Dimex
Doosan
DYNAPAC
Foton
HAMM
Hidromek
Hitachi
Hyundai
JCB
JLG
John Deere
Komatsu
LIEBHERR
LiuGong
Lonking (LongGong)
Luneng
MANITOU
Mitsuber
New Holland
PENGPU
RM-Terex
SANY
SDLG
SEM
Shantui
Shehwa HBXG
Soosan
TIGARBO
VOGELE
Volvo
WAY
WIRTGEN
XCMG
XGMA
Xiamen
YTO
Yuchai
Zoomlion
Автокран
АЗСМ
Алтайлесмаш
Амкодор
АОМЗ
Атек
АТЗ
Балканкар Рекорд
БелАЗ
Беловеж
Борекс
Брянский Арсенал
Булат
ВЭКС
ГАЗ
Геомаш
Гидромаш
Донекс
Дормаш
Дормашина
Дорэлектромаш
ДЭЗ
ЕлАЗ
ЗЗГТ
Ижнефтемаш
Канаш-электрокар
КЗКТ
ККЗ
Клевер
Клинцовский автокрановый завод
КМЗ
КМЗ 1 Мая
Ковровец
Коммаш
Кранэкс
КЭЗ
КЭМЗ
ЛЗА
МАЗ
МЗИК
МЗКМ
МЗКТ
Михневский РМЗ
МоАЗ
Мозырский МЗ
МТЗ
ОЗП
Онежец
ПАО "ТЗА"
ППС Детва
Промтрактор
ПТЗ
Раскат
СпецАгрегат
ТВЭКС
ТТМ
УВЗ
Угличмаш
УЗТМ
ХТЗ
ЧЗКМ
ЧСДМ
ЧТЗ
ЭКСКО
ЭКСМАШ
ЮрМаш
Модель
Не выбрано
CA1400 (2016)
CA2500D (2016)
CA2500D (2018)
CA2500D-PD (2018)
CA250D (2011)
CA252D (2008)
CA2800D (2017)
CA3500D (2016)
CA4000D (2017)
CA4000D (2020)
CA4600D (2019)
CA5500D (2015)
CA610PD (2014)
CA6500 (2018)
CC1000 (2019)
CC1100CC (2015)
CC1200C Plus (2015)
CC1200C VI (2018)
CC1200CC (2018)
CC125 (2015)
CC1250 (2015)
CC1300 (2018)
CC1300C (2015)
CC1300C (2016)
CC2200 (2018)
CC2200 (2020)
CC2300C (2018)
CC3300 (2018)
CC4000 VI (2018)
CC4200C VI (2020)
CC5200C (2018)
CC6200 VI (2020)
CC800 (2019)
CC900 (2018)
CC900S (2018)
CG2300 (2018)
CP142 (2015)
CP275 (2014)
Dynapac CA1500 (2017)
Dynapac CA2500 (2012)
Dynapac CA302D (2008)
Dynapac CA302D (2010)
Dynapac CA5000D (2017)
Dynapac CC142 (2009)
Dynapac CC2200C (2015)
Dynapac CC224HF (2012)
Dynapac CC322 (2008)
Dynapac CC422 (2010)
Dynapac CC5200 (2014)
Dynapac CC5200 (2017)
Dynapac CC5200 (2017)
Dynapac CC5200 VI (2017)
Dynapac CC800 (2013)
Dynapac CC800 (2014)
Dynapac F1200C/CS (2018)
Dynapac F1200CS/CS (2018)
Dynapac F1800C (2018)
Dynapac F181C (2010)
Dynapac PL2000LS (2010)
Dynapac PL2000LS (2010)
Dynapac PL2000S (2010)
Dynapac PL2000S (2010)
Dynapac SCC1300 (2014)
Dynapac SD2500C (ч. 1) (2018)
Dynapac SD2500C (ч. 2) (2018)
Dynapac SD2550C (ч. 1) (2018)
Dynapac SD2550C (ч. 2) (2018)
F2500C (2018)
SD2550CS (2015)
Схема
>
Не выбрано
4812156265 Service kit 50h
4812159563 Service kit 50h Plus
4812156288 Service kit 250 / 750 h
4812159564 Service kit 250/750h Plus
4812156266 Service kit 500h
4812159565 Service kit 500h Plus
4812156267 Service kit 1000 h
4812159566 Service kit 1000h Plus
4812159571 Start-up kit
4700938908 Eccentric shaft kit
4700938892 Drum rotation kit
4700938885 Shock absorber kit, drum
4700938575 Steering hitch kit
4812159961 Scraper kit
Keys
Fuses
Frame, front To 0A014775
Frame, rear To 0A014775
Frame, front From 0A014776
Frame, rear From 0A014776
Scraper
Scrapers, spring loaded (option)
Sprinkler system
Towing device (option)
4700358975 Steering hitch (To 0A014837 incl. 0A014840-0A014888)
4812120871 Steering hitch (From 0A014838 excl. 0A014840-0A014888)
Protective plate, front lights (Option)
Drum
Engine room
Engine module
4812110881 Diesel engine Kubota D1703 M-E3B (26 kW)
Exhaust system
Fan
Air filter
Water cooler To 0A015094
Water cooler From 0A015095
4812118163 Engine hood, cpl To 0A015756
Engine hood, cpl From 0A015757-xA018328
Engine hood, cpl From xA018329
Casing
Cooler hoses
Air hoses
Fuel hoses
Fuel system
Propulsion system To A017368
Hydraulic pump To A017368 4812119250
Hydraulic motor To A017368 4812120089
Propulsion system From A017369
4812120558 Hydraulic motor From A017369
4812120091 Hydraulic pump From A017369
Vibration system To 0A014951
4812160957 Seal kit To 0A014951
Vibration system From 0A014952
Steering system
4812120737 Hydraulic cylinder
Brake system To A017368
Brake system From A017369
Flow divider (option)
Vibration shut-off Front drum (option)
Rotating group, valves, charge pump
Horn module
Battery module
Battery disconnector
Cable harness To 0A015028 incl. 0A015030, 0A015032-0A015033, 0A015035-0A015036, 0A015038-0A015041, 0A015043-0A015044
Cable harness From 0A015029 excl. 0A015030, 0A015032-0A015033, 0A015035-0A015036, 0A015038-0A015041, 0A015043-0A015044 To xA019769
Cable harness From xA019770
Working lights
Working lights front
Working light rear
Working light (option) rear
Casing rear
Cover plate rear
Rotating beacon for ROPS (option)
Back-up alarm
Drivers platform
Platform module To 0A013742 incl. 0A013744-0A013745, 0A013747-0A013749, 0A013751, 0A013753-0A013760
Platform mount To 0A013742 incl. 0A013744-0A013745, 0A013747-0A013749, 0A013751, 0A013753-0A013760
Platform module From 0A013743 excl. 0A013744-0A013745, 0A013747-0A013749, 0A013751, 0A013753-0A013760
Platform module From 0A013743 excl. 0A013744-0A013745, 0A013747-0A013749, 0A013751, 0A013753-0A013760
Platform module From xx019397
Platform module From xx019397
Instrument panel module
Steering wheel
Control module
Standard ECU module To xA019769
Standard ECU From xA019770
Forward-Reverse control module To A015617
4812121384 Forward & Reverse control To A015617
Cover plate, Dual F&R-control, left side To A015617
4812124935 Modification kit control cable To A015617
Forward-Reverse control module From A015618 To A017368
4812122939 Forward & Reverse control From A015618 To A017368
Forward-Reverse control module From A017369
Throttle control, cpl
Throttle control cpl, Dual frequency To 0A014939
Throttle control cpl, Dual frequency (option) From 0A014940
Seat laterally adjusting
Driver's seat, without armrests
Seat belt module 3dm
Seat belt module 2dm
Rops (option)
ROPS, foldable
Decals
Plain Dynapac decals, kit
FleetLink module
4812013038 GPS module
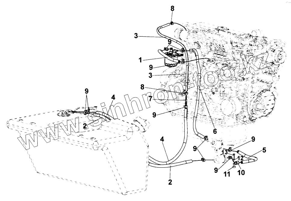
1
2
2
3
3
4
4
5
6
7
8
8
9
9
9
9
9
9
9
10
11
12
13
Позиция на иллюстрации
Заводской номер детали
Название детали
1
4700904984
Fuel hose
2
4700904984
Fuel hose
3
4700791422
Hose
4
4700904984
Fuel hose
5
4700904984
Fuel hose
6
4700904984
Fuel hose
7
4700791774
Hose connection
8
4700313075
Hose clamp
9
4700313108
Hose clamp
10
4700921116
Clamp
11
4700355869
Spacer sleeve
12
4700904229
Washer
13
4700500022
Hex. screw
Содержащиеся в справочниках-каталогах запасные части и детали не предлагаются к продаже, а носят исключительно информационный характер
Дополнительная информация
×
Название:
Номер:
Примечание: