Вернуться на главную
Поиск
Каталоги запчастей к технике
Спецтехника
DYNAPAC
CA6500
Display unit
Каталог запасных частей к технике: DYNAPAC CA6500. Display unit
zoom-in
zoom-out
enlarge
shrink
circle-right
circle-left
file-text2
info
cart
Тип техники
Не выбрано
Легковые автомобили
Грузовые автомобили и прицепы
Автобусы
Сельхозтехника
Спецтехника
Двигатели
Мототехника
Марка
Не выбрано
Ammann
BOMAG
CARMIX
CASE IH
Changlin
ChengGong
Dimex
Doosan
DYNAPAC
Foton
HAMM
Hidromek
Hitachi
Hyundai
JCB
JLG
John Deere
Komatsu
LIEBHERR
LiuGong
Lonking (LongGong)
Luneng
MANITOU
Mitsuber
New Holland
PENGPU
RM-Terex
SANY
SDLG
SEM
Shantui
Shehwa HBXG
Soosan
TIGARBO
VOGELE
Volvo
WAY
WIRTGEN
XCMG
XGMA
Xiamen
YTO
Yuchai
Zoomlion
Автокран
АЗСМ
Алтайлесмаш
Амкодор
АОМЗ
Атек
АТЗ
Балканкар Рекорд
БелАЗ
Беловеж
Борекс
Брянский Арсенал
Булат
ВЭКС
ГАЗ
Геомаш
Гидромаш
Донекс
Дормаш
Дормашина
Дорэлектромаш
ДЭЗ
ЕлАЗ
ЗЗГТ
Ижнефтемаш
Канаш-электрокар
КЗКТ
ККЗ
Клевер
Клинцовский автокрановый завод
КМЗ
КМЗ 1 Мая
Ковровец
Коммаш
Кранэкс
КЭЗ
КЭМЗ
ЛЗА
МАЗ
МЗИК
МЗКМ
МЗКТ
Михневский РМЗ
МоАЗ
Мозырский МЗ
МТЗ
ОЗП
Онежец
ПАО "ТЗА"
ППС Детва
Промтрактор
ПТЗ
Раскат
СпецАгрегат
ТВЭКС
ТТМ
УВЗ
Угличмаш
УЗТМ
ХТЗ
ЧЗКМ
ЧСДМ
ЧТЗ
ЭКСКО
ЭКСМАШ
ЮрМаш
Модель
Не выбрано
CA1400 (2016)
CA2500D (2016)
CA2500D (2018)
CA2500D-PD (2018)
CA250D (2011)
CA252D (2008)
CA2800D (2017)
CA3500D (2016)
CA4000D (2017)
CA4000D (2020)
CA4600D (2019)
CA5500D (2015)
CA610PD (2014)
CA6500 (2018)
CC1000 (2019)
CC1100CC (2015)
CC1200C Plus (2015)
CC1200C VI (2018)
CC1200CC (2018)
CC125 (2015)
CC1250 (2015)
CC1300 (2018)
CC1300C (2015)
CC1300C (2016)
CC2200 (2018)
CC2200 (2020)
CC2300C (2018)
CC3300 (2018)
CC4000 VI (2018)
CC4200C VI (2020)
CC5200C (2018)
CC6200 VI (2020)
CC800 (2019)
CC900 (2018)
CC900S (2018)
CG2300 (2018)
CP142 (2015)
CP275 (2014)
Dynapac CA1500 (2017)
Dynapac CA2500 (2012)
Dynapac CA302D (2008)
Dynapac CA302D (2010)
Dynapac CA5000D (2017)
Dynapac CC142 (2009)
Dynapac CC2200C (2015)
Dynapac CC224HF (2012)
Dynapac CC322 (2008)
Dynapac CC422 (2010)
Dynapac CC5200 (2014)
Dynapac CC5200 (2017)
Dynapac CC5200 (2017)
Dynapac CC5200 VI (2017)
Dynapac CC800 (2013)
Dynapac CC800 (2014)
Dynapac F1200C/CS (2018)
Dynapac F1200CS/CS (2018)
Dynapac F1800C (2018)
Dynapac F181C (2010)
Dynapac PL2000LS (2010)
Dynapac PL2000LS (2010)
Dynapac PL2000S (2010)
Dynapac PL2000S (2010)
Dynapac SCC1300 (2014)
Dynapac SD2500C (ч. 1) (2018)
Dynapac SD2500C (ч. 2) (2018)
Dynapac SD2550C (ч. 1) (2018)
Dynapac SD2550C (ч. 2) (2018)
F2500C (2018)
SD2550CS (2015)
Схема
>
Не выбрано
4812156993 Service kit, 50h Plus
4812156994 Service kit, 500h
4812157363 Service kit, 500h Plus
4812156995 Service kit, 1000h
4812157277 Service kit, 1000h Plus
4812157254 Start up kit
4812158053 Service kit, 2000h
4812157255 Service kit, 2000h Plus
Eccentric shaft kit
4812157275 Drum rotation kit
4812157276 Shock absorber kit, drum
Fuses
Keys
Frame, front
4812117507 Steering hitch, cpl
Scraper module Hardox
Scraper module Rubber
Scraper assy
Scraper module PD Hardox
Scraper module PD Heavy duty
Scraper mount
Frame, rear
Frame rear module
Cover assembly
Step module
Step assy
Tool box module, Option
Engine structure
Engine hood module
Engine hood mount
4812118994 Lock handle, cpl
Fender module
Hinge module
Gas spring module
Safety link module
Drum, cpl
4812111831 Drum gear, cpl
4812157393 Drum cartridge, vibration side (D/PD version)
4812157394 Drum cartridge, vibration side (VM/VP 3-class)
4812157784 Drum cartridge with shaft nut, vibration side (D/PD version)
4812157785 Drum cartridge with shaft nut, vibration side (VM/VP 3-class)
4812157390 Drum cartridge, drive side (D/PD version)
4812157391 Drum cartridge, drive side (VM/VP 3-class)
Tooth wheel module
Vibration motor adapter
Engine
Engine
Diesel engine
Belt guard module
Bracket module
Air cleaner
Air cleaner module
Cooling system
Cooler stand module
Hose kit
Hoses
Fuel system
Fuel tank module
Fuel tank
Brackets assy
Hoses
Draining module
Exhaust system
Expansion tank module
Rear axle and wheels
4812111832 Rear axle Limited-Slip
Differential
Central housing and brakes
Hub reduction
4812111833 Rear axle No-Spin
Differential with no-spin
Differential housing and brakes
Planet gear
Hydraulic system, drum
Hydraulic motor
4812116969 Hydraulic motor
Rotary group
4812157180 Flush & boost pressure valve
Lock ring
Hydraulic motor
4812112200 Hydraulic motor
Loop flushing
Hydraulic system, drum Anti-spin option
Hydraulic motor
4812112202 Drum motor
Drum motor. Front section
Loop flushing
Drum motor. Rear section
Hydraulic system, rear axle
Hydraulic motor
4812112211 Rear axle motor
Loop flusing
4812122932 Hydraulic motor
Hose holder
Hydraulic system, rear axle Anti-spin option
Hydraulic motor
4812112213 Rear axle motor
Front section
Loop flushing
Rear section
Hydraulic system, oil tank
Hydraulic oil tank assembly
Hydraulic valve module
4812120840 Hydraulic valve
4812112238 Hydraulic valve
Hose holder assy kit
Fan module, front
4812117797 Hydraulic motor
Fan module, rear
4812117796 Hydraulic motor
Hydraulic system, engine room
Hydraulic pump module
4812112171 Hydraulic pump
End cap, cpl
Hydraulic pump module
4812112175 Hydraulic pump
Rotary group
Hydraulic adjustment
4/3 Pilot valve
Hydraulic oil filter assy
Hydraulic pump module
4812118150 Hydraulic pump, steering
Hydraulic system, engine room Adjustable frequency, Eco opti
Hydraulic pump
4812112181 Hydraulic pump
Rotary group
Control hydraulic
Sub plate
Cover with accessories
Control module
Hydraulic pump module, Eco
4812118151 Hydraulic pump
Hydraulic system, frame rear
Connector kit
Connector kit
Hydraulic system, steering
Hydraulic cylinder
4812121947 Hydraulic cylinder
4812120830 Hydraulic cylinder
Steering valve module
Hydraulic hoses, steering
Emergency steering option
4812112188 Hydraulic pump Emergency steering unit
4812112236 Hydraulic valve
Electric cables, power supply, 1-pole
Battery module
Battery disconnector module
Electric cables, power supply, 2-pole, option
Battery disconnector, 2-pole
Electric cables, engine ECU, horn, back-up alarm
ECU, inclination sensor, power converter
Standard ECU assembly
Power converter module
Inclination sensor module
Inclination sensor module
Horn module
Back-up alarm module
Back-up alarm module, Quacker
Bracket module
Cable harness kit Power supply cab
Driving & side direction lights, number plate light, option
Steering column switch module
Cable harness kit
Registration plate light module
Registration plate light
Holder, Registration plate light
Reversing light module
DCA/GPS equipment module, option
Holder
GPS equipment module
GPS equipment assy
Computer
Tachograph, option
Holder assy
Power supply module
Speed sensor, frequency sensor, option
Pulse sensor module (6-pol)
Pre-heater installation, option
Rotating beacon, working light, option
Rotating beacon module
Bracket, Rotating beacon
Working light module H3
Cable harness, emergency steering, option
Displacement shift
Compaction meter, option
Power supply
External emergency stop, option
Platform, rops
4812120544 Platform with 4-post ROPS
Basic kit Rops, roof, front handrail
Rear cover
Handrail
Cab, basic kit
Manual box
Decals basic kit
Cab symmetric module
4812119364 Cab, cpl Comfort
Screens
4812115202 Cab door, cpl
4812115200 Sliding screen, left hand
Windshield wiper
Roof
Heater assy
Hose kit heater
Cab cable harness
Cab Interior
Heater controls
Cab, electrical equipment
Emergency hammer, hook
Cab, rear cover
Cab, front cover
Floor mat
Step light, front wiper switches
Air channel
Sun-blind, inner light
4812119365 Cab, cpl Basic
Cab, rear cover
Cab, front cover
Wiper switch, front
Car stereo module, option
Rear view mirror
Rear view mirror module
Hose assy kit, heater
Drivers seat
Seat frame structure
4700391163 Steering column
Seat frame adapter module, rotating
Seat frame adapter module, fixed
Floor cassette module
Seat comfort, fabric suspensioned
Seat, galon suspensioned
Seat belt 2"
Seat belt 3"
Seat belt 2" with reminder
Seat belt 3" with reminder
Control module
Forward reverse control module
Display unit
Reading light
Control panel cover
Decals
Decals
Plain Dynapac decals, kit
Air conditioning
Drying filter module
4812114257 Drying filter assy
Condensor assembly
ACC module
4812113624 ACC kit
AC module
4812113623 Evaporator, cpl
Hose assy kit for AC
4812114973 Compressor kit
Compressor module AC
Hose assy kit for AC
Level sensor module, option
Fire extinguisher/First Aid Cushion
Fire extinguisher
SMV-sign
Cooling box module
Lunch box
Dyn@Link module
4812013038 GPS module
Compaction meter (DCM)
Dyn@lyzer
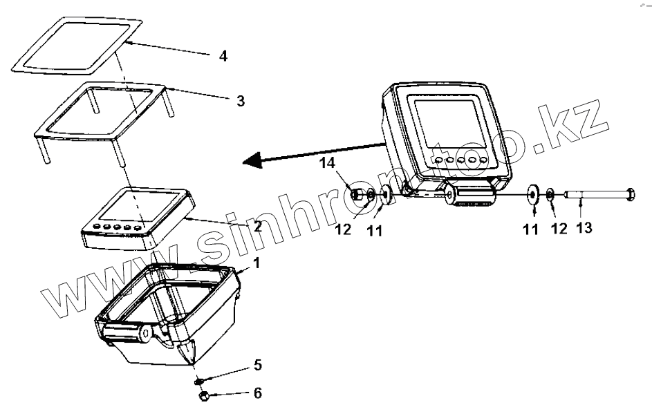
1
2
3
4
5
6
11
11
12
12
13
14
Позиция на иллюстрации
Заводской номер детали
Название детали
1
4700392717
Display holder
2
4812113786
Display unit
3
4700392719
Cover
4
4700393094
Decal
5
4700904228
Steel plain washer
6
4700586002
Lock nut
11
4700903662
Washer
12
4700606004
Plastic washer
13
4700500115
Screw
14
4700586003
Hexagon lock nut
Содержащиеся в справочниках-каталогах запасные части и детали не предлагаются к продаже, а носят исключительно информационный характер
Дополнительная информация
×
Название:
Номер:
Примечание: