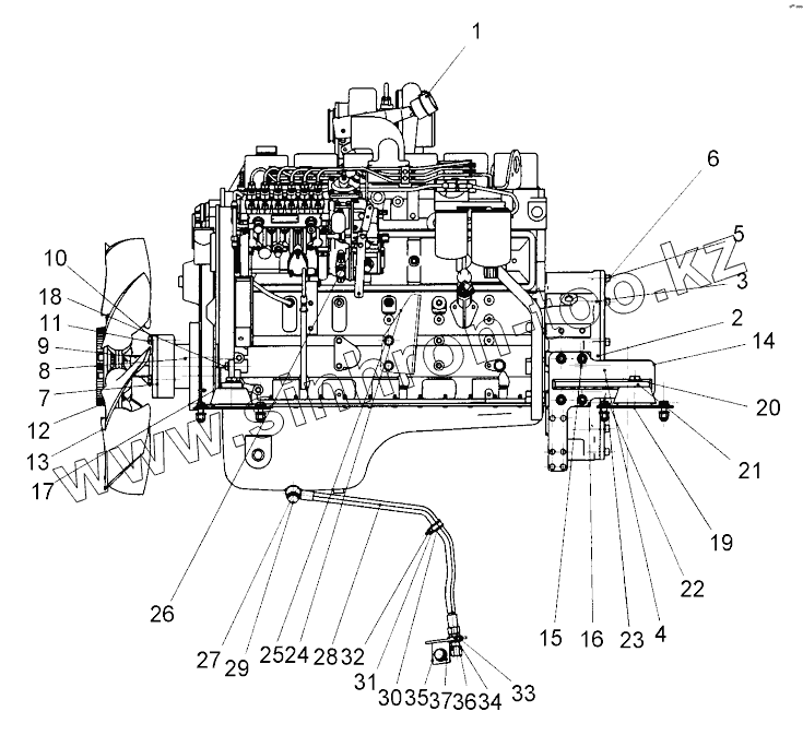
Каталог запасных частей к технике: DYNAPAC CA610PD. 4812269792 Engine assy
1
2
3
4
5
6
7
8
9
10
11
12
13
14
15
16
17
18
19
20
21
22
23
24
25
26
27
28
29
30
31
32
33
34
35
36
37
| Позиция на иллюстрации | Заводской номер детали | Название детали | |
|---|---|---|---|
| 1 | 4812269790 | Diesel engine | |
| 2 | 4700371620 | Coupling | |
| 3 | 4811000424 | Hexagon socket head cap screw M | |
| 4 | 4700372772 | Bracket | |
| 5 | 4700904230 | Washer | |
| 6 | 4700508029 | Cylinder screw | |
| 7 | 4700382391 | Connector | |
| 8 | 4700791306 | Screw | |
| 9 | 4700397217 | Fan spacer | |
| 10 | 4700904231 | Washer | |
| 11 | 4700925519 | Screw | |
| 12 | 4700397284 | Fan clutch | |
| 13 | 4700397285 | Fan | |
| 14 | 4700378210 | Engine bracket | |
| 15 | 4700508079 | Cylinder screw | |
| 16 | 4700378213 | Engine bracket | |
| 17 | 4700378211 | Engine bracket | |
| 18 | 4700500194 | Hex. screw | |
| 19 | 4700387128 | Shock absorber | |
| 20 | 4700904232 | Steel plain washer | |
| 21 | 4700500070 | Hex. screw | |
| 22 | 4700904703 | Plain washer | |
| 23 | 4700586019 | Lock nut | |
| 24 | 4812269811 | Flexible shaft plate | |
| 25 | 4700500036 | Screw | |
| 26 | 4812269810 | Throttle control handle | |
| 27 | 4700330331 | Washer | |
| 28 | 4700389138 | Hydraulic hose | |
| 29 | 4700904292 | Hollow screw | |
| 30 | 4700921063 | Clamp | |
| 31 | 4700904228 | Steel plain washer | |
| 32 | 4700500013 | Hex. screw | |
| 33 | 4700230515 | Connector | |
| 34 | 4700904233 | Steel plain washer | |
| 35 | 4700388855 | Bracket | |
| 36 | 4700330383 | Cap JIC, steel | |
| 37 | 4700500154 | Screw |
Содержащиеся в справочниках-каталогах запасные части и детали не предлагаются к продаже, а носят исключительно информационный характер