Каталог запасных частей к технике: DYNAPAC CA610PD. 4700380146 Hydraulic motor, vibration
1
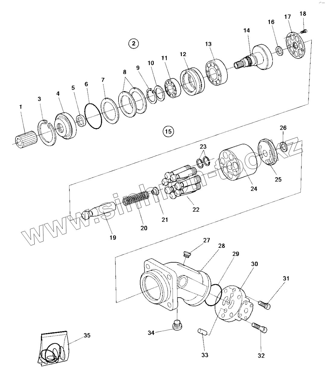
2
3
4
5
6
7
8
9
10
10
11
12
13
14
15
16
17
18
19
20
21
22
22
22
22
23
24
25
26
27
28
29
30
31
32
33
34
35
| Позиция на иллюстрации | Заводской номер детали | Название детали | |
|---|---|---|---|
| 1 | 4700340863 | Splined sleeve | |
| 2 | 4700380079 | Hydraulic motor, vibration | |
| 3 | Snap ring | Snap ring | |
| 4 | 4812156092 | Cover | |
| 5 | 4700945880 | Seal ring | |
| 6 | O-ring | O-ring | |
| 7 | 4700902265 | Shim | |
| 8 | 4700902264 | Shim | |
| 9 | Retaining ring | Retaining ring | |
| 10 | Back-up plate | Back-up plate | |
| 11 | 4700902261 | Bearing | |
| 12 | Bearing ring | Bearing ring | |
| 13 | 4700902260 | Bearing | |
| 14 | Shaft | Shaft | |
| 15 | Rotary group, hydraulic section | Rotary group, hydraulic section | |
| 16 | Washer | Washer | |
| 17 | Retaining plate | Retaining plate | |
| 18 | Screw | Screw | |
| 19 | Pin | Pin | |
| 20 | Spring | Spring | |
| 21 | Spring collar | Spring collar | |
| 22 | Piston | Piston | |
| 22 | Piston | Piston | |
| 23 | Sealing ring | Sealing ring | |
| 24 | Cylinder | Cylinder | |
| 25 | Pressure plate | Pressure plate | |
| 26 | Washer | Washer | |
| 27 | Screw | Screw | |
| 28 | Housing | Housing | |
| 29 | O-ring | O-ring | |
| 30 | Plate | Plate | |
| 31 | Screw | Screw | |
| 32 | Screw | Screw | |
| 33 | Pin | Pin | |
| 34 | 4700937259 | Screw | |
| 35 | 4700937675 | Seal kit |
Содержащиеся в справочниках-каталогах запасные части и детали не предлагаются к продаже, а носят исключительно информационный характер