Каталог запасных частей к технике: Doosan SOLAR 160W-V. CYLINDER HEAD
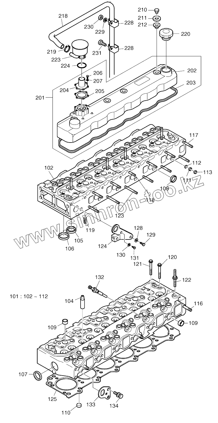
101
101
101
101
102
102
102
102
102
102
102
102
102
104
104
105
105
106
106
107
108
108
109
109
110
110
111
111
112
112
113
116
117
118
119
120
120
121
122
122
123
124
125
125
128
129
130
131
132
133
134
201
201
201
201
201
202
202
203
203
203
204
205
206
207
210
211
212
212
212
218
218
218
219
220
220
223
223
224
228
228
229
230
231
| Позиция на иллюстрации | Заводской номер детали | Название детали | |
|---|---|---|---|
| 101 | 65.03101-6069B | CYLINDER HEAD ASS'Y | |
| 101 | 65.03101-6069 | Cylinder head assy | |
| 101 | 65.03101-6069D | Ensemble culasse | |
| 101 | 65.03101-6069C | CYLINDER HEAD ASS'Y | |
| 102 | 65.03101-1038 | Head, cylinder | |
| 102 | 65.03101-1038F | Head, cylinder | |
| 102 | 65.03101-1038E | HEAD;CYLINDER | |
| 104 | 65.03201-1013 | GUIDE;VALVE | |
| 104 | 65.03201-1013A | GUIDE;VALVE | |
| 105 | 65.03203-1020 | SEAT;EXHAUST VALVE | |
| 105 | 65.03203-1054 | SEAT;EXHAUST VALVE | |
| 106 | 65.03203-1019 | SEAT;INLET VALVE | |
| 106 | 65.03203-1053 | SEAT;INLET VALVE | |
| 107 | 65.90302-0015 | PLUG;CORE(NEAR FACE) | |
| 108 | 65.90302-0016 | PLUG;CORE(EXHAUST MAIN) | |
| 108 | 65.90302-0030 | PLUG;CORE(EXHAUST MAIN) | |
| 109 | 65.90302-0019B | PLUG;CORE | |
| 110 | 06.15090-2313 | PLUG;CORE | |
| 110 | 65.90302-0045 | PLUG;CORE | |
| 111 | 65.90302-0027 | PLUG;CORE | |
| 111 | 06.15090-2305 | PLUG;CORE | |
| 112 | 65.90302-0011 | PLUG;DRILLED PASS | |
| 113 | 65.90302-0017 | PLUG;WATER JET CORE | |
| 116 | 06.06225-0706 | BOLT;STUD M8X25 | |
| 117 | 06.06125-8717 | BOLT;STUD M8X75 | |
| 118 | 06.06125-8709 | BOLT;STUD M8X35 | |
| 119 | 65.91710-0004 | RING;STOPPER | |
| 120 | 65.90021-0002 | BOLT;CYLINDER HEAD | |
| 120 | 65.90021-0002 | BOLT;CYLINDER HEAD | |
| 121 | 65.90021-0003 | BOLT;CYLINDER HEAD | |
| 122 | 65.90021-0004 | BOLT;CYLINDER HEAD | |
| 122 | 65.90021-0004 | BOLT;CYLINDER HEAD | |
| 123 | 06.06125-8723 | BOLT;STUD M8X110 | |
| 124 | 65.19202-5005 | HOOK;LIFTING | |
| 125 | 65.03901-0066 | GASKET;CYLINDER HEAD | |
| 125 | 65.03901-0066A | GASKET;CYLINDER HEAD | |
| 128 | 06.16731-2110 | Washer | |
| 129 | 06.01733-4409 | BOLT;HEX M14X1.5X25 | |
| 130 | 06.16731-2108 | Washer | |
| 131 | 06.01733-4208 | BOLT M10X1.25X22 | |
| 132 | 65.26815-0002 | PLUG;DUMMY | |
| 133 | 65.19202-0005 | HOOK;LIFTING | |
| 134 | 06.01943-3213 | BOLT ASS'Y M10X1.25X20 | |
| 201 | 65.03401-6057A | CYLINDER HEAD COVER ASS'Y | |
| 201 | 65.03401-6064 | CYLINDER HEAD COVER ASS'Y | |
| 201 | 65.03401-6097 | Cylinder head cover assy | |
| 201 | 65.03401-6097B | Cylinder head cover assy | |
| 201 | 150106-00006 | Cylinder head cover assy | |
| 202 | 65.03401-6094 | Cover, cyl. Head | |
| 202 | 65.03401-6094A | Cover, cyl. Head | |
| 203 | 65.03905-0002B | GASKET;CYLINDER HEAD COVER | |
| 203 | 65.03905-0002C | Gasket, cylinder head cover | |
| 203 | 400603-00022 | Gasket, cylinder head cover | |
| 204 | 65.01801-0011 | CASE;BREATHER | |
| 205 | 65.03903-0001 | PACKING;BREATHER PIPE | |
| 206 | 06.04190-8808 | BOLT M5X16 | |
| 207 | 06.16731-2104 | WASHER;SPRING | |
| 210 | 65.90501-0028 | NUT;CYLINDER HEAD COVER | |
| 211 | 65.90701-0202 | WASHER;PLATE | |
| 212 | 65.03905-0023 | Gasket, cyl. Head cover | |
| 212 | 65.03905-0023A | GASKET;CYLINDER HEAD COVER MOUNTIN | |
| 212 | 400603-00023 | Gasket, cyl. Head cover | |
| 218 | 65.96301-0367 | Hose, rubber | |
| 218 | 65.96301-0418 | Hose, rubber | |
| 218 | 65.96301-0418A | Tuyau flexible | |
| 219 | 06.67020-0105 | CLAMP | |
| 220 | 65.01810-5007 | CAP;OIL FILLER | |
| 220 | 65.01810-5011 | Cap | |
| 223 | 65.01801-5035 | BREATHER PIPE ASS'Y | |
| 223 | 65.01801-5035A | BREATHER PIPE ASS'Y | |
| 224 | 65.96501-0032B | O-ring | |
| 228 | 65.97401-0179 | CLIP;WATER HOSE | |
| 229 | 06.16731-2107 | Washer | |
| 230 | 06.11063-8214 | Nut | |
| 231 | 06.01913-3111 | BOLT ASS'Y M8X16 |
Содержащиеся в справочниках-каталогах запасные части и детали не предлагаются к продаже, а носят исключительно информационный характер