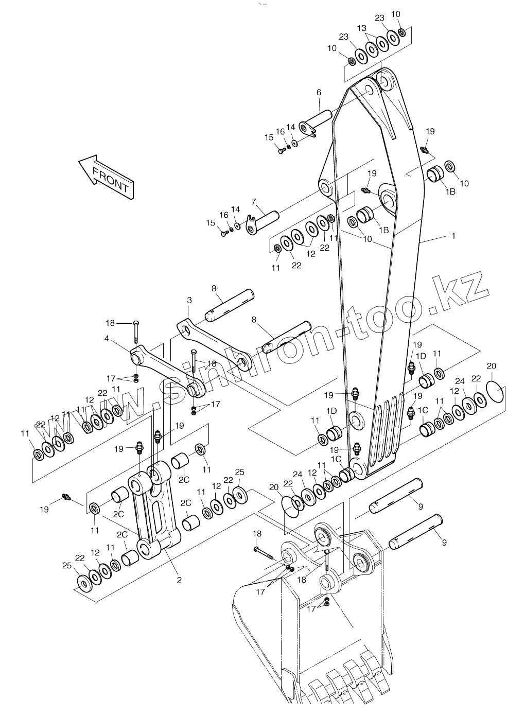
Каталог запасных частей к технике: Doosan SOLAR 160W-V. ARM -3.0m
2701-1457E
2701-1457E
1
1B
1B
1C
1C
1D
1D
2
2C
2C
2C
2C
3
4
6
7
8
8
9
9
10
10
10
10
11
11
11
11
11
11
11
11
11
11
11
11
11
11
12
12
12
12
12
12
12
13
14
14
15
15
16
16
17
17
17
17
18
18
18
18
19
19
19
19
19
19
19
19
19
20
20
22
22
22
22
22
22
22
22
23
23
24
24
24
24
25
25
25
25
| Позиция на иллюстрации | Заводской номер детали | Название детали | |
|---|---|---|---|
| 2701-1457E | 2701-1457E | ARM ASS'Y-3.0m | |
| 1 | 2701-1458K | ARM SUB ASS'Y-3.0m | |
| 1B | 2110-1328A | BUSHING | |
| 1C | 2110-1329A | BUSHING | |
| 1D | 2110-1330A | BUSHING | |
| 2 | 2155-1339E | LINK;PUSH ASS'Y | |
| 2C | 2110-1366A | BUSHING | |
| 3 | 2155-1306B | LINK;GUIDE(R.H) | |
| 4 | 2155-1307B | LINK;GUIDE(L.H) | |
| 6 | 2123-2209C | PIN | |
| 7 | 2123-2225C | PIN | |
| 8 | 2123-2211C | PIN | |
| 9 | 2123-2212C | PIN | |
| 10 | 2180-1106BD4 | SEAL;DUST | |
| 11 | 2180-1106BD3 | SEAL;DUST | |
| 12 | 2114-1058D12 | SHIM | |
| 13 | 2114-1059D127 | SHIM | |
| 14 | 2116-1060D6 | STOPPER | |
| 15 | S0521366 | BOLT M16X2.0X35 | |
| 16 | S5102903 | WASHER;SPRING | |
| 17 | S4012933 | NUT | |
| 18 | S0566766 | BOLT M16X2.0X115 | |
| 19 | S6710041 | NIPPLE;GREASE | |
| 20 | 180-00077D3 | O-RING | |
| 22 | 2114-1059D89 | SHIM | |
| 23 | 2114-1059D129 | SHIM | |
| 24 | 2114-1994A | Spacer | |
| 24 | 2114-1994B | SPACER | |
| 25 | 2114-1995A | Spacer | |
| 25 | 2114-1995B | SPACER |
Содержащиеся в справочниках-каталогах запасные части и детали не предлагаются к продаже, а носят исключительно информационный характер