Вернуться на главную
Поиск
Каталоги запчастей к технике
Спецтехника
Doosan
SOLAR 130W-V(2)
CONTROL VALVE-ARTI.BOOM
Каталог запасных частей к технике: Doosan SOLAR 130W-V(2). CONTROL VALVE-ARTI.BOOM
zoom-in
zoom-out
enlarge
shrink
circle-right
circle-left
file-text2
info
cart
Тип техники
Не выбрано
Легковые автомобили
Грузовые автомобили и прицепы
Автобусы
Сельхозтехника
Спецтехника
Двигатели
Мототехника
Марка
Не выбрано
Ammann
BOMAG
CARMIX
CASE IH
Changlin
ChengGong
Dimex
Doosan
DYNAPAC
Foton
HAMM
Hidromek
Hitachi
Hyundai
JCB
JLG
John Deere
Komatsu
LIEBHERR
LiuGong
Lonking (LongGong)
Luneng
MANITOU
Mitsuber
New Holland
PENGPU
RM-Terex
SANY
SDLG
SEM
Shantui
Shehwa HBXG
Soosan
TIGARBO
VOGELE
Volvo
WAY
WIRTGEN
XCMG
XGMA
Xiamen
YTO
Yuchai
Zoomlion
Автокран
АЗСМ
Алтайлесмаш
Амкодор
АОМЗ
Атек
АТЗ
Балканкар Рекорд
БелАЗ
Беловеж
Борекс
Брянский Арсенал
Булат
ВЭКС
ГАЗ
Геомаш
Гидромаш
Донекс
Дормаш
Дормашина
Дорэлектромаш
ДЭЗ
ЕлАЗ
ЗЗГТ
Ижнефтемаш
Канаш-электрокар
КЗКТ
ККЗ
Клевер
Клинцовский автокрановый завод
КМЗ
КМЗ 1 Мая
Ковровец
Коммаш
Кранэкс
КЭЗ
КЭМЗ
ЛЗА
МАЗ
МЗИК
МЗКМ
МЗКТ
Михневский РМЗ
МоАЗ
Мозырский МЗ
МТЗ
ОЗП
Онежец
ПАО "ТЗА"
ППС Детва
Промтрактор
ПТЗ
Раскат
СпецАгрегат
ТВЭКС
ТТМ
УВЗ
Угличмаш
УЗТМ
ХТЗ
ЧЗКМ
ЧСДМ
ЧТЗ
ЭКСКО
ЭКСМАШ
ЮрМаш
Модель
Не выбрано
DL220 (2010)
DX140W (2017)
DX225LC (2009)
DX225LCA (2012)
S225LC-V (2009)
S340LC-V (2009)
S500LC-V (2007)
SOLAR 130W-V(1) (2017)
SOLAR 130W-V(2) (2017)
SOLAR 140W-V (2017)
SOLAR 140W-V & S160W-V (2017)
SOLAR 160W-V (2017)
SOLAR 170W-V (2017)
SOLAR 180W-V (2017)
SOLAR 210W-V (2017)
SOLAR 255LC-V (DI EXP) (2017)
SOLAR 420LC-V (2017)
Мини-погрузчик 430 Plus (2010)
Мини-погрузчик 440 Plus (2010)
Мини-погрузчик 450 Plus (2010)
Мини-погрузчик 450 Plus (Tier3) (2010)
Мини-погрузчик 460 Plus (2010)
Мини-погрузчик 460 Plus (Tier3) (2010)
Мини-погрузчик 470 Plus (2010)
Экскаватор SOLAR 140LC-V (2010)
Экскаватор SOLAR 175LC-V (2010)
Схема
>
Не выбрано
CYLINDER BLOCK
TIMING GEAR CASE (1382-)
FLYWHEEL HOUSING
CRANK SHAFT
CYLINDER HEAD
VALVE MECHANISM
OIL PUMP
OIL FILTER
OIL COOLER
OIL PAN
THERMOSTAT
WATER PUMP AND COOLING FAN
INTAKE AND EXHAUST MANIFOLD
FUEL SYSTEM
FUEL FILTER
ALTERNATOR MOUNTING
STARTER
OVER HAUL GASKET KIT-TOP (1382-)
OVER HAUL GASKET KIT-ALL (1382-)
FRAME (1167-)
ENGINE MOUNTING
AIR CLEANER ASSY
AIR CLEANER
MUFFLER
RADIATOR AND OIL COOLER
RESERVE TANK
PUMP ASSY (1-3227)
PUMP ASSY (3228-)
SWING DEVICE (1157-)
FUEL TANK
OIL TANK (1-3227)
OIL TANK (3228-)
ENGINE CONTROL ASSY
LEVER ASSY-ENGINE SUB
MAIN PIPING (1) (1-3227)
MAIN PIPING (1-1) (3228-)
MAIN PIPING (2)
MAIN PIPING (3)
MAIN PIPING (4)
MAIN PIPING (5)
OIL COOLER PIPING (1) (1382-3227)
OIL COOLER PIPING (1-1) (3228-)
OIL COOLER PIPING (2)
OIL COOLER PIPING (3)
STEERING PIPING (1382-)
PILOT PIPING (1) (1382-3227)
PILOT PIPING (1-1) (3228-)
PILOT PIPING (2)
PILOT PIPING (3)
PILOT PIPING (4)
PILOT PIPING (5)
PILOT PIPING (6)
PILOT PIPING (7) (1-2696)
PILOT PIPING (7-1) (2697-)
PILOT PIPING (8)
PILOT PIPING (9)
PILOT PIPING (10)
PILOT PIPING (11)
PILOT PIPING (12)
BRAKE PIPING (1)
BRAKE PIPING (2)
STEERING WHEEL ASSY (1305-)
STEERING COLUMN ASSY (1305-)
CABIN ASSY
CABIN (1)
CABIN (2)
CABIN (3)
CABIN (4)
CABIN (5)
CONTROL STAND-L.H.
CONTROL STAND-R.H.
SEAT AND ELECTRIC BOX
SEAT MOUNTING-EXCEPT EUROPE (1454-)
SEAT MOUNTING-EUROPE AND U.S.A (1454-)
SEAT-EUROPE AND U.S.A
SEAT-EXCEPT EUROPE AND U.S.A (751-)
DUCT COVER ASSY
HEATER COVER ASSY
ELECTRIC BOX ASSY
ELECTRIC BOX ASSY-ELECTRIC PARTS
ELECTRIC PARTS (1)-STAND R.H.
ELECTRIC PARTS (2)-STAND L.H.
ELECTRIC PARTS (3)-CABIN
ELECTRIC PARTS (4)-CONSOLE BOX
ELECTRIC PARTS (5)-BATTERY
ELECTRIC PARTS (6)-ENGINE
ALTERNATOR (947-2390)
ELECTRIC PARTS (7)-RELATED PARTS
ELECTRIC WIRING (1)-RELATED PARTS
ELECTRIC WIRING (2)-ENGINE
AIR CONDITIONER (1)
AIR CONDITIONER (2)-AIRCON UNIT
HEATER PIPING
SUPPORT (1) (608-)
SUPPORT (2) (608-)
COVER (1)
COVER (2)
COVER (3)
COVER (4) (1-2199)
COVER (4) (2200-3161)
COVER (4) (3162-)
COVER (5)
BAFFLE ASSY (1) (608-)
BAFFLE ASSY (2) (608-)
ACOUSTIC FOAM
UNDER COVER
LUBRICATOR PIPING
POWER TRAIN (1)-FRONT AXLE (1147-)
POWER TRAIN (2)-REAR AXLE (1147-)
POWER TRAIN (3)-SHAFTAND C/J (1147-)
CHASSIS COMPONENTS
CHASSIS COMPONENTS-FOR EXPORT (1373-)
DOZER AND OUTRIGGER PIPING (608-)
BRAKE PIPING (1)-FRONT
BRAKE PIPING (2)-REAR
STEER PIPING (1147-)
CHOCKING PIPING (1147-)
PROPELLING PIPING (1)-REMOTE T/M (1147-)
PROPELLING PIPING (2)-GEARSHIFT.TEST PORT (1147-)
PROPELLING PIPING (3)-MAKE-UP (1147-)
PROPELLING PIPING (4)-REMOTE T/M (1147-)
DOZER BLADE
BLADE PIPING
CHASSIS FRAME
BOOM-4.3M
ARM-2.1M
BUCKET-0.5M3
FRONT PIPING
FRONT LUBRICATOR
MAIN PUMP (1382-3227)
MAIN PUMP (3228-)
REGULATOR (1382-3227)
REGULATOR-FRONT (3228-)
REGULATOR COVER (1382-3227)
REGULATOR-REAR (3228-)
CONTROL ASSY (1382-3227)
PTO ASSY (3228-)
PROPORTINAL VALVE ASSY (1-3227)
GEAR PUMP (3228-)
PROPORTIONAL VALVE (1-3227)
GEAR PUMP (2 PORT) (3228-]
ROTARY GROUP-L.H. (1382-3227)
ROTARY GROUP-R.H. (1382-3227)
PILOT GEAR PUMP (1-3227)
RELIEF VALVE (1-3227)
PTO PUMP (1382-3227)
BRAKE PUMP (1) (1382-3227)
STEERING PUMP (1) (1382-3227)
CONTROL SPRING (1-3227)
SWING MOTOR (701-)
SWING REDUCTION GEAR (701-)
TRAVELLING MOTOR
PISTON MOTOR
ROTARY GROUP
REGULATOR
CONTROL PARTS
COUNTER BALANCE VALVE
CONTROL VALVE (1225-)
STEERING VALVE (1305-2332)
STEERING VALVE (2333-)
PILOT AND T/M SUPPLY VALVE
REMOTE CONTROL VALVE (1-1798)
REMOTE CONTROL VALVE (1799-)
REMOCON VALVE-DOZER OUTRIGGER
FOOT BRAKE VALVE
PILOT CHECK VALVE
BRAKE SUPPLY VALVE
SOLENOID VALVE
BREAKER PACKAGE VALVE
BRAKE FILTER (868-)
BOOM CYLINDER-L.H (601-2050)
BOOM CYLINDER-L.H (2051-)
BOOM CYLINDER-R.H (601-2050)
BOOM CYLINDER-R.H (2051-)
ARM CYLINDER
ARM CYLINDER-OPT. (2.5M 3.0M ARM)
BUCKET CYLINDER
DOZER CYLINDER-L.H.
DOZER CYLINDER-R.H
CHOCKING CYLINDER
OUTRIGGER CYLINDER (1295-)
BOOM CYLINDER-ARTI.BOOM (L.H) (1-2599)
BOOM CYLINDER-ARTI.BOOM (L.H) (2600-)
BOOM CYLINDER-ARTI.BOOM (R.H) (1-2599)
BOOM CYLINDER-ARTI.BOOM (R.H) (2600-)
ARTI.BOOM CYLINDER (1-2599)
ARTI.BOOM CYLINDER (2600-)
ARTI.BOOM CYLINDER-LOCK VALVE
ARM CYLINDER-ARTI.BOOM
BUCKET CYLINDER-ARTI.BOOM
CENTER JOINT-STD. (1250-)
INPUT SHAFT-FRONT AXLE
DIFFERENTIAL GEAR-FRONT AXLE
BODY-FRONT AXLE
STEERING KNUCKLE-FRONT AXLE
HUB-FRONT AXLE
STEERING CYLINDER-FRONT AXLE (1-2423)
STEERING CYLINDER-FRONT AXLE (2424-)
UNIVERSAL JOINT-FRONT AXLE
HOUSING-TRANSMISSION
INPUT SHAFT-TRANSMISSION
HOUSING-TRANSMISSION
OIL PIPE-TRANSMISSION
COUPLING-TRANSMISSION
M-DISC BRAKE-TRANSMISSION
PLANETARY DRIVE-TRANSMISSION
DISCONNECTION DEVICE-TRANSMISSION
SPUR GEAR DRIVE-TRANSMISSION
GEAR SHIFT SENSOR-TRANSMISSION
OUTPUT SHAFT (1)-TRANSMISSION (1147-)
INPUT-REAR AXLE (1147-)
DIFFERENTIAL-REAR AXLE
AXLE CASING-REAR AXLE (1147-)
HUB CARRIER-REAR AXLE
HUB-REAR AXLE
CONTROL VALVE-ARTI.BOOM
PEDAL VALVE-ARTI.BOOM (1665-)
BOOM CYL. (L.H)-ARTI. BOOM FOR LOCK VALVE (1-2599)
BOOM CYL. (L.H)-ARTI. BOOM FOR LOCK VALVE (2600-)
BOOM CYL. (R.H)-ARTI. BOOM FOR LOCK VALVE (1-2599)
BOOM CYL. (R.H)-ARTI. BOOM FOR LOCK VALVE (2600-)
ARM CYLINDER-ARTI. BOOM FOR LOCK VALVE (1-2599)
BOOM CYL. (L.H)-BOOM 4.3M FOR LOCK VALVE (1-2500)
BOOM CYL. (L.H)-BOOM 4.3M FOR LOCK VALVE (2501-)
BOOM CYL. (R.H)-BOOM 4.3M FOR LOCK VALVE (1-2500)
BOOM CYL. (R.H)-BOOM 4.3M FOR LOCK VALVE (2501-)
ARM CYLINDER-BOOM 4.3M FOR LOCK VALVE
ARM CYLINDER-BOOM 4.6M FOR LOCK VALVE
BOOM CYLINDER (L.H)-4.6M
BOOM CYLINDER (R.H)-4.6M
BOOM CYL. (L.H)-BOOM 4.6M FOR FOR LOCK VALVE
BOOM CYL. (R.H)-BOOM 4.6M FOR FOR LOCK VALVE
TRAVEL MOTOR (1296-3079)
PISTON MOTOR (1296-3079)
ROTARY GROUP (1296-3079)
REGULATOR (1296-3079)
CONTROL PARTS (1296-3079)
COUNTER BALANCE VALVE (1296-3079)
OPTION VALVE
TOOLS
SPARE PARTS
FRONT OUTRIGGER-WELDING TYPE
REAR OUTRIGGER
FRONT OUTRIGGER PIPING (1)-BOLTING TYPE (1147-)
FRONT OUTRIGGER PIPING (2)-BOLTING TYPE (1147-)
FRONT OUTRIGGER PIPING (3)-BOLTING TYPE (1147-)
FRONT OUTRIGGER PIPING (4)-BOLTING TYPE (1147-)
REAR OUTRIGGER PIPING
CHASSIS FRAME-FRONT OUTRIGGER (WELDING)
CHASSIS FRAME-FRONT DOZER (BOLTING TYPE) (1296-)
FRONT BLADE-BOLTING TYPE
FRONT DOZER PIPING (1)-BOLTING TYPE (1147-)
FRONT DOZER PIPING (2)-BOLTING TYPE (1147-)
FRONT DOZER PIPING (3)-BOLTING TYPE (1147-)
FRONT DOZER PIPING (4)-BOLTING TYPE (1147-)
CHASSIS FRAME-F/ OUTRIGGER BOLTING TYPE (1296-)
CHASSIS FRAME-REAR DOZER OUTRIGGER
CHASSIS FRAME-BOLT-ON. CRADLE AND REMOTE (1147-)
OPTION ASSY-GERMAN HOMOLOGATION (1296-)
TIRE-10.0X20X14PR
SINGLE TIRE-18R19.5X14PR (2700-)
ELECTRIC BOX-FOR GERMANY
ELECTRIC PARTS-FOR GERMANY
STEREO ASSY-FOR JAPAN (2510-)
LAMP-FOR GERMANY
ARM LAMP HARNESS-FOR GERMANY
FUEL FILLER PUMP ASSY
AIR CLEANER-PRE CLEANER
CABIN LAMP-OPT.
ROTATING BEACON-OPT.
SWING ALARM-OPT.
PILOT PIPING-BREAKER (1-3227)
PILOT PIPING-BREAKER (3228-)
MAIN PIPING-ONE AND TWO WAY
NAME PLATE-BREAKER
BOOM PIPING-BOOM 4.3M (ONE WAY)
ARM PIPING-ARM 2.1M (ONE WAY)
ARM PIPING-ARM 2.25M (ONE WAY)
BUCKET-0.25 SIDE PIN TYPE
BUCKET-0.35 SIDE PIN TYPE
BUCKET-0.45 SIDE PIN TYPE
BUCKET ASSY-0.45 VERTICAL PIN (1225-)
BUCKET-0.55 SIDE PIN TYPE
BUCKET-0.65 SIDE PIN TYPE
ARM-2.25M
FRONT PIPING-BOOM 4.3M+ARM-2.25M
FRONT PIPING-BOOM 4.6M+ARM-2.25M
MAIN FRAME-ARTI.BOOM
ARTICULATED UPPER BOOM-2.8M (1-2599)
ARM-1.96M-ARTI.BOOM (1246-2599)
ARM-2.5M-ARTI.BOOM (1246-2599)
MAIN PIPING-ARTI.BOOM (1-2599)
PILOT PIPING-ARTI.BOOM (1-2599)
FRONT PIPING (1)-ARTI.BOOM (1-2599)
FRONT PIPING (2)-ARTI.BOOM (1-2599)
FRONT ONE-WAY PIPING-ARTI.BOOM (1269-2599)
FLOOR ASSY-ARTI.BOOM (2441-)
FLOOR ASSY-ARTI.BOOM AND TILTING (2441-)
STEREO ASSY-FOR JAPAN
ENGINE COVER-EUROPE
BOOM-4.6M
ARM-2.5M
FRONT PIPING-BOOM 4.6M+ARM-2.5M
FRONT PIPING-BOOM 4.3M+ARM-2.5M
ARM-3.0M
FRONT PIPING-BOOM 4.6M+ARM-3.0M
FRONT PIPING-BOOM 4.3M+ARM-3.0M
ARM-1.9M
FRONT PIPING-BOOM 4.3M+ARM-1.9M
FRONT PIPING-BOOM 4.6M+ARM-2.1M
LUBRICATION PIPING-BOOM4.6M (2304-)
BUCKET-0.38 (30")-SIDE PIN
BUCKET-0.38 (30")-VERTICAL PIN
BUCKET-0.44 (33")-SIDE PIN
BUCKET-0.44 (33")-VERTICAL PIN
BUCKET-0.48 (36")-SIDE PIN
BUCKET-0.48 (36")-VERTICAL PIN
NOISE FILTER ASSY-EUROPE (682-)
TROPICAL COVER
LOCK VALVE PIPING-ARTI.BOOM (1-2599)
LOCK VALVE PIPING-BOOM 4.3M (1-2050)
LOCK VALVE PIPING-BOOM 4.3M (2051-)
BOOM PIPING-BOOM 4.6M (ONE WAY)
ARM PIPING-BOOM 4.6M+ARM-1.9M (ONE WAY)
ARM PIPING-BOOM 4.6M+ARM-2.5M (ONE WAY)
ARM PIPING-BOOM 4.6M+ARM-3.0M (ONE WAY)
LOCK VALVE PIPING-BOOM 4.6M
DOUBLE FUEL FILTER
CABIN LAMP RELAY-REAR CABIN LAMP (1410-)
ALTERNATOR-FOR BEACON LAMP (1410-)
CABIN ASSY-WINDOW GUARD (1281-)
SUN VISOR ASSY (1410-)
SUN ROOF ASSY (1410-)
REMOCON VALVE MOUNT-3 SWITCH (1410-)
REMOCON VALVE MOUNT-5 SWITCH (1410-)
RETURN FILTER SWITCH ASSY (1620-)
COUNTER WEIGHT (1373-)
ARTI. BOOM-UPPER BOOM 3.3M+ARM-2.5M (1-2599)
FRONT PIPING (1)-ARTI. BOOM (1-2599)
FRONT PIPING (2)-ARTI. BOOM (1-2599)
FRONT PIPING (3)-ONE WAY (ARTI. BOOM) (1-2599)
LOCK VALVE PIPING-UPPER BOOM (1-2599)
ARM-2.25M-ARTI.BOOM (1-2599)
MAIN PIPING-ROTATION AND TILTING (1-3086)
MAIN PIPING-ROTATION AND TILTING (3087-)
PILOT PIPING-ROTATION AND TILTING
BOOM PIPING-ROTATION AND TILTING (1-3086)
BOOM PIPING (4.6M)-ROTATION AND TILTING (3087-)
BOOM PIPING (4.3M)-ROTATION AND TILTING (3087-)
ARM PIPING (2.5M)-ROTATION AND TILTING (1-3086)
ARM PIPING (2.5M)-ROTATION AND TILTING (3087-)
FRONT PIPING (BOOM 4.3M)-KOREA
FRONT PIPING (BOOM 4.6M)-KOREA
PILOT PIPING-P3C
ARM PIPING (2.1M)-ROTATION AND TILTING (3087-)
ARM PIPING (3.0M)-ROTATION AND TILTING (3087-)
BOOM-ARTICULATED (2600-)
MAIN PIPING-ARTI. BOOM (2600-)
PILOT PIPING-ARTI. BOOM (2600-)
FRONT PIPING-ARTI. BOOM (2600-)
FRONT PIPING-2.1M ARM-ARTI. BOOM (2600-)
FRONT PIPING-2.5M ARM-ARTI. BOOM (2600-)
LUBRICATION PIPING-ARTI. BOOM (2600-)
LOCK VALVE PIPING-ARTI.BOOM (2600-)
STAY ASSY-ARTI. BOOM (3162-)
MAIN PIPING-ARTI. BOOM-2 WAY (2600-)
FRONT PIPING-ARTI. BOOM-1 (2600-)
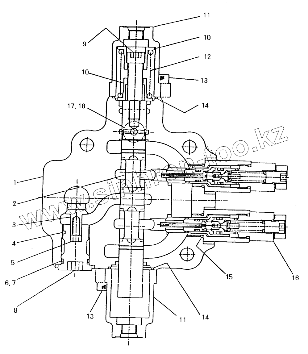
1
2
3
4
5
6
7
8
9
10
10
11
11
12
13
13
14
14
15
16
17
18
Позиция на иллюстрации
Заводской номер детали
Название детали
2420-9365
2420-9365
Valve, control
1
3501-755
Housing
2
3510-825
D-plunger
3
3513-108
Check
4
1099-000
Chip, nylon
5
3390-101
Spring
6
8202-016
O-ring
7
0859-181
Ring
8
3526-337
Cap
9
3526-418
Cap
10
3531-109
Guide
11
3503-181
Cover
12
3590-306
Spring
13
8072-084
Bolt
14
0201-063
O-ring
15
8202-014
O-ring
16
3537-250
Relief assy
17
8202-009
O-ring
18
0824-051
Cap
Содержащиеся в справочниках-каталогах запасные части и детали не предлагаются к продаже, а носят исключительно информационный характер
Дополнительная информация
×
Название:
Номер:
Примечание: