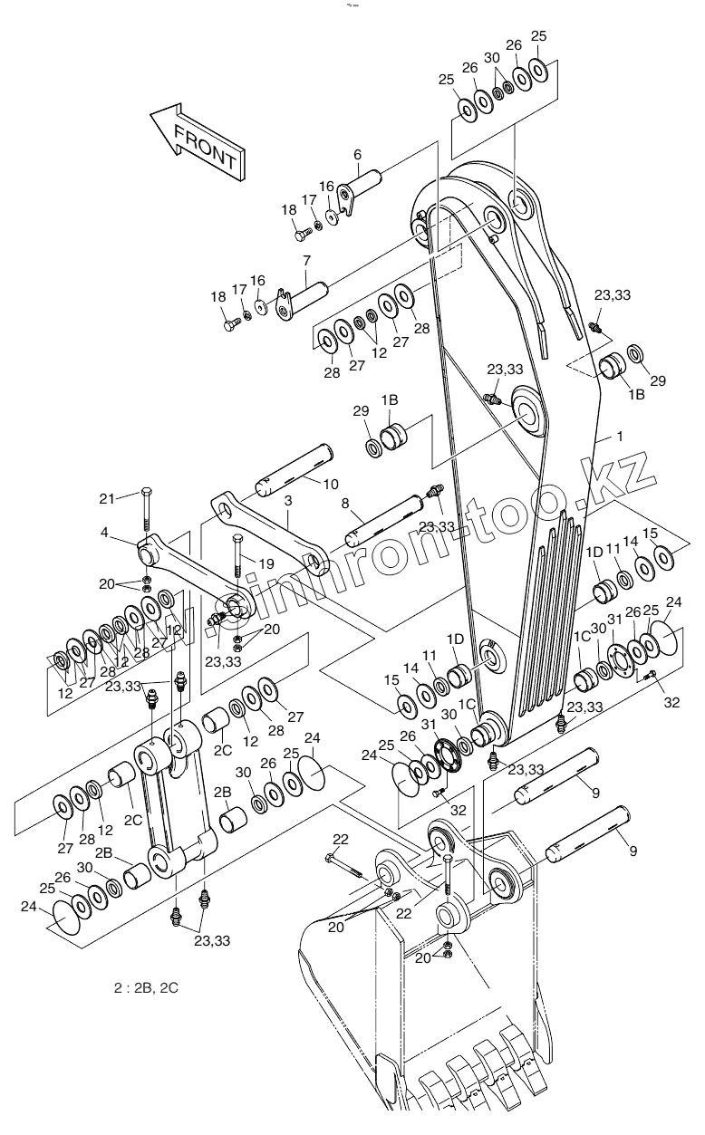
Каталог запасных частей к технике: Doosan S500LC-V. ARM - 2.4m
1
701-00054E
701-00054G
1В
1В
1С
1С
1D
1D
1D
1D
2
2
2
2B
2B
2B
2B
2B
2B
2B
2B
2C
2C
2C
3
4
6
7
8
9
9
10
11
11
12
12
12
12
12
12
14
14
15
15
16
16
17
17
18
18
19
20
20
20
20
21
22
22
23
23
23
23
23
23
23
23
24
24
24
24
25
25
25
25
25
25
26
26
26
26
26
26
27
27
27
27
27
27
28
28
28
28
28
28
29
29
30
30
30
30
30
31
31
31
31
32
32
33
33
33
33
33
33
33
33
| Позиция на иллюстрации | Заводской номер детали | Название детали | |
|---|---|---|---|
| 701-00053 | 701-00053 | ARM ASSY -2.4m | |
| 1 | 701-00054C | ARM SUB ASSY | |
| 701-00054E | 701-00054E | ARM SUB ASSY | |
| 701-00054G | 701-00054G | ARM SUB ASSY | |
| 1В | 110-00186 | BUSHING | |
| 1С | 110-00205 | BUSHING, FLANGE | |
| 1D | 110-00187 | BUSHING | |
| 1D | 2110-1252A | BUSHING | |
| 2 | 2155-1373E | PUSH LINK ASSY | |
| 2 | 2155-1373G | PUSH LINK ASSY | |
| 2 | 2155-1373H | PUSH LINK ASSY | |
| 2B | 110-00189 | BUSHING | |
| 2B | 2110-1243В | BUSHING | |
| 2C | 2110-1442 | BUSHING | |
| 3 | 2155-4023B | LINK, GUIDE (R.H) | |
| 4 | 2155-4024B | LINK, GUIDE (L.H) | |
| 6 | 123-00018 | PIN | |
| 7 | 2123-2482 | PIN | |
| 8 | 2123-2051A | PIN | |
| 9 | 2123-2477A | PIN | |
| 10 | 2123-2478 | PIN | |
| 11 | 2180-1106BD14 | SEAL;DUST | |
| 12 | 2180-1106BD15 | SEAL, DUST | |
| 14 | 2114-1059D73 | Shim | |
| 15 | 2114-1059D72 | Shim | |
| 16 | 2116-1060D5 | STOPPER | |
| 17 | S5102903 | WASHER;SPRING | |
| 18 | S0521366 | BOLT M16X2.0X35 | |
| 19 | S0571966 | BOLT | |
| 20 | S4013133 | Nut | |
| 21 | S0572066 | BOLT | |
| 22 | S0572166 | BOLT M20X25X200 | |
| 23 | S6710042 | NIPPLE;GREASE(PT1/8) | |
| 24 | 180-00077D9 | O-RING | |
| 25 | 2114-1059D43 | SHIM | |
| 26 | 2114-1059D42 | SHIM | |
| 27 | 2114-1059D202 | SHIM | |
| 28 | 2114-1059D203 | SHIM | |
| 29 | 2180-1106BD19 | SEAL, DUST | |
| 30 | 2180-1106BD18 | SEAL, DUST | |
| 31 | 114-00443 | SPACER | |
| 31 | 114-00443А | SPACER | |
| 32 | 120-00223 | BOLT | |
| 33 | 160-00020 | CAP;GREASE NIPPLE |
Содержащиеся в справочниках-каталогах запасные части и детали не предлагаются к продаже, а носят исключительно информационный характер