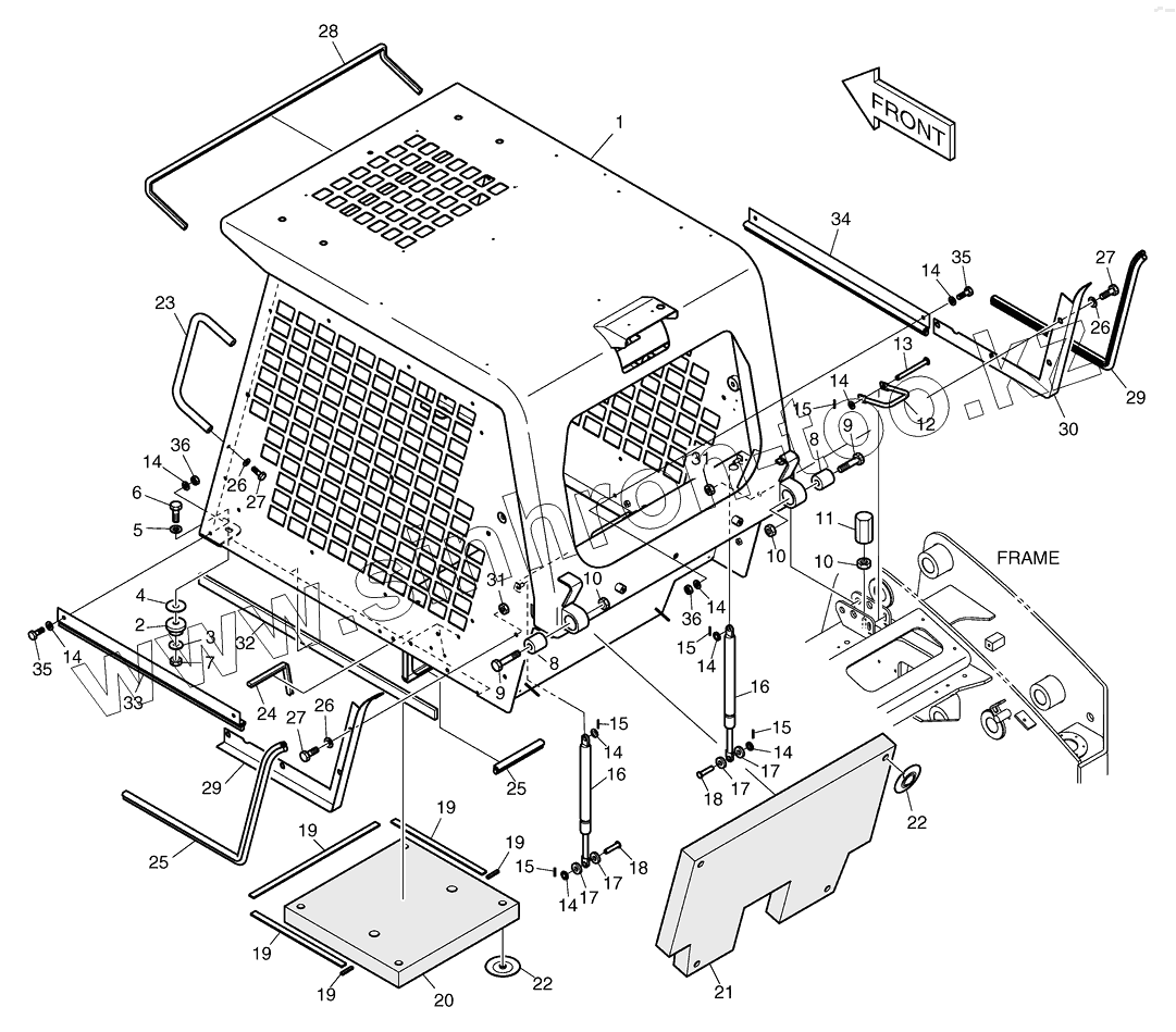
Каталог запасных частей к технике: Doosan Мини-погрузчик 470 Plus. 1160 Кабина
1
10
10
10
11
12
13
14
14
14
14
14
14
14
14
14
14
14
14
14
14
14
14
14
14
15
15
15
15
15
16
16
17
17
17
17
18
18
19
19
19
19
19
2
20
21
22
22
23
24
25
25
25
25
26
26
26
27
27
27
28
29
29
29
29
3
30
30
31
31
32
33
34
35
35
36
36
4
5
6
7
8
8
9
9
| Позиция на иллюстрации | Заводской номер детали | Название детали | |
|---|---|---|---|
| 1 | K1020582 | CANOPY ASS'Y | |
| 10 | S4016933 | NUT | |
| 11 | K1019729 | STOPPER | |
| 12 | K1019746 | LOCK | |
| 13 | K1019715 | PIN | |
| 14 | K1023146 | WASHER;HARDENED | |
| 14 | K1023146 | WASHER;HARDENED | |
| 15 | S180333H | PIN | |
| 16 | K1019806 | SPRING;GAS | |
| 17 | K1019716 | SPACER | |
| 18 | K1019730 | PIN;CLEVIS | |
| 19 | K1023050 | SPONGE (L=104CM) | |
| 2 | K1019713 | RUBBER;MOUNT | |
| 20 | K1019745 | SPONGE | |
| 21 | K1022281 | SPONGE | |
| 22 | K1019059 | HOLDER | |
| 23 | K1021431 | STAY | |
| 24 | K1019747 | STRIP;BULK | |
| 25 | K1019748 | STRIP | |
| 25 | K1019748 | STRIP | |
| 26 | K1023147 | WASHER;HARDENED | |
| 27 | S0511863 | BOLT;HEX. | |
| 28 | K1020244 | CHANNEL | |
| 29 | K1020818 | PLATE(L.H) | |
| 29 | K1020818A | PLATE(L.H) | |
| 3 | K1023132 | WASHER | |
| 30 | K1020819 | PLATE(R.H) | |
| 30 | K1020819A | PLATE(R.H) | |
| 31 | S4012633 | NUT M10X1.5 | |
| 32 | K1020821 | STRIP | |
| 33 | K1021172A | ANGLE;LOWER(L.H) | |
| 34 | K1021174A | ANGLE;LOWER(R.H) | |
| 35 | S0508663 | BOLT | |
| 36 | S4012533 | NUT M8X1.25 | |
| 4 | K1023133 | WASHER | |
| 5 | K1023139 | WASHER;HARDENED | |
| 6 | S0515863 | BOLT | |
| 7 | S4016733 | NUT | |
| 8 | K1019714 | RUBBER;MOUNT | |
| 9 | K1023105 | BOLT | |
| K1021625A | K1021625A | CANOPY ASS'Y |
Содержащиеся в справочниках-каталогах запасные части и детали не предлагаются к продаже, а носят исключительно информационный характер