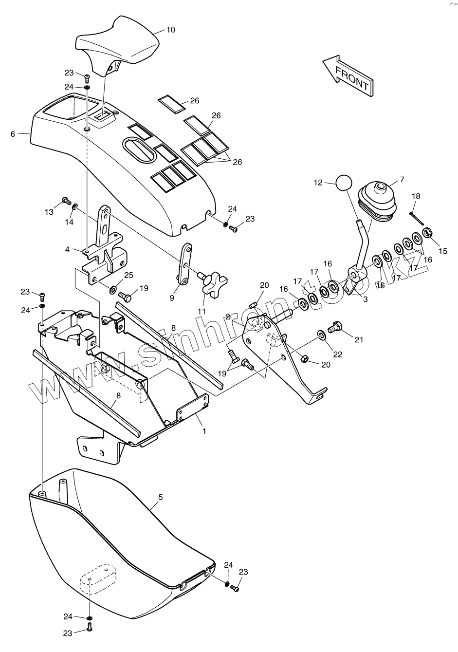
Каталог запасных частей к технике: Doosan Мини-погрузчик 430 Plus. 6490 Консоль управления
1
10
11
12
13
14
15
16
16
16
16
17
17
17
17
18
19
19
2
20
20
21
22
23
23
23
23
23
24
24
24
24
24
25
26
26
26
3
4
5
6
7
8
8
9
| Позиция на иллюстрации | Заводской номер детали | Название детали | |
|---|---|---|---|
| 1 | K1022013 | BRACKET | |
| 10 | K1022102 | ARMREST | |
| 11 | K1023032 | KNOB | |
| 12 | K1023035 | KNOB | |
| 13 | S0504563 | BOLT | |
| 14 | S5010313 | WASHER;PLAIN | |
| 15 | S4330743 | NUT;CASTLE | |
| 16 | K1023145 | WASHER;HARDENED | |
| 17 | K1023131 | WASHER;SPRING | |
| 18 | S5735481 | PIN;SPLIT | |
| 19 | S0508863 | BOLT | |
| 2 | K1022023 | BRACKET | |
| 20 | S4010533 | NUT | |
| 21 | S0511863 | BOLT;HEX. | |
| 22 | S5010613 | WASHER;PLAIN | |
| 23 | S3450843 | SCREW M5X0.8X14 | |
| 24 | S5000213 | WASHER;PLAIN | |
| 25 | S5010513 | WASHER;PLAIN M8 | |
| 26 | K1022140 | PLUG | |
| 3 | K1022022 | LEVER | |
| 4 | K1022094 | BRACKET | |
| 5 | K1022097 | CASE;STAND LOWER | |
| 6 | K1022098 | CASE;STAND UPPER | |
| 7 | 822-00080 | BOOTS | |
| 8 | K1019071 | STRIP | |
| 9 | K1022100 | PLATE;ARM REST(L.H) | |
| K1022111 | K1022111 | STAND;LEFT HAND |
Содержащиеся в справочниках-каталогах запасные части и детали не предлагаются к продаже, а носят исключительно информационный характер