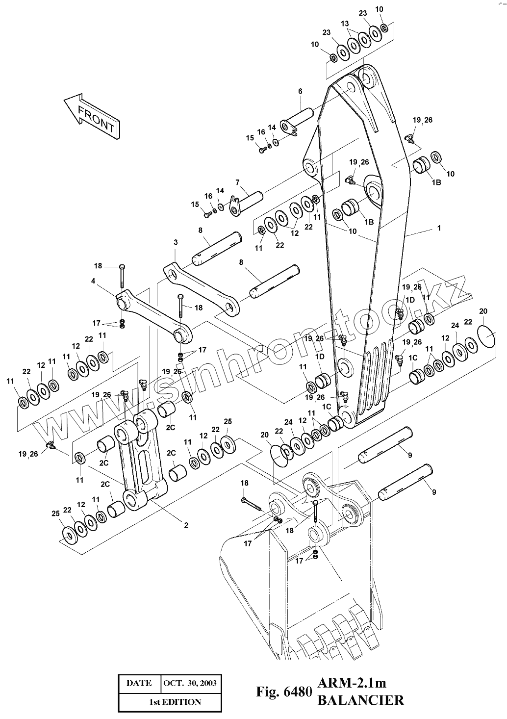
Каталог запасных частей к технике: Doosan Экскаватор SOLAR 140LC-V. 6480 Рукоять
1
2
3
4
6
7
8
8
9
9
10
10
10
10
11
11
11
11
11
11
11
11
11
11
11
11
11
11
12
12
12
12
12
12
12
13
14
14
15
15
16
16
17
17
17
17
18
18
18
18
19
19
19
19
19
19
19
19
19
20
20
22
22
22
22
22
22
22
22
23
23
24
24
25
25
26
26
26
26
26
26
26
26
26
102
102
103
103
104
104
203
203
203
203
| Позиция на иллюстрации | Заводской номер детали | Название детали | |
|---|---|---|---|
| 1 | 2701-1429M | ARM SUB ASS'Y-2.1m | |
| 2 | 2155-1339E | LINK;PUSH ASS'Y | |
| 3 | 2155-1306B | LINK;GUIDE(R.H) | |
| 4 | 2155-1307B | LINK;GUIDE(L.H) | |
| 6 | 2123-2209C | PIN | |
| 7 | 2123-2225C | PIN | |
| 8 | 2123-2211C | PIN | |
| 9 | 2123-2212C | PIN | |
| 10 | 2180-1106BD4 | SEAL;DUST | |
| 11 | 2180-1106BD3 | SEAL;DUST | |
| 12 | 2114-1058D12 | SHIM | |
| 13 | 2114-1059D127 | SHIM | |
| 14 | 2116-1060D6 | STOPPER | |
| 15 | S0521366 | BOLT M16X2.0X35 | |
| 16 | S5102903 | WASHER;SPRING | |
| 17 | S4012933 | NUT | |
| 18 | S0566766 | BOLT M16X2.0X115 | |
| 19 | S6710041 | NIPPLE;GREASE | |
| 20 | 180-00077D3 | O-RING | |
| 22 | 2114-1059D89 | SHIM | |
| 23 | 2114-1059D129 | SHIM | |
| 24 | 2114-1994B | SPACER | |
| 25 | 2114-1995B | SPACER | |
| 26 | 160-00020 | CAP;GREASE NIPPLE | |
| 102 | 2110-1328A | BUSHING | |
| 103 | 2110-1329A | BUSHING | |
| 104 | 2110-1330A | BUSHING | |
| 203 | 2110-1366A | BUSHING | |
| 2701-1428C | 2701-1428C | ARM ASS'Y-2.1m |
Содержащиеся в справочниках-каталогах запасные части и детали не предлагаются к продаже, а носят исключительно информационный характер