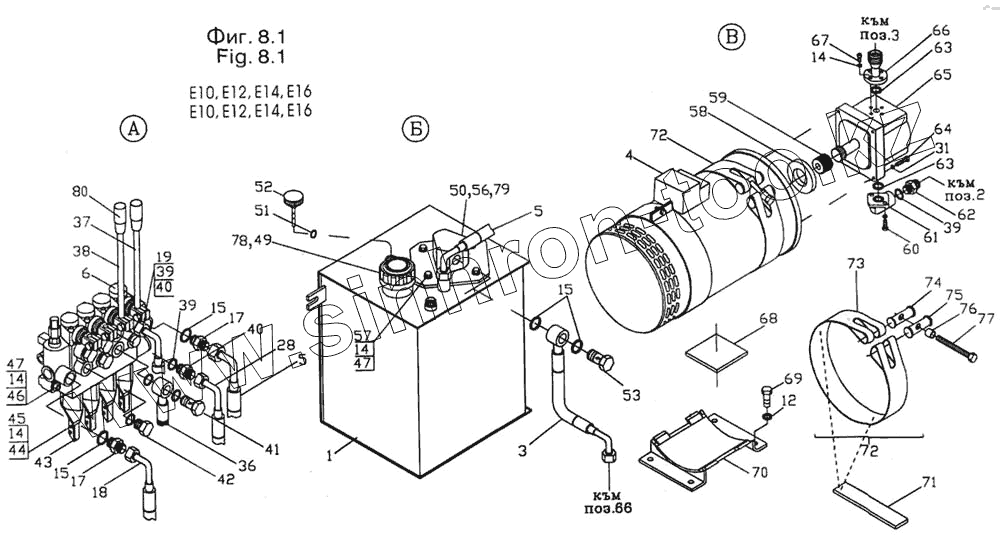
Каталог запасных частей к технике: Dimex-E-10. Гидравлическая система в сборе
37
38
39
39
39
40
40
41
42
43
44
45
46
47
49
50
51
52
53
56
56
57
58
59
60
61
62
63
63
64
65
66
67
68
69
70
71
72
72
73
74
75
76
77
78
79
79
80
| Позиция на иллюстрации | Заводской номер детали | Название детали | |
|---|---|---|---|
| 37 | 30.28.004 | Рычаг I | |
| 38 | 30.28.005 | Рычаг II | |
| 39 | 99.12.004 | Кольцо А I 18х22 | |
| 40 | 99.11.004 | Штуцер | |
| 41 | 30.50.039 | Болт накидной гайки | |
| 42 | 31.28.022 | Пробка | |
| 43 | 30.31.004 | Микропереключатель | |
| 44 | 99.01.024 | Болт I М8х16-5,6 | |
| 45 | 99.03.004 | Гайка А М8-5 | |
| 46 | 99.02.004 | Винт М8х40-8,8 | |
| 47 | 99.06.005 | Шайба 2-8Н | |
| 49 | 31.28.023 | Крышка в сборе | |
| 50 | 31.28.024 | Прокладка | |
| 51 | 31.28.025 | "О"-кольцо | |
| 52 | 30.28.005 | Рычаг II | |
| 53 | 31.28.026 | Болт накидной гайки | |
| 56 | 30.28.006 | Масляный фильтр | |
| 56 | 30.28.007 | Масляный фильтр | |
| 57 | 99.01.020 | Болт I М8х10-5,6 | |
| 58 | 31.28.027 | Втулка | |
| 59 | 31.28.028 | Втулка 10х42 | |
| 60 | 99.02.052 | Винт М6х20-8,8 | |
| 61 | 31.28.029 | Угольник | |
| 62 | 99.11.006 | Штуцер | |
| 63 | 31.28.030 | "О"-кольцо | |
| 64 | 99.01.010 | Болт М6х30-5,6 | |
| 65 | 31.28.031 | Гидравлический насос | |
| 66 | 31.28.032 | Фланец | |
| 67 | 99.02.002 | Винт М8х20 | |
| 68 | 32.28.020 | Прокладка | |
| 69 | 99.01.074 | Болт М12х30-5,6 | |
| 70 | 30.28.008 | Кронштейн | |
| 71 | 32.28.022 | Прокладка | |
| 72 | 32.28.023 | Лента стяжная в сборе | |
| 73 | 32.28.024 | Лента стяжная | |
| 74 | 32.28.025 | Ось специальная | |
| 75 | 32.28.026 | Ролик | |
| 76 | 32.28.027 | Распорная втулка | |
| 77 | 99.01.067 | Болт М10х100- 8,8 | |
| 78 | 31.28.033 | Сетка | |
| 79 | 31.28.034 | Фильтрующий элемент | |
| 79 | 30.28.009 | Фильтрующий элемент | |
| 80 | 30.28.010 | Рукоятка |
Содержащиеся в справочниках-каталогах запасные части и детали не предлагаются к продаже, а носят исключительно информационный характер