Каталог запасных частей к технике: ДЭЗ ФД-500. Общий вид ФД
1
2
3
4
5
5
5
6
6
7
8
8
9
10
11
12
13
14
15
16
17
18
19
20
21
22
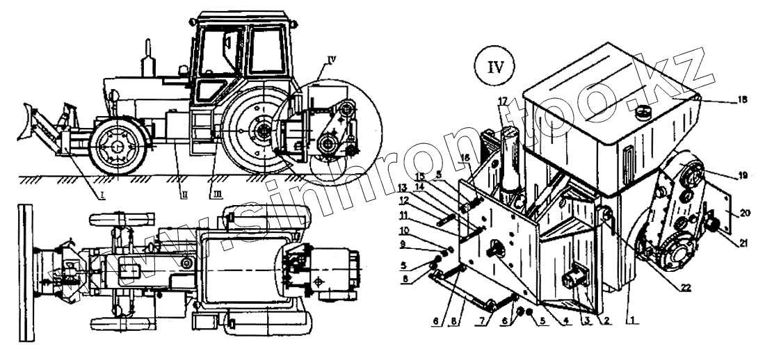
| Позиция на иллюстрации | Заводской номер детали | Название детали | |
|---|---|---|---|
| ЭТЦ-1609.15.00.000 | ЭТЦ-1609.15.00.000 | Рама | |
| ЭТЦ-1609.31.00.000 | ЭТЦ-1609.31.00.000 | Ходоуменьшитель | |
| ЭТЦ-1609.16.00.000 | ЭТЦ-1609.16.00.000 | Бульдозер | |
| 1 | ФДН-500.01.00.000 | Корпус фрезы | |
| 2 | ФДН-500.02.00.000 | Рама | |
| 3 | ФДН-500.05.00.000 | Установка гидроцилиндров | |
| 4 | ФДН-500.03.00.000 | Кардан | |
| 5 | Шайба 24.65 Г [ГОСТ6402.-70] | Шайба 24.65 Г | |
| 6 | Гайка М24.5 [ГОСТ5915-70] | Гайка М24.5 | |
| 7 | ФДН-500.09.00.001 | Стяжка | |
| 8 | ЭТЦ-161-0500-79 | Палец | |
| 9 | ЭТЦ-161-0500-35 | Пробка | |
| 10 | 000.683.564 | Прокладка 20 | |
| 11 | ЭТЦ-1609.30.00.019 | Шпилька | |
| 12 | ЭТЦ-1609.30.00.018 | Шпилька | |
| 13 | Шайба ШП-16 | Шайба ШП-16 | |
| 14 | Гайка ГШП 1 М16х1.5 | Гайка ГШП 1 М16х1.5 | |
| 15 | ЭТЦ-165-004800.005 | Втулка | |
| 16 | ЭТЦ-1609.30.00.017 | Гайка | |
| 17 | ФДН-500.04.00.000 | Гидросистема | |
| 18 | ФДН-500.07.00.000 | Система водообеспечения | |
| 19 | ФДН-500.06.00.000 | Трансмиссия | |
| 20 | ФДН-500.10.00.000 | Стенка задняя | |
| 21 | ФДН-500.08.00.000 | Установка катков опорных | |
| 22 | ФДН-500.09.00.000 | Установка фиксатора |
Содержащиеся в справочниках-каталогах запасные части и детали не предлагаются к продаже, а носят исключительно информационный характер