Каталог запасных частей к технике: ДЭЗ ФД-500. Гидросистема
1
2
3
4
5
6
7
8
9
10
11
12
13
13
13
13
14
14
17
17
18
19
19
20
21
22
28
29
30
31
32
33
34
35
36
40
41
42
43
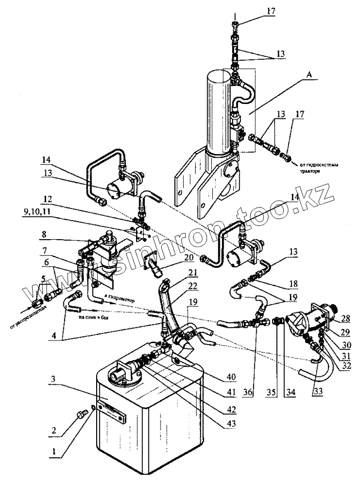
| Позиция на иллюстрации | Заводской номер детали | Название детали | |
|---|---|---|---|
| 1 | Шайба 20.65Г [ГОСТ 6402-70] | Шайба 20.65Г | |
| 2 | Болт М20-8gх40.36 [ГОСТ 7796-70] | Болт М20-8gх40.36 | |
| 3 | ЭТЦ-16009.10.04.000 | Гидробак | |
| 4 | Рукав РВД 16х650 У [ТУ 22-4756-80] | Рукав РВД 16х650 У | |
| 5 | ЭТЦ-1609.10.13.001 | Переходник | |
| 6 | Рукав РВД 16х850 У [ТУ 22-4756-80] | Рукав РВД 16х850 У | |
| 7 | Рукав РВД 16х1250 У [ТУ 22-4756-80] | Рукав РВД 16х1250 У | |
| 8 | ЭТЦ-1609.10.01.000 | Установка дросселя | |
| 9 | Болт М8-8gх20.36 [ГОСТ 7796-70] | Болт М8-8gх20.36 | |
| 10 | Гайка М8.5 [ГОСТ 5915-70] | Гайка М8.5 | |
| 11 | Шайба 8.65Г [ГОСТ 6402-70] | Шайба 8.65Г | |
| 12 | ФДН-500.04. 01.000 | Тройник | |
| 13 | Рукав РВД 16х1250 [ТУ 22-4756-80] | Рукав РВД 16х1250 | |
| 14 | Рукав РВД 16х1050 [ТУ 22-4756-80] | Рукав РВД 16х1050 | |
| 17 | ЭТЦ-1609.10.35.000 | Переходник | |
| 18 | ЭТЦ-1609.10.00.061 | Переходник | |
| 19 | Рукав РВД 12х650 [ТУ 22-4756-80] | Рукав РВД 12х650 | |
| 20 | ЭТЦ-1609.10.33.000 | Трубопровод | |
| 21 | Хомут 40-60 | Хомут 40-60 | |
| 22 | Рукав 40х50-4 1Х340 [ГОСТ 10362-76] | Рукав 40х50-4 1Х340 | |
| 28 | Шайба 10.65Г [ГОСТ 6402-70] | Шайба 10.65Г | |
| 29 | Болт М10-8gх35.36 [ГОСТ 7796-70] | Болт М10-8gх35.36 | |
| 30 | У 2201.5 | Прокладка | |
| 31 | ЭТЦ-1609.10.00.002 | Штуцер М16 | |
| 32 | У2205.1 | Хомутик | |
| 33 | Рукав 12х20-4 L=700 [ГОСТ 10362-76] | Рукав 12х20-4 L=700 | |
| 34 | ЭТЦ-1609.10.00.051 | Прокладка | |
| 35 | У.4571.118 | Штуцер 15-М27 | |
| 36 | ЭТЦ-1609.10.34.000 | Тройник | |
| 40 | ЭТЦ-1609.10.11.000 | Тройник | |
| 41 | ЭТЦ-408-1.01.08.013 | Штуцер | |
| 42 | У 2201.9 | Прокладка | |
| 43 | Кольцо 040-045-30-2-1 [ГОСТ 9833-73] | Кольцо 040-045-30-2-1 |
Содержащиеся в справочниках-каталогах запасные части и детали не предлагаются к продаже, а носят исключительно информационный характер