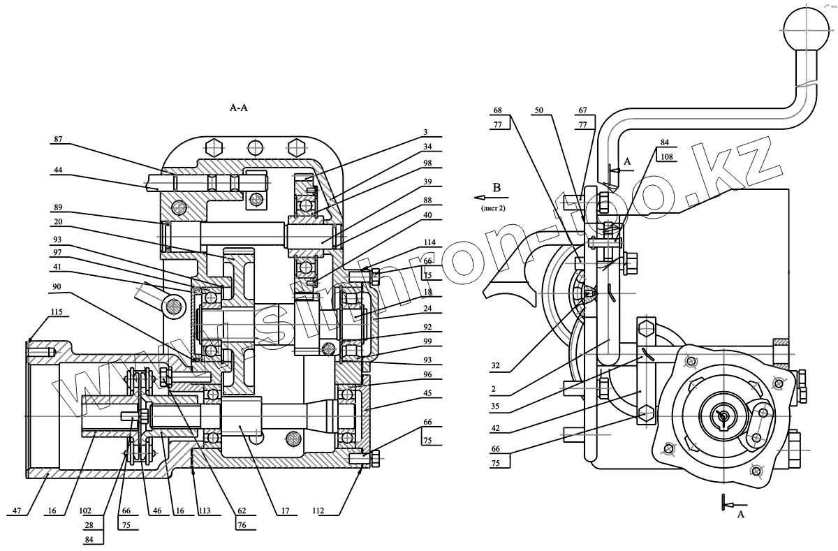
Каталог запасных частей к технике: ДЭЗ ЭТЦ-201. Ходоуменьшитель ЭТЦ-201.57.00.000
2
3
16
16
17
18
20
24
28
32
34
35
39
40
41
42
44
45
46
47
50
62
66
66
66
66
67
68
75
75
75
75
76
77
77
84
84
87
88
89
90
92
93
93
96
97
98
99
102
108
112
113
114
115
| Позиция на иллюстрации | Заводской номер детали | Название детали | |
|---|---|---|---|
| ЭТЦ-201.57.00.000 | ЭТЦ-201.57.00.000 | Ходоуменьшитель | |
| 1 | ЭТЦ-1609.31.04.000 | Болт | |
| 2 | ЭТЦ-201.57.06.000 | Рычаг | |
| 3 | 165А-470001.000 | Шестерня | |
| 16 | ЭТЦ-1609.31.00.001 | Полумуфта | |
| 17 | ЭТЦ-1609.31.00.002 | Вал-шестерня | |
| 18 | ЭТЦ-1609.31.00.003 | Вал-шестерня | |
| 20 | ЭТЦ-201.57.00.015 | Шестерня | |
| 24 | ЭТЦ-1609.31.00.009 | Крышка | |
| 28 | ЭТЦ-1609.31.00.013 | Палец | |
| 31 | ЭТЦ-201.57.00.016 | Вилка | |
| 32 | ЭТЦ-1609.31.00.017 | Винт | |
| 34 | ЭТЦ-201.57.00.008 | Корпус | |
| 35 | ЭТЦ-1609.31.00.023 | Ось | |
| 36 | ЭТЦ-201.57.00.024 | Рычаг верхний | |
| 39 | 0165-004700.003 | Ось | |
| 40 | ЭТЦ-201.57.00.025 | Кольцо | |
| 41 | 0165-004700.012 | Крышка | |
| 42 | 0165-004700.013 | Планка | |
| 44 | ЭТЦ-201.57.00.026 | Шток | |
| 45 | 0165-004700.017 | Крышка | |
| 46 | 0165-004700.022 | Шайба | |
| 47 | 0165-004700.024 | Стакан | |
| 48 | 0165-004700.036 | Крышка | |
| 49 | 0165-004700.037 | Прокладка | |
| 50 | 0165-004700.038 | Прокладка | |
| 51 | 0165-004700.046 | Пружина | |
| 52 | ЭТЦ-1609.30.00.127 | Пробка | |
| 53 | ЭТЦ-1609.30.00.128 | Прокладка | |
| 62 | Болт М10х35.36 [ГОСТ 7796-70] | Болт М10х35.36 | |
| 63 | Болт М12х1,25х30.36 [ГОСТ 7796-70] | Болт М12х1,25х30.36 | |
| 66 | Болт М8х20.36 [ГОСТ 7798-70] | Болт М8х20.36 | |
| 67 | Болт М12х35.36 [ГОСТ 7798-70] | Болт М12х35.36 | |
| 68 | Болт М12х65.36 [ГОСТ 7798-70] | Болт М12х65.36 | |
| 71 | Гайка М16.5 [ГОСТ 5915-70] | Гайка М16.5 | |
| 75 | Шайба 8.65Г [ГОСТ 6402-70] | Шайба 8.65Г | |
| 76 | Шайба 10.65Г [ГОСТ 6402-70] | Шайба 10.65Г | |
| 77 | Шайба 12.65Г [ГОСТ 6402-70] | Шайба 12.65Г | |
| 84 | Шплинт 2х16 [ГОСТ 397-79] | Шплинт 2х16 | |
| 87 | Кольцо 012-016-25-2-2 [ГОСТ 9833-73] | Кольцо 012-016-25-2-2 | |
| 88 | Кольцо 020-025-30-2-2 [ГОСТ 9833-73] | Кольцо 020-025-30-2-2 | |
| 89 | Кольцо 024-030-36-2-2 [ГОСТ 9833-73] | Кольцо 024-030-36-2-2 | |
| 90 | Кольцо 066-072-36-2-2 [ГОСТ 9833-73] | Кольцо 066-072-36-2-2 | |
| 92 | Кольцо В30 [ГОСТ 13940-86] | Кольцо В30 | |
| 93 | Кольцо В72 [ГОСТ 13940-86] | Кольцо В72 | |
| 96 | Подшипник 305 [ГОСТ 8338-75] | Подшипник 305 | |
| 97 | Подшипник 306 [ГОСТ 8338-75] | Подшипник 306 | |
| 98 | Подшипник 208К [ГОСТ 8338-75] | Подшипник 208К | |
| 99 | Подшипник 102306 [ГОСТ 8328-75] | Подшипник 102306 | |
| 100 | Шарик Б 7.938-200 [ГОСТ 3722-81] | Шарик Б 7.938-200 | |
| 102 | Цепь ПР-25,4-6000 L = 8 звеньев [ГОСТ 13568-75] | Цепь ПР-25,4-6000 L = 8 звеньев | |
| 108 | Ось 6-8В12х30.45 [Норм.-000701.503 ГОСТ 9650-80] | Ось 6-8В12х30.45 | |
| 112 | Норм-00.683.039 СТП 192-81 | Прокладка 3.2.63.80 | |
| 113 | Норм-000.683.038 СТП 192-81 | Прокладка 3.63.80 | |
| 114 | Норм-000.683.043 СТП 192-81 | Прокладка 3.3.73.90 | |
| 115 | Норм-00.683.096 СТП 192-81 | Прокладка 6.102.125 | |
| 118 | У2201.1 | Прокладка 12 | |
| 120 | 177240 | Ручка 11 П40МНБ-64 |
Содержащиеся в справочниках-каталогах запасные части и детали не предлагаются к продаже, а носят исключительно информационный характер