Вернуться на главную
Поиск
Каталоги запчастей к технике
Спецтехника
ДЭЗ
ЭТЦ-1609
Механизм фиксации
Каталог запасных частей к технике: ДЭЗ ЭТЦ-1609. Механизм фиксации
zoom-in
zoom-out
enlarge
shrink
circle-right
circle-left
file-text2
info
cart
Тип техники
Не выбрано
Легковые автомобили
Грузовые автомобили и прицепы
Автобусы
Сельхозтехника
Спецтехника
Двигатели
Мототехника
Марка
Не выбрано
Ammann
BOMAG
CARMIX
CASE IH
Changlin
ChengGong
Dimex
Doosan
DYNAPAC
Foton
HAMM
Hidromek
Hitachi
Hyundai
JCB
JLG
John Deere
Komatsu
LIEBHERR
LiuGong
Lonking (LongGong)
Luneng
MANITOU
Mitsuber
New Holland
PENGPU
RM-Terex
SANY
SDLG
SEM
Shantui
Shehwa HBXG
Soosan
TIGARBO
VOGELE
Volvo
WAY
WIRTGEN
XCMG
XGMA
Xiamen
YTO
Yuchai
Zoomlion
Автокран
АЗСМ
Алтайлесмаш
Амкодор
АОМЗ
Атек
АТЗ
Балканкар Рекорд
БелАЗ
Беловеж
Борекс
Брянский Арсенал
Булат
ВЭКС
ГАЗ
Геомаш
Гидромаш
Донекс
Дормаш
Дормашина
Дорэлектромаш
ДЭЗ
ЕлАЗ
ЗЗГТ
Ижнефтемаш
Канаш-электрокар
КЗКТ
ККЗ
Клевер
Клинцовский автокрановый завод
КМЗ
КМЗ 1 Мая
Ковровец
Коммаш
Кранэкс
КЭЗ
КЭМЗ
ЛЗА
МАЗ
МЗИК
МЗКМ
МЗКТ
Михневский РМЗ
МоАЗ
Мозырский МЗ
МТЗ
ОЗП
Онежец
ПАО "ТЗА"
ППС Детва
Промтрактор
ПТЗ
Раскат
СпецАгрегат
ТВЭКС
ТТМ
УВЗ
Угличмаш
УЗТМ
ХТЗ
ЧЗКМ
ЧСДМ
ЧТЗ
ЭКСКО
ЭКСМАШ
ЮрМаш
Модель
Не выбрано
ФД-500
ФД-500 (каталог 2006 г)
ЭТЦ-1609
ЭТЦ-1609 (каталог 2006 г)
ЭТЦ-201
Схема
>
Не выбрано
Схема гидравлическая
Схема электрическая
Схема кинематическая
Рама
Бульдозер
Ходоуменьшитель
Ходоуменьшитель
Доработка трактора
Гидросистема
Гидросистема
Рабочий орган
Кожух нижний
Стяжка
Механизм фиксации
Башмак зачистной
Шнек
Натяжное устройство
Рама рабочего органа
Ролик
Рабочий орган
Натяжное устройство
Механизм переключения
Цепи рабочие
Цепь рабочая универсальная
Общий вид ЭТЦ-1609
Общий вид ЭТЦ-1609 БД
Привод рабочего органа
Привод рабочего органа
Привод рабочего органа
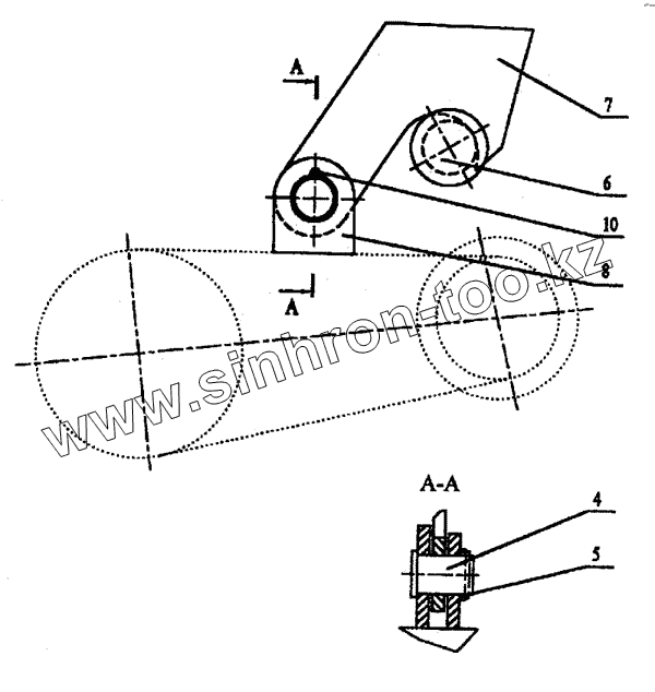
4
5
6
7
8
10
Позиция на иллюстрации
Заводской номер детали
Название детали
ЭТЦ-1609.25.00.000
ЭТЦ-1609.25.00.000
Механизм фиксации
4
ЭТЦ-1609.25.00.001
Палец
5
ЭТЦ-1609.25.00.002
Шайба
6
ЭТЦ-1609.25.00.003
Палец
7
ЭТЦ-1609.25.00.004
Крюк
8
ЭТЦ-1609.25.01.002
Проушина
10
Шплинт 80х80 [ГОСТ 397-79]
Шплинт 80х80
Содержащиеся в справочниках-каталогах запасные части и детали не предлагаются к продаже, а носят исключительно информационный характер
Дополнительная информация
×
Название:
Номер:
Примечание: