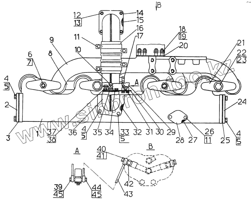
Каталог запасных частей к технике: ЧТЗ Т-170М-01. Установка коллекторов на дизеле с ЭССП
1
2
3
4
4
4
5
5
5
5
6
7
8
9
10
11
11
12
13
14
15
16
17
18
19
20
21
22
23
24
25
26
27
28
29
30
31
32
33
34
35
36
37
38
39
40
41
42
43
44
45
45
| Позиция на иллюстрации | Заводской номер детали | Название детали | |
|---|---|---|---|
| 51-05-26СП | 51-05-26СП | Установка коллекторов | |
| 1 | 51-05-299СП | Коллектор впускной | |
| 2 | 51-05-325 | Крышка | |
| 3 | 700-40-7403 | Прокладка | |
| 4 | Болт М10х25.58.019 | Болт М10х25.58.019 | |
| 5 | Шайба 10 ОТ 65Г 09 | Шайба 10 ОТ 65Г 09 | |
| 6 | 700-29-2210 | Шпилька | |
| 7 | 3013 | Гайка | |
| 8 | 700-40-3880СП | Прокладка | |
| 9 | 51-05-345 | Коллектор выпускной | |
| 10 | 11 02.3740 | Свеча факельная штифтовая | |
| 11 | 51-05-115СП | Хомут | |
| 12 | Гайка М8х1-6.019 | Гайка М8х1-6.019 | |
| 13 | Шайба 8Т 65Г 09 | Шайба 8Т 65Г 09 | |
| 14 | 51-05-135СП | Патрубок | |
| 15 | 700-40-2758 | Прокладка | |
| 16 | 700-40-3484 | Рукав | |
| 17 | 375 | Пробка | |
| 18 | Шпилька 2М10(3Р/6q)х35.66.083 | Шпилька 2М10(3Р/6q)х35.66.083 | |
| 19 | Гайка М10.6.089 | Гайка М10.6.089 | |
| 20 | 700-40-2754СП | Прокладка | |
| 21 | 05688-1 | Планка | |
| 22 | 700-28-2486 | Болт | |
| 23 | 3178 | Шайба | |
| 24 | 16-05-279-01 | Крышка | |
| 25 | 700-40-7420 | Прокладка | |
| 26 | Болт М8х20.58.019 | Болт М8х20.58.019 | |
| 27 | 46238 | Прокладка | |
| 28 | 16-05-433 | Крышка | |
| 29 | 1102.3741 | Клапан топливный электромагнитный | |
| 30 | 51-05-111 | Кронштейн | |
| 31 | 51-05-150СП | Трубка | |
| 32 | 700-40-2233 | Прокладка | |
| 33 | Болт М10х20.58.019 | Болт М10х20.58.019 | |
| 34 | 51-05-169 | Прокладка | |
| 35 | 700-40-260-13 | Прокладка | |
| 36 | 51-05-149СП | Патрубок | |
| 37 | Болт М6х16.58.019 | Болт М6х16.58.019 | |
| 38 | Шайба 6Т 65Г 09 | Шайба 6Т 65Г 09 | |
| 39 | 40938 | Кольцо | |
| 40 | 700-41-2716 | Штуцер | |
| 41 | 51-06-8 | Кольцо | |
| 42 | 700-41-3415 | Штуцер | |
| 43 | 51-05-327СП | Труба | |
| 44 | 40938 | Кольцо | |
| 45 | 700-41-2932 | Штуцер |
Содержащиеся в справочниках-каталогах запасные части и детали не предлагаются к продаже, а носят исключительно информационный характер