Каталог запасных частей к технике: ЧТЗ Т-170М-01. Установка гидравлической системы
1
2
2
2
2
2
2
2
2
3
4
5
6
6
7
8
9
10
11
11
11
11
12
13
14
15
15
16
16
16
17
17
18
18
19
20
20
21
22
23
23
24
25
26
27
28
29
30
31
31
31
32
33
34
34
35
36
37
38
39
40
40
41
42
42
43
44
44
45
45
46
47
48
49
50
51
52
53
54
55
56
57
58
59
60
61
62
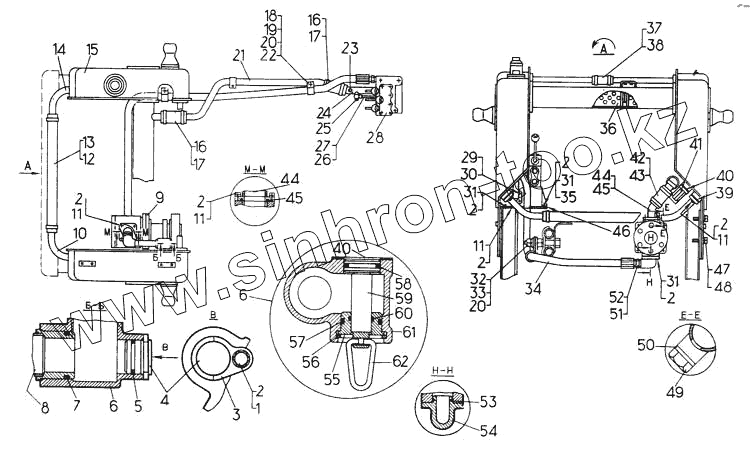
| Позиция на иллюстрации | Заводской номер детали | Название детали | |
|---|---|---|---|
| Н.036.88.760 | Н.036.88.760 | Рукав высокого давления II-25 армированный | |
| 50-26-206-01-СП | 50-26-206-01-СП | Баки без цапф | |
| 48-26-4СП | 48-26-4СП | Установка гидравлической системы на тракторы болотоходных моделей | |
| 50-26-26СП | 50-26-26СП | Установка гидравлической системы на тракторы Т-170.00, Т-170.01 | |
| Н.036.88.760-01 | Н.036.88.760-01 | Рукав высокого давления II-25 для тропиков | |
| 50-26-268СП | 50-26-268СП | Труба | |
| 1 | Болт М12х25.58.019 | Болт М12х25.58.019 | |
| 2 | Шайба 12 ОТ 65Г 09 | Шайба 12 ОТ 65Г 09 | |
| 3 | 18-15-113-СП | Планка | |
| 4 | 18-26-678 | Втулка | |
| 5 | Кольцо 032-040-46-2-2 | Кольцо 032-040-46-2-2 | |
| 6 | 48-26-115-СП | Кран | |
| 7 | 700-40-7321 | Кольцо | |
| 8 | 48-26-135-СП | Патрубок | |
| 9 | 50-26-85СП | Установка привода насоса | |
| 10 | 18-26-518-СП | Труба | |
| 11 | Болт М12х30.58.019 | Болт М12х30.58.019 | |
| 12 | 700-46-2141 | Рукав | |
| 13 | 700-41-2223-СП | Хомут | |
| 14 | 18-26-517-СП | Труба | |
| 15 | 48-26-210-СП | Баки гидросистемы болотоходных тракторов | |
| 15 | 50-26-206-СП | Баки гидросистемы | |
| 16 | 700-40-5968 | Рукав | |
| 16 | 700-40-5968 | Рукав | |
| 17 | 18-26-320СП | Хомут | |
| 18 | 50-26-206 | Скоба и планка (составной хомут) | |
| 18 | 50-26-207 | Скоба и планка (составной хомут) | |
| 19 | Болт М10х20.58.019 | Болт М10х20.58.019 | |
| 20 | Шайба 10 ОТ 65Г 09 | Шайба 10 ОТ 65Г 09 | |
| 21 | 50-26-151 | Труба | |
| 22 | 700-40-6827 | Прокладка | |
| 23 | Датчик ММ 126-Д аварийного давления масла | Датчик ММ 126-Д аварийного давления масла | |
| 23 | Датчик ММ 126-ДТ для тропиков | Датчик ММ 126-ДТ для тропиков | |
| 24 | 50-26-168-СП | Труба | |
| 25 | Р150-075 | Штуцер | |
| 26 | 50-26-124-СП | Труба | |
| 27 | 40920 | Кольцо | |
| 28 | 50-26-702-СП | Гидрораспределитель | |
| 29 | Болт М8х25.88.35.019 | Болт М8х25.88.35.019 | |
| 30 | Шайба 8Т 65Г 09 | Шайба 8Т 65Г 09 | |
| 31 | 28556 | Болт | |
| 32 | Гайка М10.6.019 | Гайка М10.6.019 | |
| 33 | 31308-1 | Шайба | |
| 34 | Н.036.88.750 | Рукав высокого давления II-25 армированный | |
| 34 | Н.036.88.750-01 | Рукав высокого давления II-25, армированный | |
| 35 | 3011 | Гайка | |
| 36 | 50-26-394СП | Фильтр гидросистемы | |
| 37 | 700-40-3487 | Рукав | |
| 38 | 700-41-2228-СП | Хомут | |
| 39 | 700-40-7341 | Прокладка | |
| 40 | 700-40-7325 | Прокладка | |
| 41 | 50-26-139 | Гайка | |
| 42 | 700-40-3552 | Рукав | |
| 42 | 700-40-3552 | Рукав | |
| 43 | 37-26-139-СП | Хомут | |
| 44 | 18-26-441-СП | Патрубок | |
| 45 | Кольцо 060-070-58-2-2 | Кольцо 060-070-58-2-2 | |
| 46 | 18-26-436 | Планка | |
| 47 | Болт М24х65.110.019 ГОСТ 22353-77 | Болт М24х65.110.019 ГОСТ 22353-77 | |
| 48 | Шайба 24Т 65Г 09 | Шайба 24Т 65Г 09 | |
| 49 | 18-26-350-СП | Пробка магнитная | |
| 50 | Кольцо 018-022-25-2-2 | Кольцо 018-022-25-2-2 | |
| 51 | 46764 | Кольцо | |
| 52 | 700-41-3269 | Штуцер | |
| 53 | Кольцо 038-046-46-2-2 | Кольцо 038-046-46-2-2 | |
| 54 | 50-26-129 | Муфта угловая | |
| 55 | 18-26-397 | Втулка | |
| 56 | 700-58-2504 | Кольцо | |
| 57 | Кольцо 042-050-46-2-2 | Кольцо 042-050-46-2-2 | |
| 58 | Кольцо 035-043-46-2-2 | Кольцо 035-043-46-2-2 | |
| 59 | 18-26-396 | Поршень | |
| 60 | Кольцо 022-028-36-2-2 | Кольцо 022-028-36-2-2 | |
| 61 | 48-26-30 | Корпус | |
| 62 | 18-26-616 | Фиксатор |
Содержащиеся в справочниках-каталогах запасные части и детали не предлагаются к продаже, а носят исключительно информационный характер