Каталог запасных частей к технике: ЧТЗ Т-170М-01. Генератор
1
2
2
2
2
2
3
3
4
4
4
4
4
4
5
6
7
8
9
10
11
12
13
13
15
16
17
17
18
19
19
20
21
22
22
23
23
24
24
25
26
27
28
29
30
30
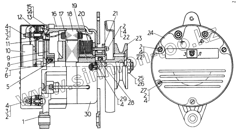
| Позиция на иллюстрации | Заводской номер детали | Название детали | |
|---|---|---|---|
| 7007.3701000 | 7007.3701000 | Генератор тропического исполнения | |
| 7006.3701000 | 7006.3701000 | Генератор | |
| 1 | 46.3701081 | Втулка | |
| 2 | Шайба 5.01.016 | Шайба 5.01.016 | |
| 3 | Гайка М5-6Н.5.016 | Гайка М5-6Н.5.016 | |
| 4 | 5Л-65-Г-06 | Шайба (498161004) | |
| 5 | 6-180502К1С9 | Шарикоподшипник | |
| 6 | Гайка М12-6Н.04А.019 | Гайка М12-6Н.04А.019 | |
| 7 | Шайба 12Л 65Г 06 | Шайба 12Л 65Г 06 | |
| 8 | 69.3701003 | Вентилятор | |
| 9 | 69.3701300 | Крышка задняя | |
| 10 | 2412.3702 | Регулятор напряжения 2412.3702 | |
| 11 | 69.3701021 | Изолятор | |
| 12 | Блок выпрямителя БПВ 42-100-02 | Блок выпрямителя БПВ 42-100-02 | |
| 13 | Шайба 6.01.016 | Шайба 6.01.016 | |
| 13 | Шайба 6.02.3кп.019 | Шайба 6.02.3кп.019 | |
| 15 | 45 9816 1051 | Шайба 6Л 65Г 06 | |
| 16 | 69.3701080 | Болт стяжной | |
| 17 | 69.3701200 | Ротор | |
| 17 | 6907.3701200 | Ротор тропического исполнения | |
| 18 | 70.3701100 | Статор | |
| 19 | 69.3701005 | Втулка | |
| 19 | 6907.3701005 | Втулка тропического исполнения | |
| 20 | 69.3701060 | Катушка возбуждения | |
| 21 | 46.3701007 | Крышка подшипника | |
| 22 | Винт В.М5-6х26.48.016 | Винт В.М5-6х26.48.016 | |
| 23 | 70.3701050 | Шкив с вентилятором | |
| 23 | 7007.3701050 | Шкив с вентилятором | |
| 24 | Гайка М6-6Н.5.016 | Гайка М6-6Н.5.016 | |
| 24 | 70.3701001 | Крышка регулирующего устройства | |
| 25 | Гайка М16х1,5-6Н.04А.019 | Гайка М16х1,5-6Н.04А.019 | |
| 26 | Шайба 16Л 65Г 06 | Шайба 16Л 65Г 06 | |
| 27 | Винт В.М5-6gх14.5.48.016 | Винт В.М5-6gх14.5.48.016 | |
| 28 | 6-180603К4С9 | Шарикоподшипник (46198271402) | |
| 29 | Винт В.М5-6gх10.5.48.016 | Винт В.М5-6gх10.5.48.016 | |
| 30 | 69.3701400 | Крышка передняя | |
| 30 | 6907.3701400 | Крышка передняя тропического исполнения |
Содержащиеся в справочниках-каталогах запасные части и детали не предлагаются к продаже, а носят исключительно информационный характер