Каталог запасных частей к технике: ЧТЗ Т-130. Подшипники
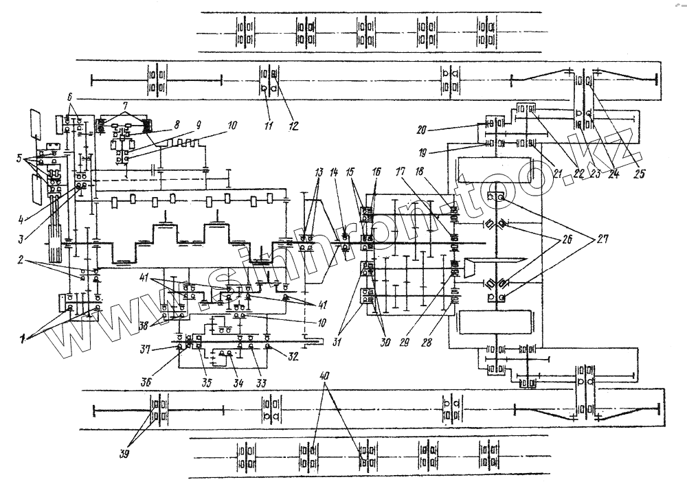
1
2
3
4
5
6
7
8
9
10
10
11
12
13
14
15
16
17
18
19
20
21
22
23
24
25
26
27
28
29
30
31
32
33
34
35
36
37
38
39
40
41
41
| Позиция на иллюстрации | Заводской номер детали | Название детали | |
|---|---|---|---|
| 1 | 118 | Подшипник шариковый радиальный однорядный | |
| 2 | 407 | Подшипник шариковый радиальный однорядный | |
| 3 | 307 | Подшипник шариковый радиальный однорядный | |
| 4 | 308 | Подшипник шариковый радиальный однорядный | |
| 5 | 206К | Подшипник шариковый радиальный однорядный | |
| 6 | 304 | Подшипник шариковый радиальный однорядный | |
| 7 | 941/15 | Подшипник роликовый игольчатый с одним наружным штампованным кольцом | |
| 8 | 8205 | Подшипник шариковый упорный однорядный | |
| 9 | 8104 | Подшипник шариковый упорный однорядный | |
| 10 | 203 | Подшипник шариковый радиальный однорядный | |
| 11 | 310 | Подшипник шариковый радиальный однорядный | |
| 12 | 2310К | Подшипник роликовый радиальный с короткими цилиндрическими роликами | |
| 13 | 180308У1С9Ш | Подшипник шариковый радиальный однорядный | |
| 14 | 46118 | Подшипник шариковый радиально-упорный однорядный | |
| 15 | 312 | Подшипник шариковый радиальный однорядный | |
| 16 | 2312К | Подшипник роликовый радиальный с короткими цилиндрическими роликами | |
| 17 | 402311К | Подшипник роликовый однорядный с короткими цилиндрическими роликами со стопорным гнездом на наружном кольце | |
| 18 | 402411КМ | Подшипник роликовый однорядный с короткими цилиндрическими роликами со стопорным гнездом на наружном кольце | |
| 19 | 70-12315КМ | Подшипник роликовый радиальный с короткими цилиндрическими роликами | |
| 20 | 70-42314КМ | Подшипник роликовый радиальный с короткими цилиндрическими роликами | |
| 21 | 70-42612К | Подшипник роликовый радиальный с короткими цилиндрическими роликами | |
| 22 | 70-42415КМ | Подшипник роликовый радиальный с короткими цилиндрическими роликами | |
| 23 | 2224КМ | Подшипник роликовый радиальный с короткими цилиндрическими роликами | |
| 24 | 2228КМ | Подшипник роликовый радиальный с короткими цилиндрическими роликами | |
| 25 | 228 | Подшипник шариковый радиальный однорядный | |
| 26 | 7516М | Подшипник роликовый конический однорядный | |
| 27 | 46120 | Подшипник шариковый радиально-упорный однорядный | |
| 28 | 402611 КМ | Подшипник роликовый однорядный с короткими цилиндрическими роликами со стопорным гнездом на наружном кольце | |
| 29 | 402715КМ | Подшипник роликовый однорядный с короткими цилиндрическими роликами со стопорным гнездом на наружном кольце | |
| 30 | 2311К | Подшипник роликовый радиальный с короткими цилиндрическими роликами | |
| 31 | 311 | Подшипник шариковый радиальный однорядный | |
| 32 | 408 | Подшипник шариковый радиальный однорядный | |
| 33 | 108 | Подшипник шариковый радиальный однорядный | |
| 34 | 113 | Подшипник шариковый радиальный однорядный | |
| 35 | 8106 | Подшипник шариковый упорный однорядный | |
| 36 | 8109 | Подшипник шариковый упорный однорядный | |
| 37 | 305 | Подшипник шариковый радиальный однорядный | |
| 38 | 60201 | Подшипник шариковый радиальный однорядный с одной защитной шайбой | |
| 39 | 9Н2614КМ | Подшипник роликовый радиальный с короткими цилиндрическими роликами | |
| 40 | 954712К4 | Подшипник роликовый радиальный с длинными цилиндрическими роликами с бортами на внутреннем кольце | |
| 41 | 206 | Подшипник шариковый радиальный однорядный |
Содержащиеся в справочниках-каталогах запасные части и детали не предлагаются к продаже, а носят исключительно информационный характер