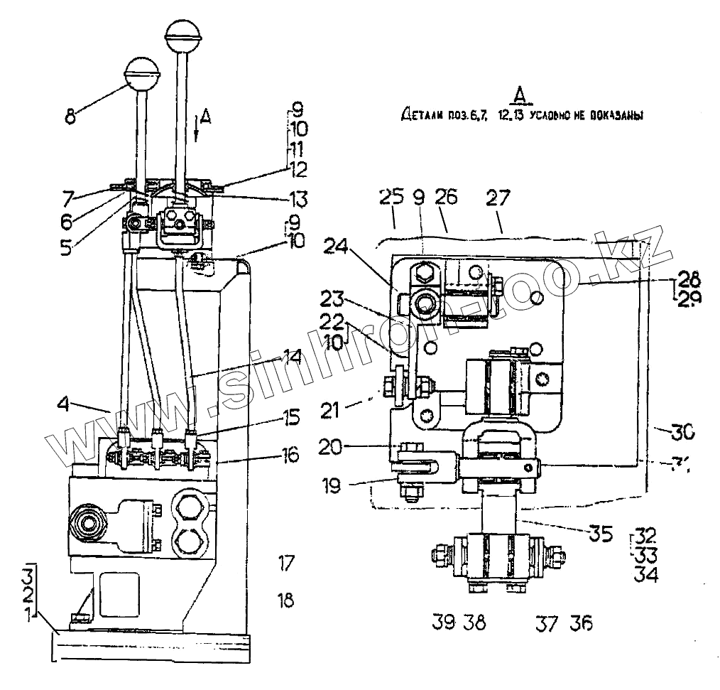
Каталог запасных частей к технике: ЧТЗ Т-10.02. Управление гидрораспределителем
1
2
3
4
5
6
7
8
9
9
9
10
10
10
11
12
13
14
15
16
17
18
19
20
21
22
23
24
25
26
27
28
29
30
31
32
33
34
35
36
37
38
39
| Позиция на иллюстрации | Заводской номер детали | Название детали | |
|---|---|---|---|
| 64-82-62СП | 64-82-62СП | Управление гидрораспределителем | |
| 1 | 28558 | Болт | |
| 2 | [Шайба 12 ОТ65Г 09] | Шайба 12 ОТ65Г 09 | |
| 3 | 3011 | Гайка | |
| 4 | 64-82-150 | Тяга | |
| 5 | 700-38-2525 | Пружина | |
| 6 | 700-40-7781 | Уплотнитель | |
| 7 | 64-82-146 | Лист | |
| 8 | 13310СП | Рукоятка | |
| 9 | [Болт М10х25.58.019] | Болт М10х25.58.019 | |
| 10 | [Шайба 10 ОТ 65Г 09] | Шайба 10 ОТ 65Г 09 | |
| 11 | [Шайба 10.02.3КП] | Шайба 10.02.3КП | |
| 12 | 700-40-7779 | Крышка | |
| 13 | 700-40-7780 | Уплотнитель | |
| 14 | 64-82-49 | Тяга | |
| 15 | 62-26-621СП | Шарнир | |
| 16 | 64-82-108 | Рычаг | |
| 17 | [Гидрораспределитель Р160-3/1-111] | Гидрораспределитель Р160-3/1-111 | |
| 18 | 64-82-256СП | Опора | |
| 19 | 64-82-89 | Палец | |
| 20 | 700-28-2483-01 | Болт | |
| 21 | 700-28-2483 | Болт | |
| 22 | [Гайка М10.6.019] | Гайка М10.6.019 | |
| 23 | 64-82-257СП | Рычаг | |
| 24 | 64-82-37 | Валик | |
| 25 | 64-82-113 | Кронштейн | |
| 26 | [Подшипник 604703Е] | Подшипник 604703Е | |
| 27 | 64-82-43 | Ригель | |
| 28 | [Болт М8х16.58.019] | Болт М8х16.58.019 | |
| 29 | [Шайба 8Т 65Г 09] | Шайба 8Т 65Г 09 | |
| 30 | 64-82-41 | Проставка | |
| 31 | 64-82-40 | Вилка | |
| 32 | [Болт М6х45.58.019] | Болт М6х45.58.019 | |
| 33 | [Гайка М6.6.019] | Гайка М6.6.019 | |
| 34 | [Шайба 6Т 65Г 09] | Шайба 6Т 65Г 09 | |
| 35 | 64-82-258СП | Рычаг | |
| 36 | [Подшипник 941/17 ШС-10] | Подшипник 941/17 ШС-10 | |
| 37 | 64-82-57 | Цапфа | |
| 38 | 64-82-158 | Вилка | |
| 39 | 31437 | Шайба |
Содержащиеся в справочниках-каталогах запасные части и детали не предлагаются к продаже, а носят исключительно информационный характер