Каталог запасных частей к технике: ЧТЗ Т-10.02. Управление дизелем (с пусковым двигателем)
1
1
2
3
4
4
4
4
4
5
5
6
6
6
7
8
8
9
9
10
10
10
10
11
12
13
14
15
16
17
17
18
18
19
19
19
20
21
22
23
24
25
26
27
28
29
30
31
32
32
33
34
35
36
37
38
39
39
40
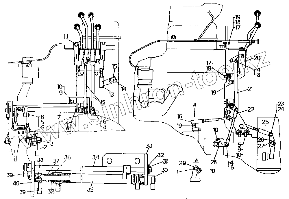
| Позиция на иллюстрации | Заводской номер детали | Название детали | |
|---|---|---|---|
| 51-74-10СП | 51-74-10СП | Управление дизелем | |
| 1 | 700-34-2014 | Шпонка | |
| 2 | 51-74-2 | Рычаг | |
| 3 | 51-74-10 | Валик | |
| 4 | [Шплинт 2,5х25] | Шплинт 2,5х25 | |
| 5 | 31308-1 | Шайба | |
| 6 | 700-47-2045 | Ось | |
| 7 | 51-74-130СП | Мостик переходной | |
| 8 | 700-47-2075 | Ось | |
| 9 | [Шайба 10 ОТ 65Г 09] | Шайба 10 ОТ 65Г 09 | |
| 10 | [Болт М10х30.58.019] | Болт М10х30.58.019 | |
| 11 | 51-74-220СП | Тяга | |
| 12 | 51-74-131СП | Тяга | |
| 13 | 16-74-196СП | Тяга | |
| 14 | 16-04-23 | Рычаг | |
| 15 | [Болт М10х30.58.019] | Болт М10х30.58.019 | |
| 16 | 16-74-185СП | Тяга | |
| 17 | [Болт М12х30.58.019] | Болт М12х30.58.019 | |
| 18 | [Гайка М12.6.019] | Гайка М12.6.019 | |
| 19 | [Шайба 12 ОТ 65Г 09] | Шайба 12 ОТ 65Г 09 | |
| 20 | 51-74-208СП | Блок управления дизелем с пусковым двигателем | |
| 21 | 51-74-46 | Тяга | |
| 22 | 51-74-133СП | Тяга | |
| 23 | 17317 | Палец | |
| 24 | [Шплинт 3,2х25] | Шплинт 3,2х25 | |
| 25 | 50-74-237СП | Тяга | |
| 26 | 21-74-1 | Рычаг | |
| 27 | [Шплинт 5х50] | Шплинт 5х50 | |
| 28 | 17-74-43 | Рычаг | |
| 29 | 51-74-74 | Рычаг | |
| 30 | 51-74-188СП | Валик | |
| 31 | [Шплинт 3,2х22] | Шплинт 3,2х22 | |
| 32 | 31484 | Шайба | |
| 33 | 51-74-136СП | Кронштейн | |
| 34 | 51-74-135СП | Валик | |
| 35 | 51-74-137СП | Валик | |
| 36 | 700-77-84-01 | Сальник | |
| 37 | 38356 | Пружина | |
| 38 | [Шплинт 3,2х40] | Шплинт 3,2х40 | |
| 39 | 51-74-7 | Рычаг | |
| 40 | 51-74-50 | Кронштейн |
Содержащиеся в справочниках-каталогах запасные части и детали не предлагаются к продаже, а носят исключительно информационный характер