Каталог запасных частей к технике: ЧТЗ Т-10.02. Кривошипно-шатунный механизм дизеля
1
2
2
3
4
5
6
7
8
8
8
8
9
9
9
10
10
10
10
11
12
13
14
15
16
17
18
19
20
21
22
23
24
25
26
26
27
28
29
29
29
29
30
30
30
31
32
33
34
35
36
| Позиция на иллюстрации | Заводской номер детали | Название детали | |
|---|---|---|---|
| А23.01-10314А-01 | А23.01-10314А-01 | Верхний вкладыш заднего коренного подшипника | |
| А23.01-10003А-01 | А23.01-10003А-01 | Вкладыш шатунного подшипника верхний | |
| А23.01-10004А-0 | А23.01-10004А-0 | Вкладыш шатунного подшипника | |
| А23.01-10308А-01 | А23.01-10308А-01 | Верхний вкладыш переднего коренного подшипника | |
| А23.01-10309А-01 | А23.01-10309А-01 | Вкладыш коренного подшипника | |
| 65-03-3СП | 65-03-3СП | Кривошипно-шатунный механизм с пуском дизеля электростартером | |
| 65-03-2СП | 65-03-2СП | Кривошипно-шатунный механизм дизеля с пуском пусковым двигателем | |
| А23.01-10310А-01 | А23.01-10310А-01 | Вкладыш коренного подшипника | |
| А23.01-10311А-01 | А23.01-10311А-01 | Нижний вкладыш промежуточных коренных подшипников | |
| А23.01-10312А-01 | А23.01-10312А-01 | Нижний вкладыш переднего коренного подшипника | |
| А23.01-10313А-01 | А23.01-10313А-01 | Нижний вкладыш заднего коренного подшипника | |
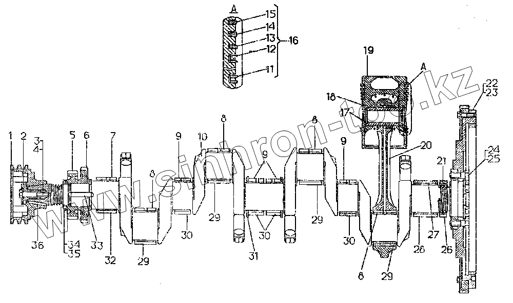
| 1 | 14-03-12 | Шкив коленчатого вала | |
| 2 | 03709 | Болт | |
| 2 | 51-03-15 | Стопор | |
| 3 | 03331 | Болт | |
| 4 | 31337 | Пластина замковая | |
| 5 | 16-03-20 | Шестерня | |
| 6 | 1S--3-37 | Шестерня | |
| 7 | А23.01-10308А | Вкладыш коренного подшипника | |
| 8 | А23.01-10003А | Вкладыш шатунного подшипника | |
| 9 | А23.01-10310А | Верхний вкладыш промежуточных коренных подшипников | |
| 10 | 16-03-112 ОК СП | Вал коленчатый | |
| 10 | 16-03-112СП | Вал коленчатый | |
| 10 | 16-03-112 ОКШ СП | Вал коленчатый | |
| 10 | 16-03-112 ОШ СП | Вал коленчатый | |
| 11 | А27.17.83.072 | Кольцо маслосъемное | |
| 12 | А27.17.83.000 | Кольцо маслосъемное | |
| 13 | А27.07.01.064 | Кольцо компрессионное | |
| 14 | А27.07.02.069 | Кольцо компрессионное | |
| 15 | А27.07.02.162 | Кольцо компрессионное | |
| 16 | 51-03-122СП | Комплект поршневых колец нормального размера | |
| 17 | 16-03-50-01 | Палец поршневой | |
| 18 | 03306 | Замок | |
| 19 | 51-03-40 | Поршень | |
| 20 | 51-03-112СП | Шатун | |
| 21 | А23.01-10314А | Верхний вкладыш заднего коренного подшипника | |
| 22 | 65-03-103СП | Маховик | |
| 23 | 65-03-104СП | Маховик для дизеля с ЭССП | |
| 24 | 03327 | Болт | |
| 25 | 31335 | Пластина замковая | |
| 26 | А23.01-10315А | Нижний вкладыш заднего коренного подшипника | |
| 26 | А23.01-10315А-01 | Нижний вкладыш заднего коренного подшипника | |
| 27 | А23.01-10312А | Нижний вкладыш переднего коренного подшипника | |
| 28 | А23.01-10313А | Вкладыш коренного подшипника | |
| 29 | А23.01-10004А | Вкладыш шатунного подшипника | |
| 30 | А23.01-10311А | Нижний вкладыш промежуточных коренных подшипников | |
| 31 | А23.01-13701А | Полукольцо упорное | |
| 32 | А23.01-10309А | Нижний вкладыш переднего коренного подшипника | |
| 33 | 34106 | Шпонка | |
| 34 | 03323 | Гайка | |
| 35 | 16-03-49 | Шайба | |
| 36 | 34107 | Шпонка |
Содержащиеся в справочниках-каталогах запасные части и детали не предлагаются к продаже, а носят исключительно информационный характер