Каталог запасных частей к технике: ЧТЗ Т-10.02. Кабина (продолжение)
1
2
3
4
5
6
7
8
8
9
9
10
11
12
12
13
14
15
16
17
18
18
18
19
19
19
20
21
22
23
24
25
26
27
28
29
30
31
32
33
34
35
36
37
38
39
40
41
42
43
44
45
46
47
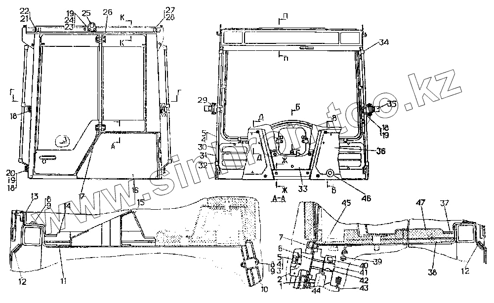
| Позиция на иллюстрации | Заводской номер детали | Название детали | |
|---|---|---|---|
| 64-59-4СП | 64-59-4СП | Кабина | |
| 1 | [Винт В.М6х16.58.019 ГОСТ 17475-80] | Винт В.М6х16.58.019 ГОСТ 17475-80 | |
| 2 | 64-13-147СП | Рычаг | |
| 3 | 31365-01 | Шайба | |
| 4 | [Шайба 8Т 65Г 09] | Шайба 8Т 65Г 09 | |
| 5 | [Болт М8х16.88.35.019] | Болт М8х16.88.35.019 | |
| 6 | 64-13-107 | Проставка | |
| 7 | 700-42-2551 | Боковина | |
| 8 | [Винт В.М6х16.58.019 ГОСТ 17473-80] | Винт В.М6х16.58.019 ГОСТ 17473-80 | |
| 9 | 31358-1 | Шайба | |
| 10 | 700-42-2550 | Боковина | |
| 11 | 700-40-7948 | Панель | |
| 12 | 700-40-7055 | Уплотнение | |
| 13 | 700-42-2549 | Накладка | |
| 14 | 700-40-7950 | Обшивка | |
| 15 | 700-42-2510 | Щиток | |
| 16 | 64-59-123СП | Каркас | |
| 17 | 50-59-541СП | Шарнир | |
| 18 | [Болт М10х30.58.019] | Болт М10х30.58.019 | |
| 19 | [Шайба 10 ОТ 65Г 09] | Шайба 10 ОТ 65Г 09 | |
| 20 | 31308-1 | Шайба | |
| 21 | 700-40-7756 | Обшивка | |
| 22 | 700-40-7758 | Обшивка | |
| 23 | [Болт М10х25.58.019] | Болт М10х25.58.019 | |
| 24 | 40S12 | Кольцо | |
| 25 | 50-59-1157 | Петля | |
| 26 | 50-59-523СП | Шарнир (И-И) | |
| 27 | 700-40-7759 | Обшивка | |
| 28 | 700-40-7760 | Обшивка | |
| 29 | 50-59-923 | Кронштейн | |
| 30 | 50-59-1165 | Накладка | |
| 31 | 50-59-411СП | Поручень | |
| 32 | 50-59-922 | Кронштейн | |
| 33 | 64-59-127 | Стенка | |
| 34 | 50-59-921 | Кронштейн | |
| 35 | 50-59-440СП | Защелка | |
| 36 | 64-59-159 | Крышка | |
| 37 | 700-42-2548 | Накладка | |
| 38 | 700-40-7947 | Панель | |
| 39 | 700-38-2089 | Пружина | |
| 40 | [Болт М8х25.88.35.019] | Болт М8х25.88.35.019 | |
| 41 | 64-13-102 | Валик | |
| 42 | 700-34-2021 | Шпонка | |
| 43 | 64-13-104 | Рамка | |
| 44 | 32205 | Штифт | |
| 45 | 64-13-148СП | Фланец | |
| 46 | [Болт М6х16.58.019] | Болт М6х16.58.019 | |
| 47 | 700-40-7949 | Обшивка |
Содержащиеся в справочниках-каталогах запасные части и детали не предлагаются к продаже, а носят исключительно информационный характер