Каталог запасных частей к технике: ЧТЗ Т-10.02. Гидроцилиндр
1
2
3
4
5
6
7
7
8
9
10
11
12
13
14
15
16
17
18
18
19
20
21
22
23
24
25
26
27
28
29
30
31
32
33
34
35
36
37
38
39
40
41
42
43
44
45
46
47
48
49
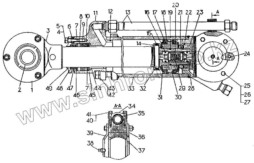
| Позиция на иллюстрации | Заводской номер детали | Название детали | |
|---|---|---|---|
| 18-26-270СП | 18-26-270СП | Гидроцилиндр | |
| 1 | 26859 | Крышка | |
| 2 | 26865 | Сфера | |
| 3 | 18-26-272СП | Шток | |
| 4 | [Болт М12-6gх35.58.019] | Болт М12-6gх35.58.019 | |
| 5 | [Шайба 12 65Г 05] | Шайба 12 65Г 05 | |
| 6 | 261255 | Прокладка | |
| 7 | 31482 | Шайба | |
| 8 | [Кольцо КН 60х80-2] | Кольцо КН 60х80-2 | |
| 9 | [Кольцо М60х80-2] | Кольцо М60х80-2 | |
| 10 | [Кольцо КО 60х80-2] | Кольцо КО 60х80-2 | |
| 11 | 37-26-219СП | Крышка | |
| 12 | [Кольцо У-100х95-2] | Кольцо У-100х95-2 | |
| 13 | 18-26-273СП | Труба | |
| 14 | 37-26-118 | Втулка | |
| 15 | 700-58-2340 | Кольцо | |
| 16 | [Кольцо У-30х25-4] | Кольцо У-30х25-4 | |
| 17 | [Манжета 75х100] | Манжета 75х100 | |
| 18 | 700-40-6082 | Кольцо | |
| 18 | 700-40-6093 | Кольцо | |
| 19 | [Кольцо У-50х45-2] | Кольцо У-50х45-2 | |
| 20 | 38350 | Пружина | |
| 21 | 700-41-2887 | Гайка | |
| 22 | [Шайба 48.02.01] | Шайба 48.02.01 | |
| 23 | 700-41-2888 | Гайка | |
| 24 | [Шпонка 3-8х7х20] | Шпонка 3-8х7х20 | |
| 25 | [Болт М10-6gх75.58.019] | Болт М10-6gх75.58.019 | |
| 26 | [Гайка М10.6.019] | Гайка М10.6.019 | |
| 27 | [Шайба 10 65Г 05] | Шайба 10 65Г 05 | |
| 28 | 37-26-207СП | Клапан | |
| 29 | 37-26-117 | Проставка | |
| 30 | 37-26-208СП | Поршень | |
| 31 | 37-26-126 | Упор | |
| 32 | 37-26-119 | Палец | |
| 33 | 18-26-271СП | Корпус | |
| 34 | 37-26-131-1 | Бугель | |
| 35 | 40564 | Прокладка | |
| 36 | 37-26-134 | Крышка | |
| 37 | 26866 | Сухарь | |
| 38 | [Масленка 1.3.Ц6] | Масленка 1.3.Ц6 | |
| 39 | 37-26-133 | Крышка | |
| 40 | [Болт М6-6gх35.56.019] | Болт М6-6gх35.56.019 | |
| 41 | [Шайба 6Т 65Г 09] | Шайба 6Т 65Г 09 | |
| 42 | [Болт М16х1,5-6gх60.109.45Х.019] | Болт М16х1,5-6gх60.109.45Х.019 | |
| 43 | [Шайба 16 ОТ 65Г 09] | Шайба 16 ОТ 65Г 09 | |
| 44 | 26879 | Втулка | |
| 45 | 700-58-2191 | Кольцо | |
| 46 | 26414 | Чистик | |
| 47 | 26415 | Чистик | |
| 48 | 26416 | Чистик | |
| 49 | 261245 | Скребок |
Содержащиеся в справочниках-каталогах запасные части и детали не предлагаются к продаже, а носят исключительно информационный характер