Каталог запасных частей к технике: ЧТЗ Т-10.02. Электрооборудование на дизеле с пусковым двигателем
1
1
1
1
1
2
2
2
2
2
3
3
3
4
5
6
7
8
9
10
10
11
11
12
13
13
14
14
15
16
17
18
19
20
21
22
23
24
25
26
27
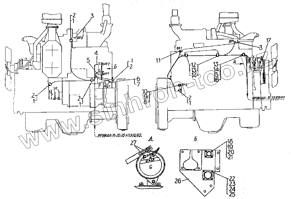
| Позиция на иллюстрации | Заводской номер детали | Название детали | |
|---|---|---|---|
| 64-10-158СП | 64-10-158СП | Электрооборудование на дизеле | |
| 1 | 41627 | Скоба | |
| 2 | 700-40-2654 | Прокладка | |
| 3 | [Датчик аварийного давления масла ММ 111-ВТ] | Датчик аварийного давления масла ММ 111-ВТ | |
| 3 | [Датчик аварийного давления масла ММ 111-В] | Датчик аварийного давления масла ММ 111-В | |
| 4 | 64-10-116СП | Жгут 8А | |
| 5 | 64-10-165СП | Жгут 22 | |
| 6 | 700-40-6286 | Наконечник | |
| 7 | 50-10-283СП | Провод 99 | |
| 8 | 64-10-44 | Переходник | |
| 9 | [Кольцо 14х20] | Кольцо 14х20 | |
| 10 | [Датчик указателя давления ММ 370-Т] | Датчик указателя давления ММ 370-Т | |
| 10 | [Датчик указателя давления ММ 370] | Датчик указателя давления ММ 370 | |
| 11 | [Датчик указателя температуры ТМ 100-ВТ] | Датчик указателя температуры ТМ 100-ВТ | |
| 11 | [Датчик указателя температуры ТМ 100-В] | Датчик указателя температуры ТМ 100-В | |
| 12 | 40839 | Кольцо | |
| 13 | 700-40-7924 | Трубка | |
| 14 | 700-41-3345 | Скоба | |
| 15 | [Болт М10х20.58.019] | Болт М10х20.58.019 | |
| 16 | 31308-1 | Шайба | |
| 17 | 50-10-374СП | Установка генератора | |
| 18 | [Винт В.М3-6gх16.58.019] | Винт В.М3-6gх16.58.019 | |
| 19 | [Гайка М3.6.019] | Гайка М3.6.019 | |
| 20 | [Шайбы 3Т 65Г 06] | Шайбы 3Т 65Г 06 | |
| 21 | 31311-1 | Шайба | |
| 22 | [Винт В.М4-6gх16.58.019] | Винт В.М4-6gх16.58.019 | |
| 23 | [Гайка М4.6.019] | Гайка М4.6.019 | |
| 24 | [Шайбы 4Т 65Г 06] | Шайбы 4Т 65Г 06 | |
| 25 | 31534 | Шайба | |
| 26 | 64-10-47 | Кронштейн | |
| 27 | 700-40-6285 | Наконечник |
Содержащиеся в справочниках-каталогах запасные части и детали не предлагаются к продаже, а носят исключительно информационный характер