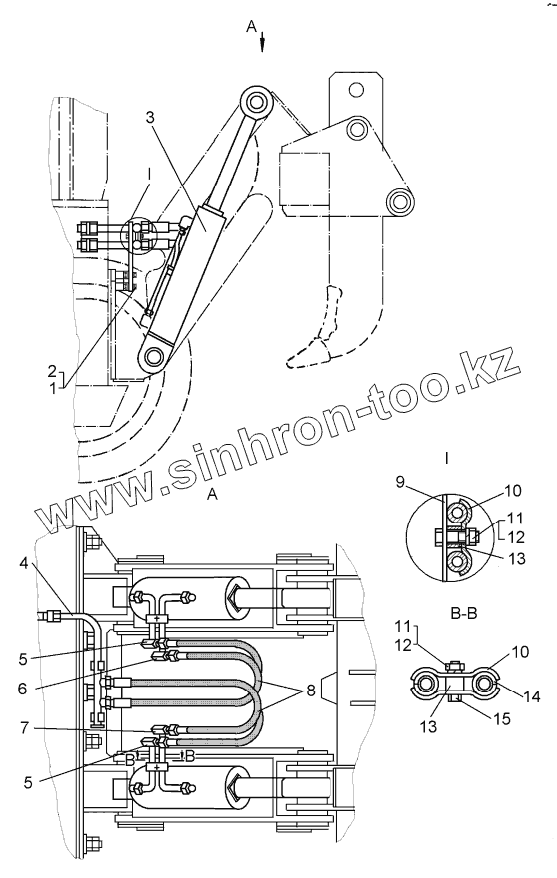
Каталог запасных частей к технике: ЧТЗ Рабочее оборудование Б10М. Установка гидроцилиндров и трубопроводов
1
2
3
4
5
5
6
7
8
8
9
10
10
11
11
12
12
13
13
14
15
| Позиция на иллюстрации | Заводской номер детали | Название детали | |
|---|---|---|---|
| 1 | БолтМ10-6gх25.58.019 | Болт | |
| 2 | Шайба10ОТ65Г09 | Шайба | |
| 3 | 50-50-225СП | Гидроцилиндр | |
| 4 | 50-50-126СП | Труба | |
| 5 | 50-50-145СП | Труба | |
| 6 | 50-50-146СП | Труба | |
| 7 | 50-50-147СП | Труба | |
| 8 | 64-26-27-06СП | Рукав с защитой | |
| 8 | 64-26-27-01СП | Рукав с защитой | |
| 9 | 50-50-135СП | Кронштейн | |
| 10 | 50-60-230 | Прижим | |
| 11 | 3011 | Гайка | |
| 12 | Шайба12ОТ65Г09 | Шайба | |
| 13 | 41832 | Втулка | |
| 14 | 42212 | Муфта | |
| 15 | БолтМ12-6gх45.58.019 | Болт |
Содержащиеся в справочниках-каталогах запасные части и детали не предлагаются к продаже, а носят исключительно информационный характер