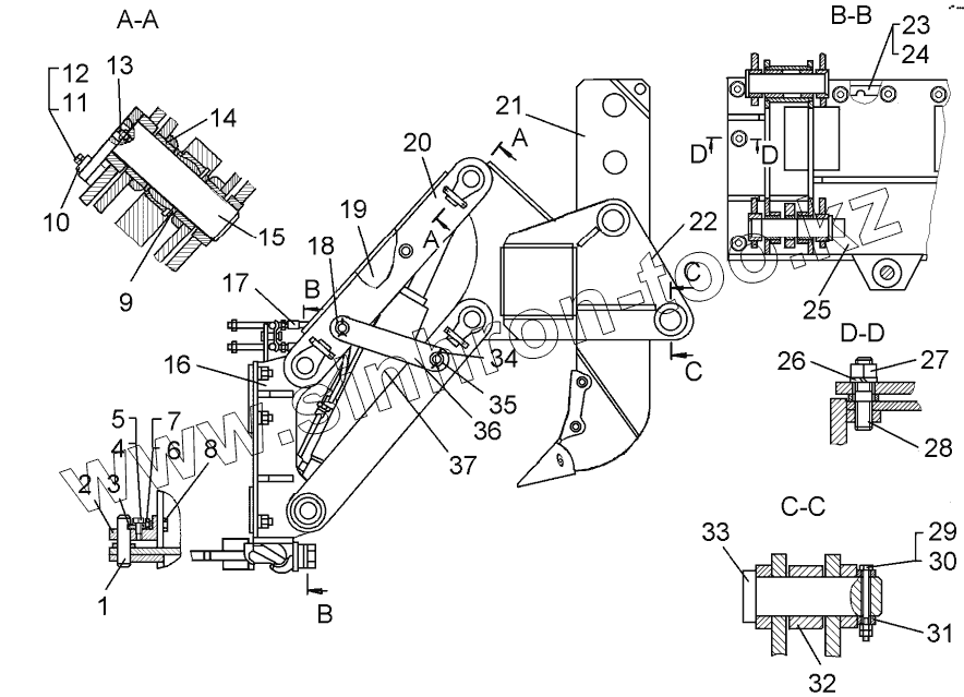
Каталог запасных частей к технике: ЧТЗ Рабочее оборудование Б10М. Оборудование рыхлительное 10Р, 10Н
50-50-4СП
50-50-1СП
1
2
3
4
5
6
7
8
9
10
11
12
13
14
14
15
16
17
18
18
19
20
21
22
22
23
24
25
26
27
28
29
30
31
32
33
34
35
36
37
| Позиция на иллюстрации | Заводской номер детали | Название детали | |
|---|---|---|---|
| 50-50-4СП | 50-50-4СП | Оборудование рыхлительное 10Н | |
| 50-50-1СП | 50-50-1СП | Оборудование рыхлительное 10Р | |
| 1 | 20445 | Ось | |
| 2 | 20444 | Кронштейн передний | |
| 3 | 20446 | Планка | |
| 4 | БолтМ12х1,25-8gх25.58.019 | Болт | |
| 5 | 700-31-2482 | Шайба | |
| 6 | ГайкаМ24.6.019 | Гайка | |
| 7 | Шайба24Т65Г09 | Шайба | |
| 8 | БолтМ24-8gх75.88.45.019 | Болт | |
| 9 | 50-50-302 | Кольцо | |
| 10 | 50-50-11 | Пластина | |
| 11 | БолтМ10-6gх25.58.019 | Болт | |
| 12 | Шайба10ОТ65Г09 | Шайба | |
| 13 | Масленка1.3Ц6 | Масленка | |
| 14 | 50-50-5 | Втулка | |
| 14 | 50-50-5-1 | Втулка | |
| 15 | 50-50-107СП | Ось | |
| 16 | 50-50-103СП | Рама опорная | |
| 17 | 64-26-27-06СП | Рукав с защитой | |
| 18 | 50-50-249СП | Оборудование рыхлительное | |
| 18 | 50-50-247СП | Оборудование рыхлительное | |
| 19 | 50-50-143СП | Тяга | |
| 20 | 50-50-144СП | Тяга | |
| 21 | 50-50-104СП | Зуб | |
| 22 | 50-50-105СП | Балка | |
| 22 | 50-50-210СП | Балка | |
| 23 | 50-50-216 | Прокладка | |
| 24 | 50-50-217 | Прокладка | |
| 25 | 50-50-248СП | Рама опорная | |
| 26 | Шайба3065Г09 | Шайба | |
| 27 | 30230 | Гайка | |
| 28 | 29338 | Шпилька | |
| 29 | БолтМ10-6gх120.58.019 | Болт | |
| 30 | ГайкаМ10.6.019 | Гайка | |
| 31 | 50-50-170 | Кольцо | |
| 32 | 50-50-42 | Упор | |
| 33 | 50-50-169 | Палец | |
| 34 | Шплинт6,3х63,019 | Шплинт | |
| 35 | 700-31-2081 | Шайба | |
| 36 | 50-50-91 | Стопор | |
| 37 | 50-50-220СП | Установка гидроцилиндров |
Содержащиеся в справочниках-каталогах запасные части и детали не предлагаются к продаже, а носят исключительно информационный характер