Вернуться на главную
Поиск
Каталоги запчастей к технике
Спецтехника
ЧТЗ
Рабочее оборудование Б10М
Гидрозамок
Каталог запасных частей к технике: ЧТЗ Рабочее оборудование Б10М. Гидрозамок
zoom-in
zoom-out
enlarge
shrink
circle-right
circle-left
file-text2
info
cart
Тип техники
Не выбрано
Легковые автомобили
Грузовые автомобили и прицепы
Автобусы
Сельхозтехника
Спецтехника
Двигатели
Мототехника
Марка
Не выбрано
Ammann
BOMAG
CARMIX
CASE IH
Changlin
ChengGong
Dimex
Doosan
DYNAPAC
Foton
HAMM
Hidromek
Hitachi
Hyundai
JCB
JLG
John Deere
Komatsu
LIEBHERR
LiuGong
Lonking (LongGong)
Luneng
MANITOU
Mitsuber
New Holland
PENGPU
RM-Terex
SANY
SDLG
SEM
Shantui
Shehwa HBXG
Soosan
TIGARBO
VOGELE
Volvo
WAY
WIRTGEN
XCMG
XGMA
Xiamen
YTO
Yuchai
Zoomlion
Автокран
АЗСМ
Алтайлесмаш
Амкодор
АОМЗ
Атек
АТЗ
Балканкар Рекорд
БелАЗ
Беловеж
Борекс
Брянский Арсенал
Булат
ВЭКС
ГАЗ
Геомаш
Гидромаш
Донекс
Дормаш
Дормашина
Дорэлектромаш
ДЭЗ
ЕлАЗ
ЗЗГТ
Ижнефтемаш
Канаш-электрокар
КЗКТ
ККЗ
Клевер
Клинцовский автокрановый завод
КМЗ
КМЗ 1 Мая
Ковровец
Коммаш
Кранэкс
КЭЗ
КЭМЗ
ЛЗА
МАЗ
МЗИК
МЗКМ
МЗКТ
Михневский РМЗ
МоАЗ
Мозырский МЗ
МТЗ
ОЗП
Онежец
ПАО "ТЗА"
ППС Детва
Промтрактор
ПТЗ
Раскат
СпецАгрегат
ТВЭКС
ТТМ
УВЗ
Угличмаш
УЗТМ
ХТЗ
ЧЗКМ
ЧСДМ
ЧТЗ
ЭКСКО
ЭКСМАШ
ЮрМаш
Модель
Не выбрано
Бульдозер Б11 (2010)
Бульдозер Б12 (2010)
Бульдозер Б14 (2010)
ДЭТ-250М2 (2000)
Кран ТР-20, ТР-12 (2006)
Рабочее оборудование Б10М (2006)
Т-10.02 (1995)
Т-10М (2012)
Т-130 (1990)
Т-170
Т-170М-01
Схема
>
Не выбрано
Оборудование бульдозерное 10Д
Отвал
Раскос
Оборудование бульдозерное Е, E1, B
Оборудование бульдозерное 10Е, 10Е1, 10В
Раскос
Отвал
Подкос
Оборудование бульдозерное 10К
Оборудование бульдозерное 10К
Отвал
Оборудование бульдозерное 10Д3
Оборудование бульдозерное 10В4
Оборудование бульдозерное 10В4
Отвал
Гидросистема бульдозерного оборудования 10Е, 10Е1, 10В, 10В4, 10К
Установка гидроцилиндров (Для бульдозерного оборудования 10Е, 10Е1, 10В, 10К, 10В4, 10Д, 10Д3)
Гидроцилиндр
Гидрораскос
Гидрозамок
Гидроцилиндр
Оборудование рыхлительное 10Р, 10Н
Зуб
Установка гидроцилиндров и трубопроводов
Гидроцилиндр
Оборудование рыхлительное 10 Н2
Зуб
Установка гидроцилиндров и трубопроводов
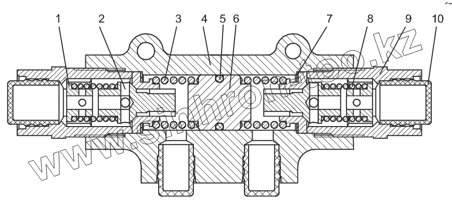
50-50-195CП
1
2
3
4
5
6
7
8
9
10
Позиция на иллюстрации
Заводской номер детали
Название детали
50-50-195CП
50-50-195CП
Гидрозамок
1
50-50-279
Втулка
2
50-50-197СП
Клапан
3
700-38-2914
Пружина
4
50-50-210
Корпус
5
700-40-3543
Прокладка
6
50-50-247
Поршень
7
261164
Кольцо
8
700-38-2851
Пружина
9
50-50-281
Переходник
10
700-42-2232
Пробка
Содержащиеся в справочниках-каталогах запасные части и детали не предлагаются к продаже, а носят исключительно информационный характер
Дополнительная информация
×
Название:
Номер:
Примечание: