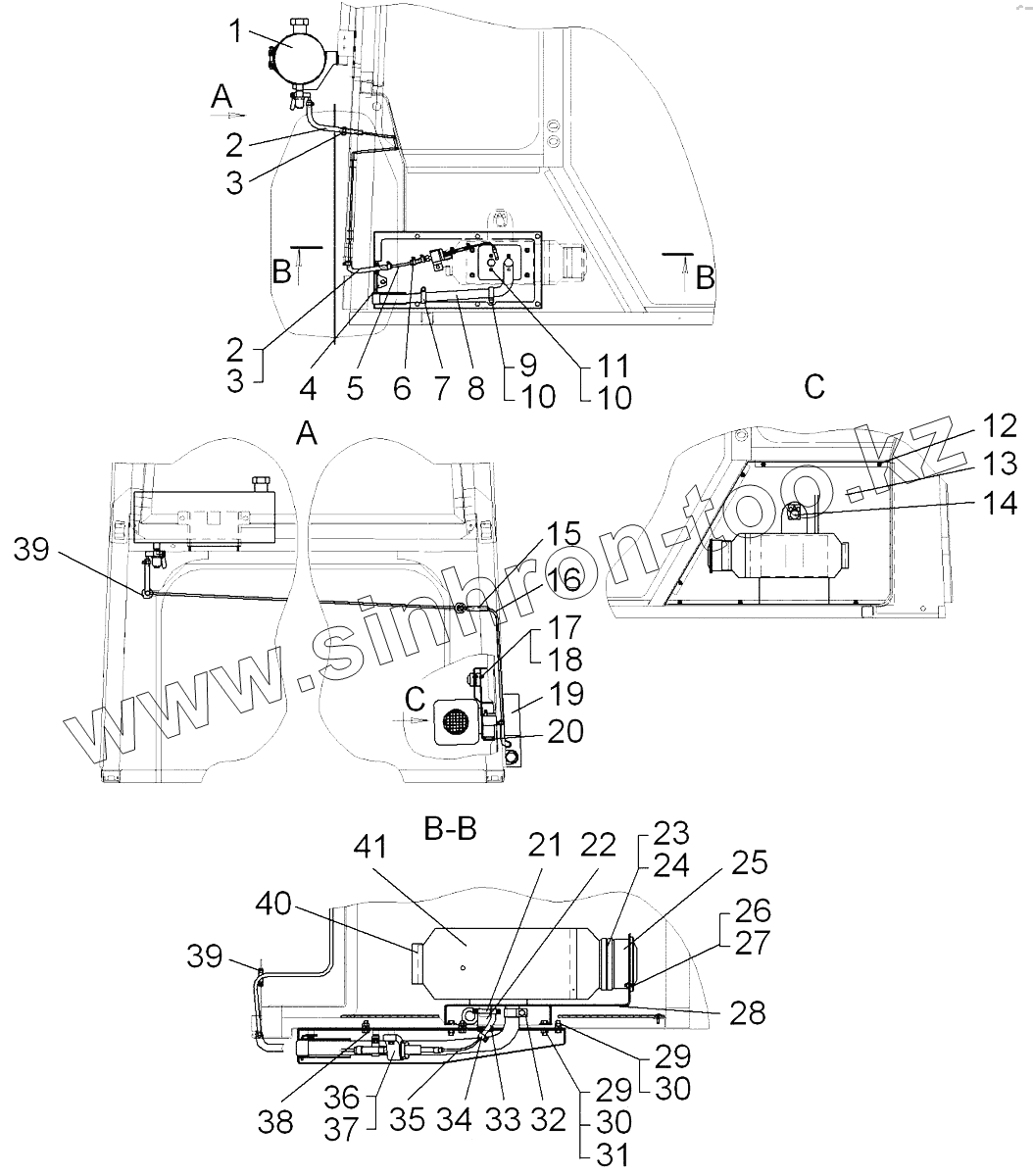
Каталог запасных частей к технике: ЧТЗ Кран ТР-20, ТР-12. Установка автономного отопителя "Airtronic"
700-07-28CП
1
2
2
3
3
4
5
6
7
8
9
10
10
11
12
13
14
15
16
17
18
19
20
21
22
23
24
25
26
27
28
29
29
30
30
31
32
33
34
35
36
37
38
39
39
40
41
| Позиция на иллюстрации | Заводской номер детали | Название детали | |
|---|---|---|---|
| 700-07-28CП | 700-07-28CП | Установка автономного отопителя AIRTRONIC | |
| 1 | 700-07-18СП | Установка топливного бачка | |
| 2 | 700-07-532 | Трубка | |
| 3 | Хомут | Хомут | |
| 4 | 700-07-341СП | Кронштейн | |
| 5 | Трубка | Топливная трубка | |
| 6 | Gemi11 | Хомут | |
| 7 | RS1-28 | Хомут | |
| 8 | Трубка36061550 | Газоотводящяя трубка с наконечником | |
| 9 | БолтМ6-6gх14.88.35.019 | Болт М6-6gх14.88.35.019 | |
| 10 | Шайба6Т.65Г.019 | Шайба 6Т.65Г.019 | |
| 11 | ГайкаМ6-7Н.6.019 | Гайка | |
| 12 | 700-35-2191 | Винт самонарезающий самосверлящий 4,2х19 | |
| 13 | 700-07-533 | Облицовка | |
| 14 | 221000320700 | Мини-регулятор | |
| 15 | 700-07-532-01 | Трубка | |
| 16 | 700-07-531 | Трубка | |
| 17 | ВинтВ.М3-6gх16.58.016 | Винт В.М3-6gх16.58.016 | |
| 18 | ГайкаМ3-6Н.6.016 | Гайка | |
| 19 | 700-07-340СП | Кожух | |
| 20 | 700-40-9032 | Пробка | |
| 21 | Шлангdвн.=25 мм | Воздухозаборный шланг | |
| 22 | 20-32/12W2 | Хомут червячный | |
| 23 | Рукав | Гибкий рукав d.75 | |
| 24 | SGT70-90/9 | Хомут червячный | |
| 25 | Ф90201609800900 | Диффузор Ф90 20 1609 80 09 00 | |
| 26 | ВинтВ.М4-6gх12.58.016 | Винт В.М4-6gх12.58.016 | |
| 27 | ГайкаМ4-7Н.6.016 | Гайка М4-7Н.6.016 | |
| 28 | 700-07-339СП | Подставка | |
| 29 | ГайкаМ8-7Н.6.019 | Гайка | |
| 30 | Шайба8Т.65Г.019 | Шайба 8Т.65Г.019 | |
| 31 | 31386 | Шайба | |
| 32 | Хомут | Хомут | |
| 33 | Шланг | Топливный шланг | |
| 34 | Gemi9 | Хомут Gemi 9 | |
| 35 | Трубка | Топливная трубка | |
| 36 | 22451801 | Дозировочный насос | |
| 37 | EROM5DE221000500400 | Хомут | |
| 38 | Шланг | Топливный шланг | |
| 39 | 41879 | Кольцо | |
| 40 | ф75251552050100 | Решетка | |
| 41 | 252114050000 | Отопитель «AIRTRONIC Д4» |
Содержащиеся в справочниках-каталогах запасные части и детали не предлагаются к продаже, а носят исключительно информационный характер