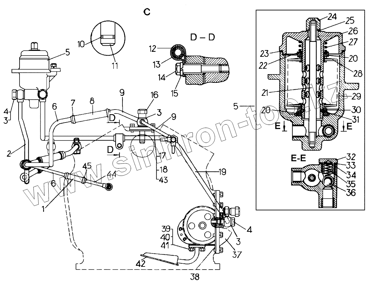
Каталог запасных частей к технике: ЧТЗ Кран ТР-20, ТР-12. Система смазки трансмиссии - продолжение
48-60-2СП
1
2
3
3
3
4
4
5
5
6
6
7
7
8
9
9
10
11
12
13
14
15
16
17
18
19
20
20
21
22
23
24
25
26
26
27
28
29
30
31
32
33
34
35
36
37
38
39
40
41
42
43
44
45
| Позиция на иллюстрации | Заводской номер детали | Название детали | |
|---|---|---|---|
| 48-60-2СП | 48-60-2СП | Система смазки трансмиссии | |
| 1 | 700-40-3481 | Рукав | |
| 2 | 48-60-104СП | Труба | |
| 3 | 40910 | Кольцо | |
| 4 | 700-41-3306 | Болт полый | |
| 5 | 50-60-214СП | Фильтр | |
| 6 | 48-60-103СП | Труба | |
| 7 | 700-41-2228СП | Хомут | |
| 7 | 20-32/12W2 | Хомут червячный | |
| 8 | 700-46-2185-01 | Рукав | |
| 9 | 50-60-204СП | Труба | |
| 10 | 014-018-25-2-5 | Кольцо 014-018-25-2-5 | |
| 11 | 50-60-218 | Фланец | |
| 12 | 700-41-3022 | Хомут | |
| 13 | 42212 | Муфта | |
| 14 | БолтМ16х75.58.019 | Болт М16х75.58.019 | |
| 15 | Шайба16.ОТ.65Г.09 | Шайба 16.ОТ.65Г.09 | |
| 16 | 700-41-3017 | Гайка | |
| 17 | БолтМ10-6gх25.58.019 | Болт | |
| 18 | Шайба10.ОТ.65Г.09 | Шайба 10.ОТ.65Г.09 | |
| 19 | 50-60-203СП | Труба | |
| 20 | 46485 | Кольцо СП-60-40-7 | |
| 21 | 700-29-2086 | Шпилька | |
| 22 | 700-31-2042 | Шайба | |
| 23 | 700-40-8520 | Прокладка | |
| 24 | 16-27-5 | Гайка глухая | |
| 25 | 40911 | Кольцо | |
| 26 | 50-60-225СП | Крышка | |
| 26 | 24-60-29 | Крышка | |
| 27 | 700-38-2112 | Пружина | |
| 28 | 18-26-161СП | Элемент фильтрующий | |
| 29 | 50-60-254 | Корпус | |
| 30 | 28-60-11 | Кольни | |
| 31 | 700-42-2320 | Кольцо упорное | |
| 32 | 700-41-2853 | Штуцер | |
| 33 | 24х30МН4152-62 | Кольцо | |
| 34 | 31312 | Шайба | |
| 35 | 700-38-2298 | Пружина | |
| 36 | Б22,225-200 | Шарик Б22,225-200 | |
| 37 | 50-60-199СП | Насос | |
| 38 | 700-40-3788-1 | Прокладка | |
| 39 | 40751 | Прокладка | |
| 40 | БолтМ8-6gх20.88.35.019 | Болт | |
| 41 | Шайба8Т.65Г.09 | Шайба 8Т.65Г.09 | |
| 42 | 50-60-201СП | Маслоприемник | |
| 43 | 700-40-6769 | Прокладка | |
| 44 | 24-60-150СП | Труба | |
| 45 | 12-22/9W2 | Хомут червячный |
Содержащиеся в справочниках-каталогах запасные части и детали не предлагаются к продаже, а носят исключительно информационный характер