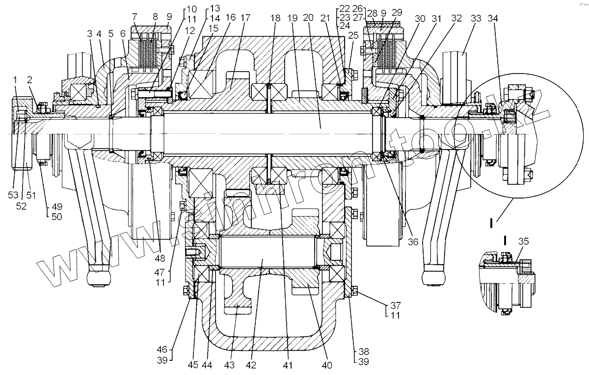
Каталог запасных частей к технике: ЧТЗ Кран ТР-20, ТР-12. Редукторы - продолжение
71-44-101СП
71-44-102СП
1
2
3
4
5
6
7
8
9
9
10
11
11
11
12
13
14
15
16
17
18
19
20
21
22
23
24
25
26
27
28
29
30
31
32
33
34
35
36
37
38
39
39
40
41
42
43
44
45
46
47
48
49
50
51
51
52
53
| Позиция на иллюстрации | Заводской номер детали | Название детали | |
|---|---|---|---|
| 71-44-101СП | 71-44-101СП | Редуктор | |
| 71-44-102СП | 71-44-102СП | Редуктор | |
| 1 | 700-30-2264 | Гайка | |
| 2 | 71-44-129 | Втулка | |
| 3 | 700-40-2940 | Кольцо У-85х80-2 | |
| 4 | 71-44-107СП | Диск нажимной | |
| 5 | 71-44-49 | Кольцо разрезное | |
| 6 | 71-44-127 | Барабан ведущий | |
| 7 | 71-44-124СП | Диск | |
| 8 | 71-44-34 | Диск | |
| 9 | 71-44-69 | Барабан | |
| 10 | БолтМ10х55.58.019 | Болт М10х55.58.019 | |
| 11 | Шайба10.ОТ.65Г.09 | Шайба 10.ОТ.65Г.09 | |
| 12 | 71-44-94 | Кольцо | |
| 13 | 71-44-21 | Крышка | |
| 14 | 700-40-8593 | Прокладка | |
| 15 | 2.1-100х125-4 | Манжета 2.1-100х125-4 | |
| 16 | 221 | Подшипник 221 | |
| 17 | 71-44-58 | Колесо зубчатое | |
| 18 | 71-44-38 | Кольцо | |
| 19 | 71-44-59 | Колесо зубчатое | |
| 20 | 71-44-326 | Вал ведущий | |
| 21 | 700-40-3052 | Кольцо | |
| 22 | 71-44-134 | Прокладка регулировочная | |
| 23 | 71-44-134-01 | Прокладка регулировочная | |
| 24 | 71-44-134-02 | Прокладка регулировочная | |
| 25 | 71-44-139 | Крышка | |
| 26 | БолтМ8-6gх25.88.35.019 | Болт | |
| 27 | Шайба8Т.65Г.09 | Шайба 8Т.65Г.09 | |
| 28 | 71-44-148СП | Лента тормозная | |
| 29 | 71-44-150 | Кольцо | |
| 30 | 110 | Подшипник 110 | |
| 31 | 71-44-92 | Корпус | |
| 32 | 2.1-50х70-1 | Манжета 2.1-50х70-1 | |
| 33 | 71-44-108СП | Диск нажимной | |
| 34 | 71-44-100 | Полумуфта | |
| 35 | 71-44-46 | Втулка | |
| 36 | 700-39-507 | Кольцо В50 | |
| 37 | БолтМ10-6gх25.58.019 | Болт | |
| 38 | 71-44-23 | Крышка | |
| 39 | 700-40-8594 | Прокладка | |
| 40 | 71-44-8 | Колесо зубчатое | |
| 41 | 120А | Подшипник 120 А | |
| 42 | 71-44-13 | Вал | |
| 43 | 71-44-7 | Колесо зубчатое | |
| 44 | 71-44-35 | Втулка | |
| 45 | 308А | Подшипник 308 А | |
| 46 | 71-44-109СП | Крышка | |
| 47 | БолтМ10-6gх30.58 | Болт М10-6gх30.58 | |
| 48 | 700-40-3123 | Кольцо | |
| 49 | 28447 | Болт | |
| 50 | КО1,6 | Проволока КО 1,6 | |
| 51 | 71-44-130 | Полумуфта | |
| 51 | 71-44-130-01 | Полумуфта | |
| 52 | 62-14-59 | Пластина | |
| 53 | ВинтВ.М8х16.14Н | Винт В.М8х16.14Н |
Содержащиеся в справочниках-каталогах запасные части и детали не предлагаются к продаже, а носят исключительно информационный характер